Добавить в корзинуПозвонить
Найти в Дзене
OVERCLOCKERS.RU

BMW Theater Screen позволит избавиться от укачивания при поездках

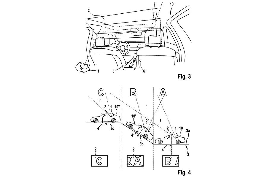
Автопроизводитель BMW подал патентную заявку, целью которой является борьба с укачиванием, в первую очередь у пассажиров на задних сиденьях. Заявка была обнаружена в Европейском патентном ведомстве. Речь идёт о дисплее на крыше автомобиля, вроде дисплея в последней серии автомобилей BMW 7. С укачиванием автопроизводители борются не первый год. Volkswagen для этого пыталась использовать подвижные сиденья и светодиодные полосы. Jaguar много лет занималась исследованиями, стараясь помочь мозгу бороться с укачиванием. Если вы не страдаете от этой проблемы, она может показаться вам малозначимой. Однако, по мере распространения беспилотных автомобилей укачивание может начать встречаться ещё чаще. BMW старается подготовиться к этому заранее. Простейшим решением может стать панорамная стеклянная крыша наряду с оконными проемами. Они должны передавать в мозг пассажира эффект движения. Наличие дисплея и других конструкций на крыше уменьшает пользу от использования стекла. BMW хочет сделать потол

Автопроизводитель BMW подал патентную заявку, целью которой является борьба с укачиванием, в первую очередь у пассажиров на задних сиденьях. Заявка была обнаружена в Европейском патентном ведомстве. Речь идёт о дисплее на крыше автомобиля, вроде дисплея в последней серии автомобилей BMW 7.

С укачиванием автопроизводители борются не первый год. Volkswagen для этого пыталась использовать подвижные сиденья и светодиодные полосы. Jaguar много лет занималась исследованиями, стараясь помочь мозгу бороться с укачиванием.

Если вы не страдаете от этой проблемы, она может показаться вам малозначимой. Однако, по мере распространения беспилотных автомобилей укачивание может начать встречаться ещё чаще. BMW старается подготовиться к этому заранее.

-2

Простейшим решением может стать панорамная стеклянная крыша наряду с оконными проемами. Они должны передавать в мозг пассажира эффект движения. Наличие дисплея и других конструкций на крыше уменьшает пользу от использования стекла. BMW хочет сделать потолок прозрачным, а для этого дисплей должен отображать определённое изображение или же оно может проецироваться на крышу.

В любом случае потребуется отслеживать взгляд пассажира, чтобы изображение было правильным. Наличие одного дисплея позволит обслужить одного пассажира на заднем сидении. Если пассажиров будет несколько, на помощь могут прийти технологии виртуальной и дополненной реальности.

-3

Для работы такой сложной системы потребуется несколько сенсоров. Дисплей на потолке должен компенсировать наклон автомобиля относительно неба, скорость и направление движения относительно неподвижных небесных тел вроде солнца, луны и звёзд, а также других движущихся по небу объектов вроде птиц.

Камеры могут снимать автомобиль снаружи и проецировать изображение на дисплей на потолке. Могут использоваться данные GPS, погоды и астрономическая информация для обеспечения точности проецируемого отображения в любую погоду и при любом освещении.

Акселерометр и гироскоп будут ускорять изображение вместе с ускорением автомобиля. Это должно дать ощущение, что пассажир сидит в автомобиле под открытым небом. Будет ли этот патент реализован на практике, пока неизвестно.