Найти в Дзене
Меандр Радиолюбитель

Простой УНЧ на транзисторах Начинающим, выпуск №2.1 (часть вторая)

Привет друг, как и обещал, продолжаем строить простой усилитель, для использования его в будущих приёмниках и звуковых автоматах которые мы будем строить позже.
Я собрал этот усилитель буквально за час, если ты делал его на печатной плате, то наверняка и у тебя на сборку ушло времени столько же.
Будем считать, что плата у тебя уже забита деталями, детали исправны и ошибок в монтаже тоже нет.
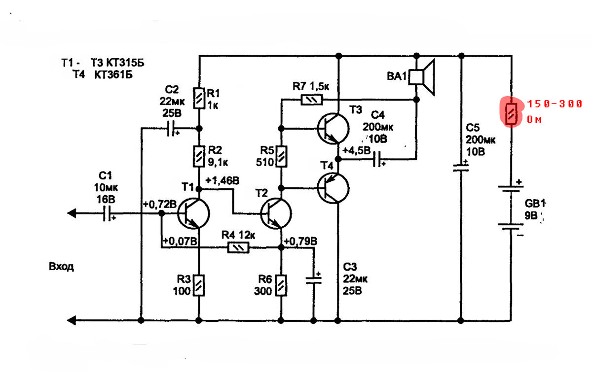
Для первого включения прибора, лучше использовать блок питания с функцией ограничения тока, или если такового нет, питать усилитель от батарейки крона с включенным в разрыв одного из проводов питания, резистора на 150-300Ом. Как это сделать показано на рисунке 1. Так же, в разрыв питающего провода, включи мультиметр в режиме измерения тока. Если ток потребляемый схемой не превышает 15-30 мА. то можно попробовать подключить динамик и подать на вход сигнал звуковой частоты. Источником может служить плеер, смартфон или компьютер. Учти, что чувствительность усилителя весьма высока и если уровень гром

Привет друг, как и обещал, продолжаем строить простой усилитель, для использования его в будущих приёмниках и звуковых автоматах которые мы будем строить позже.
Я собрал этот усилитель буквально за час, если ты делал его на печатной плате, то наверняка и у тебя на сборку ушло времени столько же.
Будем считать, что плата у тебя уже забита деталями, детали исправны и ошибок в монтаже тоже нет.
Для первого включения прибора, лучше использовать блок питания с функцией ограничения тока, или если такового нет, питать усилитель от батарейки крона с включенным в разрыв одного из проводов питания, резистора на 150-300Ом. Как это сделать показано на рисунке 1.

Рисунок 1.
Рисунок 1.

Так же, в разрыв питающего провода, включи мультиметр в режиме измерения тока. Если ток потребляемый схемой не превышает 15-30 мА. то можно попробовать подключить динамик и подать на вход сигнал звуковой частоты. Источником может служить плеер, смартфон или компьютер. Учти, что чувствительность усилителя весьма высока и если уровень громкости в источнике сигнала установлен выше 20-30% в динамике ты услышишь сильно искаженный и прилично громкий звук.
По этому перед подачей сигнала, убавь уровень громкости в самом источнике до 10%, а еще лучше подать сигнал через потенциометр, переменный резистор с сопротивлением от 1кОм, до 50кОм. Как это сделать показано на рис. 2.

-2

Усилитель заработал и теперь пришло время его настроить.
Подбирая сопротивление резистора R5, нужно добиться максимально чистого звучания в динамике на малой громкости и при этом не допустить перегрузку выходного каскада током покоя.
Ток покоя измеряй ранее подключенным мультиметром, а качество звучания определяй на слух.

Ток покоя 21мА
Ток покоя 21мА

Что бы 100 раз не запаивать разные резисторы на место R5, вместо него установи переменный резистор как показано на фото 1. и вращением его ручки, выставь приемлемый ток покоя - не более 30мА при приемлемом качестве звучания.

-4

Когда закончишь настройку, отпаяй переменный резистор, измерь его сопротивление и установи на место R5 максимально близкий по сопротивлению постоянный резистор.

Данный усилитель с чувствительным широкополосным динамиком обеспечивает довольно хорошую громкость. Выходная мощность усилителя чуть более 0,1Вт, чего более чем достаточно для проведения экспериментов и прослушивания радиопередач в составе самодельных радиоприёмников.
Качество звучания этого усилителя можно немного улучшить заменой R5 на кремниевый диод и введением дополнительного резистор, тем самым обеспечив усилителю ОООС (общую отрицательную обратную связь) которая положительно сказывается на качестве звучания и стабильности усилителя в целом!
После описанных модернизаций схема выглядит как показано на рис. 3.

Рисунок 3.
Рисунок 3.

В этом варианте усилитель вообще не требует настройки, однако чувствительность его слегка уменьшается, это неизбежность и с этим придется смириться. Новая печатная плата, для модернизированного усилителя лежит ТУТ и её можно скачать кликнув по голубому тексту.
В видеоролике ниже, можно послушать как звучит модернизированный усилитель.

Надеюсь у тебя всё получилось!
Если возникнут какие-то вопросы, задавай их в комментариях под этой публикацией, постараюсь ответить!
До скорых встреч дружок!