Найти в Дзене
Кошелек или жизнь

Volkswagen снова изобретает рулевое колесо

Volkswagen подал заявку в патентное бюро Германии на новую конструкцию рулевого колеса. Автопроизводитель хочет избавиться от рычагов переключения фар, поворотников и дворников. Привычные элементы управления конструкторы собираются заменить сенсорными или обычными кнопками на руле. По их мнению, это повысит безопасность, так как руки водителя всегда будут оставаться на руле. Такая система может быть организована по принципу меню в компьютерных программах. На левой стороне руля могут располагаться главные пиктограммы или кнопки самих приборов, которые водитель хочет включить или выключить. На правой стороне — кнопки действий с этими приборами: включить противотуманки, сменить режим освещения, настроить яркость свечения и так далее. С такой же идеей в прошлом году уже выступал Ford. Подпишитесь на канал 👆 Больше, чем на сайте!

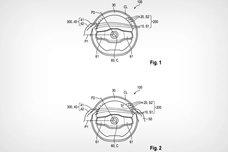
Volkswagen подал заявку в патентное бюро Германии на новую конструкцию рулевого колеса. Автопроизводитель хочет избавиться от рычагов переключения фар, поворотников и дворников.

Привычные элементы управления конструкторы собираются заменить сенсорными или обычными кнопками на руле. По их мнению, это повысит безопасность, так как руки водителя всегда будут оставаться на руле.

-2

Такая система может быть организована по принципу меню в компьютерных программах. На левой стороне руля могут располагаться главные пиктограммы или кнопки самих приборов, которые водитель хочет включить или выключить. На правой стороне — кнопки действий с этими приборами: включить противотуманки, сменить режим освещения, настроить яркость свечения и так далее.

С такой же идеей в прошлом году уже выступал Ford.

Подпишитесь на канал 👆 Больше, чем на сайте!

Авто
5,66 млн интересуются