Найти в Дзене
Quto

KTM начал работу над полуавтоматической трансмиссией для мотоциклов

По предварительным данным, главной особенностью трансмиссии от «оранжевой» компании станет возможность переключения передач как в полностью автоматическом, так и в полностью ручном режиме. Ожидается, что коробкой передач будут оснащаться мотоциклы семейства 1290 после смены поколения. В Сети появились патентные изображения конструкции. Судя по наброскам, трансмиссия будет сочетаться с V-образниками KTM LC8, которыми оснащаются 1290 Super Adventure, 1290 Super Adventure R, 1290 Super Duke R и 1290 Super Duke GT. На схеме можно увидеть отдельный блок управления коробкой передач, ручное и центробежное сцепление, а также стояночный тормоз, который имеет двойное назначение: он не только предотвращает откат байка на уклоне, но также является дополнительной защитой от угонщиков. В конструкции используется L-образный рычаг, который физически блокирует ведомые шестерни на месте, а деактивировать систему можно только после запуска двигателя. Во время езды электроника самостоятельно переключает п

По предварительным данным, главной особенностью трансмиссии от «оранжевой» компании станет возможность переключения передач как в полностью автоматическом, так и в полностью ручном режиме. Ожидается, что коробкой передач будут оснащаться мотоциклы семейства 1290 после смены поколения.

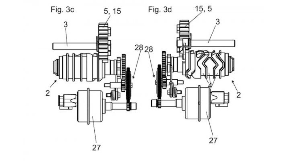
В Сети появились патентные изображения конструкции. Судя по наброскам, трансмиссия будет сочетаться с V-образниками KTM LC8, которыми оснащаются 1290 Super Adventure, 1290 Super Adventure R, 1290 Super Duke R и 1290 Super Duke GT.

На схеме можно увидеть отдельный блок управления коробкой передач, ручное и центробежное сцепление, а также стояночный тормоз, который имеет двойное назначение: он не только предотвращает откат байка на уклоне, но также является дополнительной защитой от угонщиков. В конструкции используется L-образный рычаг, который физически блокирует ведомые шестерни на месте, а деактивировать систему можно только после запуска двигателя.

   Visordown
Visordown

Во время езды электроника самостоятельно переключает передачи, для чего используется отдельный блок управления и центробежное сцепление, позволяющее трогаться с места и останавливаться, не выжимая сцепление на руле.

К слову, в документах не указано, будет осуществляться ручное переключение — при помощи традиционного рычага под левой ногой или при помощи кнопок на руле, как это реализовано на мототехнике Honda.

Ранее австрийская компания KTM, более всего известная своими мотоциклами, работает над «гражданской» версией представленного в 2018 году спорткара X-Bow, в названии которого появилась приставка GT-XR. Это значит, что на автомобиле можно будет ездить по дорогам общего пользования, тогда как изначально модель задумывалась исключительно как трековый болид.