Найти в Дзене

Инновационное решение: клещевая подача для производства длинномерных изделий

В современном промышленном производстве эффективность и экономичность играют ключевую роль в конкурентоспособности предприятий. Особенно это касается производства длинномерных изделий постоянного сечения, где технологический процесс часто требует специализированного оборудования для непрерывной подачи материала. Группа российских инженеров из Нижегородского государственного технического университета им. Р.Е. Алексеева под руководством Кошелева Олега Сергеевича разработала инновационное решение — клещевую подачу для непрерывного материала, которая значительно упрощает и удешевляет производственный процесс. Традиционно для перемещения длинномерных изделий в производстве используются тянущие устройства с гидравлическим или пневматическим приводом. Как отмечается в описании патента, такие системы имеют существенные недостатки: Альтернативой могли бы служить гусеничные тянущие устройства, применяемые в производстве полимерных изделий, однако они ограничены в применении и не подходят для пр
Оглавление

Революция в производственном процессе

В современном промышленном производстве эффективность и экономичность играют ключевую роль в конкурентоспособности предприятий. Особенно это касается производства длинномерных изделий постоянного сечения, где технологический процесс часто требует специализированного оборудования для непрерывной подачи материала.

Группа российских инженеров из Нижегородского государственного технического университета им. Р.Е. Алексеева под руководством Кошелева Олега Сергеевича разработала инновационное решение — клещевую подачу для непрерывного материала, которая значительно упрощает и удешевляет производственный процесс.

Проблемы существующих технологий

Традиционно для перемещения длинномерных изделий в производстве используются тянущие устройства с гидравлическим или пневматическим приводом. Как отмечается в описании патента, такие системы имеют существенные недостатки:

  • Требуют наличия дополнительного оборудования (гидро- или пневмостанций)
  • Нуждаются в протяженных трубопроводах
  • Занимают значительные производственные площади
  • Имеют сложные условия эксплуатации
  • Увеличивают себестоимость производимой продукции

Альтернативой могли бы служить гусеничные тянущие устройства, применяемые в производстве полимерных изделий, однако они ограничены в применении и не подходят для профилей неотрубной формы.

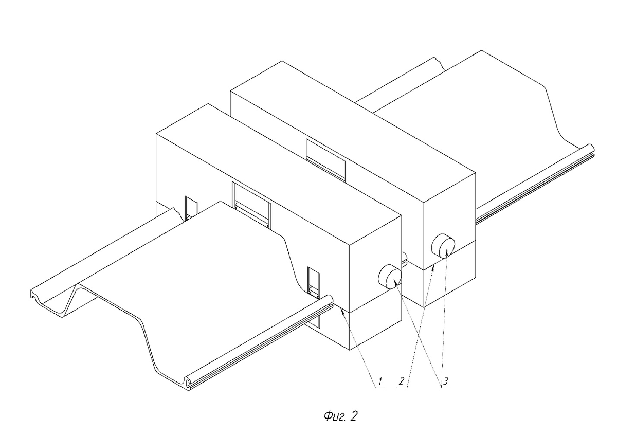
Принцип работы клещевой подачи

Разработанная инженерами НГТУ полезная модель представляет собой механическое устройство, которое полностью исключает необходимость в пневматических и гидравлических системах. Рассмотрим принцип её работы более подробно.

Механизм клещевой подачи состоит из следующих основных элементов:

  1. Составные блоки (боксы) — два блока, которые содержат основные рабочие элементы
  2. Приводные ползуны — расположены с двух сторон блоков и передвигаются в наклонных пазах
  3. Планки (каретки) — совершают вертикальные возвратно-поступательные движения
  4. Захватный механизм — находится внутри боксов и обеспечивает фиксацию материала

Внутри боксов расположен клещевой механизм, состоящий из вставок с роликами, которые контактируют с наклонными поверхностями. Ролики установлены в боковых стенках захватного механизма и находятся в постоянном контакте с наклонными поверхностями благодаря пружинам.

Работа механизма организована следующим образом:

  1. При движении приводного ползуна вниз (с помощью кривошипно-ползунного механизма) второй бокс начинает двигаться вправо
  2. Благодаря силам трения между материалом и рабочими элементами происходит заклинивание, что обеспечивает захват материала
  3. В это же время первый бокс перемещается влево и расклинивается
  4. При возвратном движении элементы срабатывают противоположным образом

Такая система обеспечивает непрерывное перемещение длинномерного изделия без необходимости использования гидравлики или пневматики.

Преимущества новой технологии

Разработанная клещевая подача обладает рядом существенных преимуществ перед традиционными решениями:

  1. Компактность — отсутствие необходимости в дополнительных гидро- и пневмостанциях экономит производственные площади
  2. Мобильность — устройство можно установить в любом месте технологического процесса без каких-либо трудностей
  3. Простота конструкции — механический принцип работы упрощает обслуживание и эксплуатацию
  4. Экономичность — снижение стоимости изготовления как самого оборудования, так и производимых изделий
  5. Универсальность — возможность применения для различных типов длинномерных изделий постоянного сечения

Перспективы применения

Клещевая подача, разработанная коллективом авторов из НГТУ им. Р.Е. Алексеева, представляет значительный интерес для различных отраслей промышленности:

  • Металлургия (производство профилей)
  • Строительные материалы (изготовление длинномерных элементов)
  • Полимерная промышленность (экструзия пластиковых профилей)
  • Кабельное производство

Внедрение данной технологии в производство позволит предприятиям повысить эффективность, снизить затраты и улучшить качество выпускаемой продукции.

-2

Заключение

Разработка нижегородских ученых демонстрирует, как инженерная мысль может найти простое и эффективное решение сложной технической задачи. Клещевая подача для непрерывного материала — это яркий пример инновации, которая не усложняет, а наоборот, упрощает существующие технологии, делая их более доступными и экономичными.

Переход от гидравлических и пневматических систем к механическим решениям в данном случае не только не снижает функциональность оборудования, но и обеспечивает дополнительные преимущества в виде мобильности и компактности. Это говорит о том, что иногда технический прогресс заключается не в усложнении, а в поиске более рациональных и простых решений существующих задач.

Патент на полезную модель, полученный авторами из НГТУ им. Р.Е. Алексеева, подтверждает новизну и оригинальность предложенного технического решения, которое имеет значительный потенциал для широкого внедрения в промышленности.

-3
-4
-5

#инновации #производство #инженерноедело #промышленность #технологии #машиностроение #клещеваяподача #НГТУ #российскиеразработки #импортозамещение #патент #промышленноеоборудование #металлургия #экструзия #оптимизацияпроизводства