Найти в Дзене

Основные характеристики шиберной задвижки как вида ТПА

При выборе типа запорной арматуры для производства часто возникает вопрос: какой тип номенклатуры лучше всего подобрать для своего производства. У каждого вида ТПА есть свои преимущества перед другими. Задвижка шиберная, например, отличается более простым управлением и обслуживанием. В новой статье из цикла публикаций «Арматурный ликбез» будут рассмотрены характеристики, области применения и конструкция задвижек шиберных. Задвижка шиберная – тип запорной арматуры, запирающий элемент которого выполнен в виде металлической пластины – шибера. Механизм работы задвижки таков: шибер перпендикулярно опускается и перекрывает рабочий поток. Герметичность обеспечивают уплотнительные сёдла, которые прижимаются к шиберу посредством пружин или от усилия давления рабочей среды. Задвижки для нефти, нефтепродуктов и для вязких жидкостей (пульпы), отличаются по конструкции. Уплотнения в задвижках для нефти похожи на сёдла шаровых кранов – они плотно прижимаются к шиберу, имеющему значительную толщину и
Оглавление

При выборе типа запорной арматуры для производства часто возникает вопрос: какой тип номенклатуры лучше всего подобрать для своего производства. У каждого вида ТПА есть свои преимущества перед другими. Задвижка шиберная, например, отличается более простым управлением и обслуживанием. В новой статье из цикла публикаций «Арматурный ликбез» будут рассмотрены характеристики, области применения и конструкция задвижек шиберных.

Механизм работы задвижек шиберных

Задвижка шиберная – тип запорной арматуры, запирающий элемент которого выполнен в виде металлической пластины – шибера. Механизм работы задвижки таков: шибер перпендикулярно опускается и перекрывает рабочий поток. Герметичность обеспечивают уплотнительные сёдла, которые прижимаются к шиберу посредством пружин или от усилия давления рабочей среды.

Задвижки для нефти, нефтепродуктов и для вязких жидкостей (пульпы), отличаются по конструкции. Уплотнения в задвижках для нефти похожи на сёдла шаровых кранов – они плотно прижимаются к шиберу, имеющему значительную толщину и способному без деформации противостоять высокому давлению. Шибер в задвижках для вязких рабочих сред (например, для трубопроводов на целлюлозно-бумажном производстве) имеет относительно небольшую толщину и заостренный край, сконструирован так, чтобы «перерезать» рабочий поток, измельчая мешающие частицы. Такие задвижки называют шиберно-ножевыми.

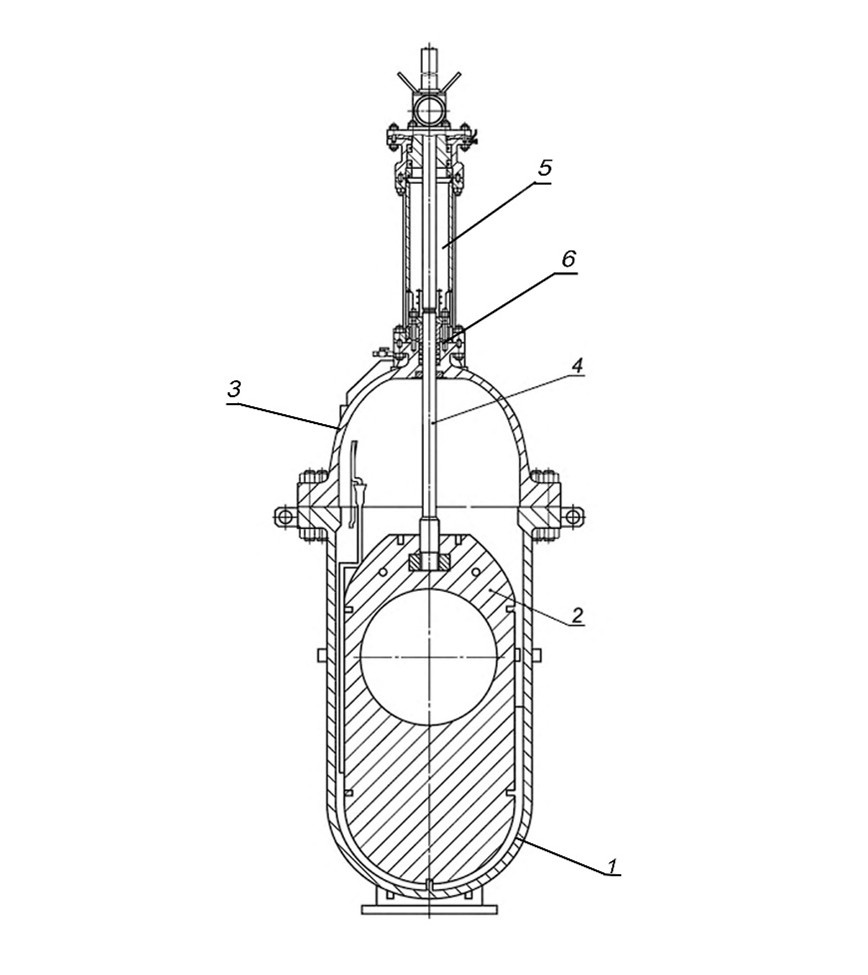
Схематичное изображение задвижки
Схематичное изображение задвижки

1 - Корпус.

2 - Шибер. Для его создания используют коррозионно-стойкие сплавы. Конструкция с полным отверстием обеспечивает полное открытие и закрытие, минимальные гидравлические потери. Уплотняется седлами, расположенными на приварной катушке по форме отверстия.

3 – Крышка.

4 – Шпиндель. В зависимости от привода бывает выдвижной и невыдвижной. Совершает вращательно-поступательные движения, тем самым изменяя положение щибера. Уплотняется сальником и обратным седлом (под цифрой 6).

5 – Стойка.

Стоит также отметить, что для шиберных задвижек в отличие от шаровых кранов, не обязателен привод с большим крутящим моментом, так как шиберу требуются меньшие усилий для перестановки.

К основным классификационным признакам шиберных задвижек относятся:

  • Вид установки: надземный и подземный;
  • Тип присоединения к трубопроводу: фланцевое, под приварку, комбинированное;
  • По способу изготовления: литые (имеет полностью литой корпус с днищем и крышку), литосварные (корпус и крышка литые, днище приварено к корпусу), штампосварные (основные детали выполнены из листового проката с применением сварки), листовые, литоштампосварные (к литой крестовине корпуса привариваются штампованное днище и крышка) ;
  • По типу управления: с ручным приводом, с электрическим приводом. с пневмоприводом, с электрогидроприводом, с гидроприводом;
  • По типу уплотнения шпинделя: сальниковое стандартное и комбинированное;
  • По типу уплотнения в затворе по материалам: с эластичным уплотнением, с уплотнение «металл по металлу», с комбинированным уплотнением.

Материалы и область применения

Корпусные детали изготавливаются из низкоуглеродистых и низколегированных сталей. При расчёте толщины корпуса необходимо включать прибавку для компенсации коррозии. Прокладки разъёмных соединений изготавливаются из маслобензоморозостойких эластомеров. В корпусе и деталях задвижки запрещается применять асбест.

Номенклатура, эксплуатирующаяся в средах, содержащих сероводород и диоксид углерода изготавливается из коррозионностойких материалов. Задвижки, изготовленные из сталей, при эксплуатации в агрессивных средах, должны иметь износостойкие и коррозионностойкие наплавки. Задвижки для подземной установки защищают от грунтовой коррозии полимерным покрытием. Герметизирующие поверхности не должны иметь покрытия.

В соответствии с СТО ИНТИ S.20.2 номенклатуру применяют со следующими типами рабочих сред:

  • Среда с токсичными веществами, конкретно сероводород, диоксид углерода, водородосодержащий газ, газовый конденсат, этиленгликоль, триэтиленгликоль и метанол. При использовании задвижки шиберной в этом типе среды давление должно быть от 0,08 до 2,5 Мпа, температура от -70 до 300 °С;
  • Среда со взрывопожароопасными веществами, конкретно горючие газы (природный газ, метан, этан, пропан, бутан и др.), легковоспламеняющиеся жидкости (бензин, керосин, дизельное топливо). В зависимости от категории ответственности, допустимое давление в этой среде варьируется от 0,003 до 6,3 МПа, температура варьируется от -70 до +350 °С;
  • Трудногорючие и негорючие вещества. В зависимости от категории ответственности, допустимое давление варьируется от 0,003 до 6,3 Мпа, температура варьируется от -40 до +450 °С.
-3

Герметичность

Как уже было сказано, герметичность затвору придают сёдла. Прижатие с небольшим усилием не даёт нужного уровня герметизации затвору, а прижатие затвора к сёдлам с большим усилием может привести к преждевременному износу оборудования, заклиниванию запора и перенапряжению деталей.

Существует различные подходы позволяющие улучшить герметизацию затвора безопасно для арматуры.

Использование плавающих сёдел. Аналогично седлам у шаровых кранов с пробкой в опорах, уплотнение за счет прижатия седел к шиберу.

Использование шибера, состоящего из двух пластин. Это подвижные пластины, которые смещаются к уплотнительной поверхности седел, за счет расклинивания под действием усилия от штока.

Использование седел полностью из эластичного материала. Применяется там где относительно невелики давления рабочей среды, например в шиберно-ножевых задвижках.

Задвижки шиберные в каталоге «РНГС», изготовляемые на заводе Boteli Technology, имеют комбинированную систему уплотнений. Седло имеет мягкую вставку из эластичного материала и кольцо рядом с основным уплотнением. Мягкая вставка обеспечивает нулевые утечки, а кольцо позволяет продлить срок службы основного уплотнения.