Найти в Дзене
Старый радио любитель

Каскодные усилители.

После того, как я опубликовал статью о стабильном УВЧ/ПЧ и провел ее натурные испытания, я решил развить эту тему: ведь схема этого усилителя представляла собой каскодное включение транзисторов. И каскодные схемы очень широко используются.

Немного истории. Каскодное включение, правда не транзисторов, а электронных ламп, придумали, как и этот термин, два американских инженера Фредериком Винтоном Хантом и Роджером Уэйном в 1939 году. Целью было попробовать заменить пентод с высоким коэффициентом усиления, которые тогда были довольно редки, двумя дешевыми триодами.

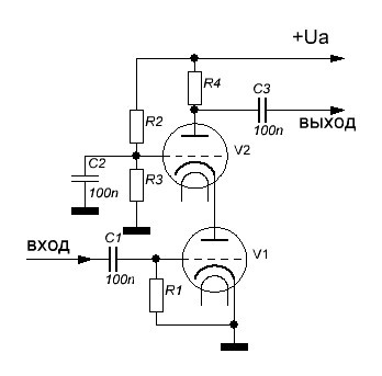
Схема с каскодным включением триодов выглядит так:

Рис. 1
Рис. 1

Нижняя лампа включена по схеме с общим катодом, а верхняя - по схеме с общей (по переменному току) сеткой. На сетку верхней лампы подается смещение от делителя R2, R3. Это напряжение смещения фиксировано, а это значит, что напряжение на катоде V2 будет практически постоянным. При этом постоянном напряжении на аноде будет работать V1. Это дает возможность получить от него бОльшее усиление, чем от каскада с резистивной нагрузкой.

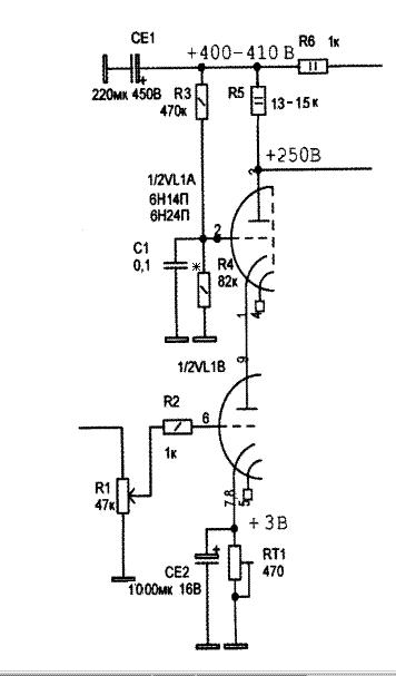
Но еще одной важной причиной использования каскодов на триодах является то, что шумы триода гораздо меньше, чем у пентода. Поэтому такие каскады используются в предварительных УНЧ и УВЧ. Часто в этих схемах используют не отдельные лампы, а двойные триоды, в том числе и специально разработанные для этих схем - 6Н14П и 6Н24П.

Рис. 2. С сайта https://умзч.рф
Рис. 2. С сайта https://умзч.рф

Но в каскодных ламповых усилителя используются не только триоды, но и пентоды, часто включаемые как триоды. Следует отметить, что у верхней лампы каскода, включенной по схеме с общей сеткой выходное сопротивление велико, таким должно быть и входное сопротивление следующего каскада. Но в ламповых схемах это условие соблюсти не трудно.

Теперь об определении каскода, которое есть в Википедии да и в других источниках: "Каско́дный усили́тель — это электронный усилитель, содержащий два активных трёхэлектродных элемента (триода). Первый триод для малого сигнала включен по схеме с общим эмиттером (общим истоком — для полевых транзисторов, катодом — для электровакуумных триодов). Второй триод — по схеме с общей базой (общим затвором и общей сеткой соответственно)."

В этом варианте определения не указано, должны ли эти триоды соединяться непосредственно или могут быть разделены по постоянному току.

В англоязычной Википедии определение тоже не конкретное: "Каскад cascode - это двухкаскадный усилитель, состоящий из каскада с общим эмиттером, питающего каскад с общей базой при использовании транзисторов с биполярным переходом (BJT) или, альтернативно, каскада с общим истоком, питающего каскад с общим затвором при использовании полевых транзисторов (FET)." Вопрос остается: питающего постоянным током или переменным?"

А вот в предисловии к книге А.П. Сапожникова и Е.К. Сонина "Каскодные усилители" (МРБ №561) все сказано однозначно: "В отличие от обычного усилительного каскада, образованного электронной лампой и несколькими пассивными схемными элементами, каскодный усилитель представляет собой усилительную схему, в которой две непосредственно соединенные лампы включены так, что через них протекает одна и та же переменная составляющая анодных токов".

Я не нашел упоминая о первом использовании каскодного включения транзисторов. Но во всех Википедиях каскодным включением транзисторов называют схему ОЭ=ОБ. Но "Нейро" кроме этого называет еще ОК-ОБ и ОБ=ОБ.

Одним из основных причин использования каскодного включения транзисторов является наличие эффекта Миллера. Он заключается в том, что входное сопротивление транзисторов, включенных по схеме с ОЭ зависит от частоты. Эта зависимость определяется в основном емкостью перехода коллектор-база, которая образует паразитную цепь отрицательной обратной связи, снижающей усиление. Все усугубляется тем, что когда эта емкость включена в цепь обратной связи, это приводит к тому, что входная емкость каскада увеличивается на коэффициент усиления каскада. Так, например, при емкости перехода К-Б 1,0 пФ в цепи с коэффициентом усиления по напряжению 50 приводит к эффективной входной емкости 51 пФ (Свх = Скб(Кус+1), где Кус - коэффициент усиления каскада).

А так как емкостное сопротивление конденсатора уменьшается с увеличением частоты, то в результате этого и происходит завал АЧХ на высоких частотах.

Рис. 3.
Рис. 3.

VT1 включен по схеме с ОЭ, а VT2 - по схеме с ОБ (база заземлена по переменному току). С помощью резисторов R1 и R3 устанавливаются режимы транзисторов по постоянному току так, чтобы они работали в активном режиме (напряжение на коллекторе транзистора должно быть хотя бы на 1,5 - 2 В выше, чем на эмиттере).

Входное сопротивление каскада с общей базой мало по сравнению с выходным сопротивлением каскада с ОЭ. Т.е. нагрузочное сопротивление VT1 очень мало и, в следствии этого, коэффициент усиления этого каскада близок к 1. А это значит, что его входная емкость Свх = Скб(Кус+1) будет мало отличаться от Скб и практически устраняется влияние эффекта Миллера и расширяется (по сравнению с каскадом ОЭ) полоса пропускания, а также повышается устойчивость усилителя при работе на высоких частотах за счет за счет уменьшения проходной емкости.

Посмотрим, как это выглядит в модели. В начале каскад с ОЭ.

Рис. 4.
Рис. 4.

На частоте 1 МГц усиление больше 20 дБ (более 10 раз), а на частоте 10 МГц - чуть более 6 дБ (более 2-х раз). Теперь посмотрим каскод на таких же транзисторах.

Рис. 5.
Рис. 5.

Здесь все гораздо интересней. Усиление в полосе 1 - 10 МГц практически равномерное и превышает 40 дБ (более 100 раз). А на частоте 30 МГц завал составляет всего лишь около 4 дБ. И это без всякой частотной коррекции!

Продолжение следует :))

Всем успехов и здоровья!