Добавить в корзинуПозвонить
Найти в Дзене
Консьержъ

Косой фильтр раскроет всю правду об обслуживании вашего дома

Каждый председатель, управляющий, мастер и сантехник не раз сталкивался с жалобами на недостаточное давление воды, приходящей в смеситель в квартире. Обычно решение вопроса начинается с чистки фильтра в самом смесителе и чистке косого фильтра на отводе со стояка. И – о чудо – в абсолютном большинстве случаев вопрос недостаточного давления оказывается решен. Такой же косой фильтр обычно стоит на вводе в многоквартирный дом воды и теплоносителя, также его устанавливают перед насосами для защиты дорогостоящего оборудования от загрязнений. Распространенная конструкция фильтра – магнит, расположенный внутри сетчатого цилиндра из нержавеющей стали. Для обслуживания откручивают крышку косой части, вынимают магнит и сетку, чистят и промывают. При этом, как правило, необходимо закрывать подачу ресурса, поэтому оптимально «горячие» фильтры обслуживать во время сезонного отключения. Можно также использовать отключение по причине аварии на внешних сетях, правда, после возобновления подачи ресурса

Каждый председатель, управляющий, мастер и сантехник не раз сталкивался с жалобами на недостаточное давление воды, приходящей в смеситель в квартире. Обычно решение вопроса начинается с чистки фильтра в самом смесителе и чистке косого фильтра на отводе со стояка. И – о чудо – в абсолютном большинстве случаев вопрос недостаточного давления оказывается решен.

Такой же косой фильтр обычно стоит на вводе в многоквартирный дом воды и теплоносителя, также его устанавливают перед насосами для защиты дорогостоящего оборудования от загрязнений.

На этой фотографии косой фильтр с синим корпусом
На этой фотографии косой фильтр с синим корпусом

Распространенная конструкция фильтра – магнит, расположенный внутри сетчатого цилиндра из нержавеющей стали.

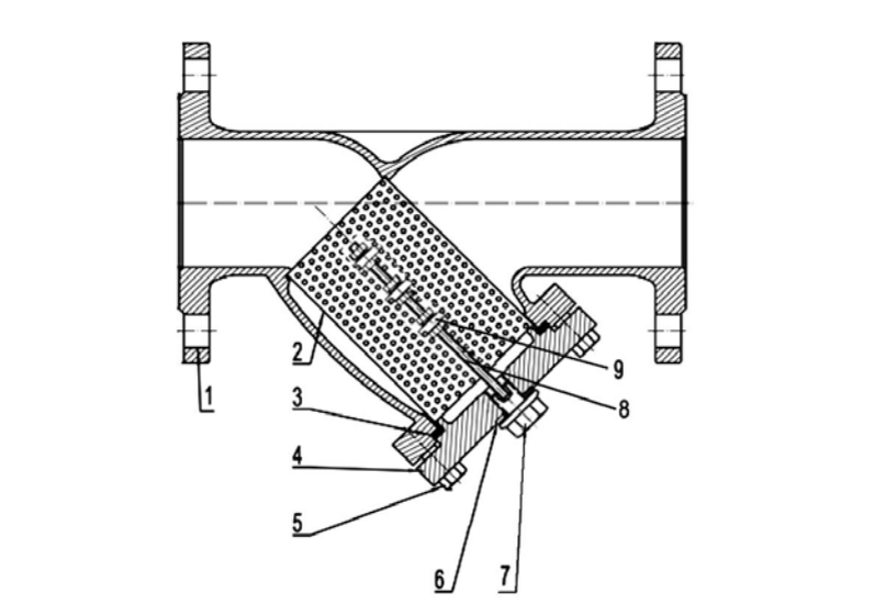
Пример устройства косого фильтра из паспорта на Сетчатый наклонный фильтр Tecofi
Пример устройства косого фильтра из паспорта на Сетчатый наклонный фильтр Tecofi

Для обслуживания откручивают крышку косой части, вынимают магнит и сетку, чистят и промывают. При этом, как правило, необходимо закрывать подачу ресурса, поэтому оптимально «горячие» фильтры обслуживать во время сезонного отключения. Можно также использовать отключение по причине аварии на внешних сетях, правда, после возобновления подачи ресурса теплоноситель будет максимально насыщен примесями, поэтому фильтр достаточно быстро снова соберет грязь.

Сеточка, вынутая из косого фильтра для обслуживания
Сеточка, вынутая из косого фильтра для обслуживания

Существует еще «метод жилкомсервиса»: откручивается сливная пробка, на фильтр подается ресурс и заливает подвал, но фильтр остается грязным. Смывается лишь малая часть накопленной грязи.

Но вернемся к нормальному обслуживанию. Сетчатый цилиндр, если он поврежден или чрезмерно загрязнен, можно поменять на новый, правда, такой товар вы не найдете в любом магазине сантехники. Даже в одинаковых по внешним габаритам фильтрах размер необходимой сеточки может оказаться различным: плюс-минус 1 см, и сеточка уже не подойдет. Поэтому если вы задумали поменять сеточку, то не сможете купить ее заранее, не зная размеров, пока не отключите подачу, не открутите крышку фильтра и не извлечете сеточку. Однако в принципе задача замены сеточки решаемая, в Санкт-Петербурге есть организации, которые сделают такой фильтрующий элемент под заказ по вашим размерам, и это будет дешевле, чем поменять весь фильтр. Средняя стоимость косого фильтра в сборе – 5-15 тыс. руб., сеточки – около 1-2 тыс. руб.

Отработавшая свое сеточка косого фильтра
Отработавшая свое сеточка косого фильтра

Другое дело, что если сеточка не подлежит прочистке, то, скорее всего, корпус фильтра изнутри тоже загрязнен очень сильно, и образовались такие наросты грязи, которые не так-то просто будет очистить.

Если фильтр много лет не обслуживать, очистить его корпус изнутри будет сложно
Если фильтр много лет не обслуживать, очистить его корпус изнутри будет сложно

Еще одной задачей при обслуживании фильтра является сохранность прокладки, уплотняющей соединение крышки косой части с основным корпусом. Для многих обслуживающих, кстати, именно трудность нахождения новой прокладки становится мотивом не связываться с чисткой фильтра. Тут то же самое: пока не открутишь, не узнаешь, какая нужна, а когда открутишь, и дом без воды, то пойди найди нужную, магазины сантехники прокладки такого диаметра в наличии не держат. Профессиональные обслуживающие организации закупают у производителей резиново-технических изделий про запас разные диаметры и толщины прокладок, другие покупают вырубной станок и оперативно изготавливают прокладки по лекалу прямо у себя в мастерской. Кто-то приноровился вырезать прокладки ручным инструментом, а кому-то удается закрутить фильтр обратно на старую прокладку без протечек – для этого можно использовать сантехническую пасту «Юнипак».

Прочистку фильтра рекомендуется выполнять раз в год, однако во многих домах это не делается годами. Некоторые в принципе не знают, что надо чистить, предпочитают менять в сборе условно «раз в десятилетие», если с фильтром что-то не так, руководствуясь, например, большим перепадом давления до и после фильтра. Однако перепад давления – лишь косвенный показатель. Да, если фильтр работает, улавливая твердые частицы, он действительно со временем должен снижать давление после себя, и это прямое показание для его прочистки или замены. Но если давление до и после фильтра неизменно на протяжении нескольких лет, то вполне вероятно, что фильтр просто не работает, например, сеточка установлена некорректно, смялась и не улавливает ничего. Поэтому желательно хотя бы раз в год заглядывать под крышку фильтра и обслуживать его.

Чистит ли фильтры ваша обслуживающая организация? Каким способом?

Если статья понравилась, подпишитесь на канал.
Обещаем делиться полезным!

Текст и фото: Татьяна Гоцуленко, опубликовано в № 12 (2024)