Добавить в корзинуПозвонить
Найти в Дзене
AUTONEWS

Porsche разрабатывает революционный шеститактный двигатель

Компания Porsche представила новаторский двигатель внутреннего сгорания, который может изменить подход к автомобильной инженерии. Этот шеститактный двигатель, запатентованный в 2024 году, представляет собой концепцию, которая значительно отличается от традиционных двигателей, работающих по двух- или четырехтактным циклам. В этой статье мы подробно рассмотрим, что собой представляет новый двигатель Porsche, какие преимущества он может предложить и какие вызовы предстоит преодолеть. Шеститактный двигатель Porsche представляет собой внутренний двигатель с дополнительными фазами сжатия и расширения, которые позволяют более эффективно использовать топливо. Традиционные двигатели внутреннего сгорания работают по двухтактному или четырехтактному циклу, где за один оборот коленчатого вала происходит один или два рабочих хода. В шеститактном двигателе Porsche используется система, включающая дополнительные фазы сжатия и расширения, что позволяет за три оборота коленчатого вала производить два р
Оглавление

Компания Porsche представила новаторский двигатель внутреннего сгорания, который может изменить подход к автомобильной инженерии. Этот шеститактный двигатель, запатентованный в 2024 году, представляет собой концепцию, которая значительно отличается от традиционных двигателей, работающих по двух- или четырехтактным циклам. В этой статье мы подробно рассмотрим, что собой представляет новый двигатель Porsche, какие преимущества он может предложить и какие вызовы предстоит преодолеть.

Что такое шеститактный двигатель?

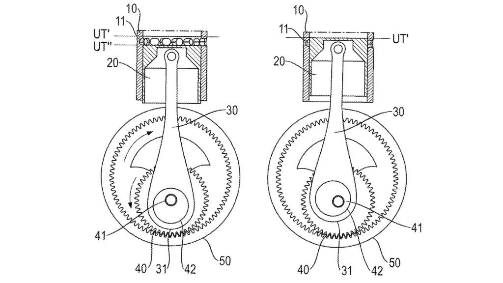
Шеститактный двигатель Porsche представляет собой внутренний двигатель с дополнительными фазами сжатия и расширения, которые позволяют более эффективно использовать топливо. Традиционные двигатели внутреннего сгорания работают по двухтактному или четырехтактному циклу, где за один оборот коленчатого вала происходит один или два рабочих хода. В шеститактном двигателе Porsche используется система, включающая дополнительные фазы сжатия и расширения, что позволяет за три оборота коленчатого вала производить два рабочих хода.

-2

Как работает шеститактный двигатель Porsche?

Основная инновация заключается в добавлении двух дополнительных фаз в традиционный цикл. Это достигается с помощью эксцентриковых шестерен, которые регулируют ход поршня и обеспечивают дополнительные этапы сжатия и сгорания. Таким образом, двигатель проходит следующие этапы: впуск, сжатие, сгорание, выпуск, вторичное сжатие и финальная фаза сгорания.

Эта многофазная система позволяет улучшить эффективность сгорания топлива, что, в свою очередь, может привести к увеличению мощности и снижению расхода топлива. В результате, шеститактный двигатель может стать более эффективным и экономичным, чем его четырехтактный аналог.

Преимущества шеститактного двигателя

  1. Повышенная эффективность
    Дополнительные фазы сгорания позволяют более эффективно использовать топливо и воздух, что приводит к повышению общей эффективности двигателя.
  2. Увеличение мощности
    За счет дополнительных рабочих фаз двигатель способен производить больше энергии, что повышает его мощность без необходимости увеличения объема двигателя.
  3. Снижение расхода топлива
    Эффективное сгорание и оптимизация воздушного потока могут привести к экономии топлива по сравнению с традиционными двигателями.
  4. Экологичность
    Хотя технология еще находится на стадии разработки, улучшенная эффективность может помочь снизить выбросы вредных веществ, что является важным шагом к соблюдению экологических стандартов.

Вызовы и сложности

Несмотря на все преимущества, внедрение шеститактного двигателя сопряжено с рядом сложностей. Одной из главных проблем является механическая сложность самой системы. Дополнительные компоненты, такие как эксцентриковые шестерни и дополнительные подвижные части, требуют высокой точности и могут повышать трение, что, в свою очередь, влияет на долговечность и надежность двигателя.

Кроме того, соблюдение строгих экологических стандартов и требования к выбросам также могут стать проблемой для новых технологий, если не удастся добиться оптимальных показателей.

-3

Будущее шеститактных двигателей

Хотя пока неясно, будет ли эта технология внедрена в массовое производство, Porsche уже демонстрирует свою приверженность инновациям в области автомобильных двигателей. Разработка шеститактного двигателя является важным шагом в сторону повышения эффективности и мощности двигателей внутреннего сгорания. Если Porsche удастся преодолеть технические сложности и успешно интегрировать новую технологию, это может стать важным этапом в развитии автомобильной промышленности.

Для производителей автомобилей, сталкивающихся с необходимостью соблюдения экологических норм и улучшения характеристик своих моделей, шеститактный двигатель может стать новым этапом в эволюции двигателей внутреннего сгорания.

Заключение

Шеститактный двигатель Porsche — это значительный шаг вперед в области автомобильных технологий. Хотя эта концепция еще находится на стадии разработки, она обещает сделать двигатели более мощными, эффективными и экологичными. В будущем, если эта технология будет успешно реализована, она может изменить представление о том, как должны работать двигатели внутреннего сгорания, открывая новые возможности для улучшения производительности и уменьшения воздействия на окружающую среду.