Найти в Дзене

Уплотнение смеси встряхиванием и многоплунжерной головкой

Уплотнение песчано-глинистых форм встряхиванием – очень распространённый метод получения форм. Мы остановимся на том, как конструктив машины может нивелировать некоторые особенности метода. Уплотнение смеси при встряхивании происходит за счёт энергии удара стола с опокой об основание машины. Частота ударов составляет 120 … 220 в минуту. Для уплотнения одной формы достаточно порядка 40 ударов. Подъём стола осуществляется на высоту от 25 до 80 см. Встряхивание в чистом виде - процесс шумный и оказывает очень большую нагрузку на фундамент машины, поэтому существует масса конструктивных решений, которые смягчают такое воздействие. Например, использование пружин или подача сжатого воздуха в пространство между поршнем и основанием машины, а также в некоторых машинах предусмотрен встречный поршень, который в воздухе соударяясь с основным цилиндром гасит часть энергии от его падения. Преимущества метода При этом встряхивание обладает рядом преимуществ, которые способствуют его такому большому
Оглавление

Уплотнение песчано-глинистых форм встряхиванием – очень распространённый метод получения форм. Мы остановимся на том, как конструктив машины может нивелировать некоторые особенности метода.

Уплотнение смеси при встряхивании происходит за счёт энергии удара стола с опокой об основание машины. Частота ударов составляет 120 … 220 в минуту. Для уплотнения одной формы достаточно порядка 40 ударов. Подъём стола осуществляется на высоту от 25 до 80 см.

Встряхивание в чистом виде - процесс шумный и оказывает очень большую нагрузку на фундамент машины, поэтому существует масса конструктивных решений, которые смягчают такое воздействие.

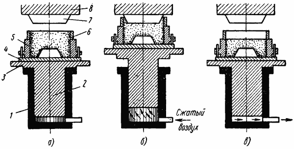
Рис. 1. Процесс уплотнения смеси на прессовой формовочной машине с верхним прессованием: а — насыпка смеси в опоку, б — уплотнение смеси, в — возврат стола в исходное положение; 1 — цилиндр, 2 — поршень, 3 — стол, 4 — модельная плита, 5 — опока, 6 — наполнительная рамка, 7 — прессовая колодка, 8 — неподвижная траверса
Рис. 1. Процесс уплотнения смеси на прессовой формовочной машине с верхним прессованием: а — насыпка смеси в опоку, б — уплотнение смеси, в — возврат стола в исходное положение; 1 — цилиндр, 2 — поршень, 3 — стол, 4 — модельная плита, 5 — опока, 6 — наполнительная рамка, 7 — прессовая колодка, 8 — неподвижная траверса

Например, использование пружин или подача сжатого воздуха в пространство между поршнем и основанием машины, а также в некоторых машинах предусмотрен встречный поршень, который в воздухе соударяясь с основным цилиндром гасит часть энергии от его падения.

Преимущества метода

При этом встряхивание обладает рядом преимуществ, которые способствуют его такому большому распространению и стойкому использованию несмотря на то, что существуют уже и более современные способы уплотнения.

-2

Прежде всего, этот способ очень надёжный. Технология отработана годами и привычна многим заводчанам.

Метод ещё и распространён из-за своей универсальности. Этим способом можно получать отливки разного веса, сложности как в мелко-, так и крупносерийном производстве.

Кроме того, встряхивание нетребовательно к прочности формовочных смесей – для получения форм на механизированном конвейере достаточно, чтобы прочность при сжатии во влажном состоянии смеси составляла всего 0,6 … 0,8 кг/см2.

Недостатки метода

Однако за годы работ с этим методом он обнаружил и множество недостатков, а именно:

1. Высокие энергозатраты – необходимо поднимать на высоту, обрушивать и резко тормозить многотонные конструкции со столом, модельными плитами, опоками и смесью

2. Большая нагрузка на фундаменты машин и зданий цехов

3. Низкая производительность

4. Сложность в контроле за плотностью набивки форм

5. Трудность встраивания метода в автоматический процесс

6. Тяжёлые условия труда рабочих – сильный шум и запылённость

Также необходимо учитывать, что при встряхивании очень хорошо уплотняются нижние слои формы – лад. А контрлад остаётся недоуплотнённым.

Эти недостатки отчасти решаются применением ручного трамбования верхних слоёв форм, но это не приемлемо в автоматизированном производстве.

Подпрессовка верхних слоёв формы

Проблему недоуплотнённости верхних слоёв формы решили использованием дополнительного верхнего прессования формы.

- оно может осуществляться просто плоской прессовой плитой.

- либо использованием многоплунжерной прессовой головки.

При использовании плоской прессовой плиты обнаруживается существенный недостаток – прессование контрлада происходит неравномерно.

Так как высота от контрлада до поверхности моделей разная, а прессовая плита «давит» с одинаковым усилием, получается, что в местах небольшой высоты столба смеси происходит переуплотнение смеси, а на участках большой высоты – недоуплотнение.

Бороться с этим помогает применение многоплунжерной головки вместо жёсткой прессовой колодки.

Принцип использования многоплунжерной головки

Многоплунжерная головка – представляет собой большое число прессующих башмаков или цилиндров, собранных в единый механизм. Их может быть использовано до сотни штук!

Рис. 2. Схема прессования многоплунжерной головкой: 
1 — модельная плита, 2 — опока, 3 — наполнительная рамка, 4 — прессующая головка, 5 — поршни, 6 — прессующие башмаки
Рис. 2. Схема прессования многоплунжерной головкой: 1 — модельная плита, 2 — опока, 3 — наполнительная рамка, 4 — прессующая головка, 5 — поршни, 6 — прессующие башмаки

Движение осуществляется за счёт гидравлического привода, и каждый башмак прессует находящийся под ним участок смеси.

Такое прессование может быть активным или пассивным.

В активной плунжерной головке масло под давлением находится в общем для, всех цилиндров пространстве и каждая головка оказывает необходимое для уплотнения давление на контрлад формы.

В случае пассивного устройства масло в рабочем пространстве цилиндров находится без давления, но с постоянным объёмом. Блок многоплунжерной головки двигается вместе с уплотняющим элементом, и башмаки сдавливают смесь в меру её податливости.

Нашей компанией уже реализовано несколько проектов с применением встряхивающих машин с многоплунжерной подпрессовкой.

Специалисты СЛТ подберут для вас оптимальный способ уплотнения песчано-глинистой смеси на вашем заводе и поставят всё необходимое оборудование.

#slt #литейное производство #цилиндр #преимущества #смесь #доставка