Добавить в корзинуПозвонить
Найти в Дзене
LADA CLUB

Внешность LADA Vesta FL больше не секрет

Обновленная Веста получила Одобрение Типа Транспортного Средства (ОТТС). Этот документ раскрывает не только внешний вид новинки, но и ее технические характеристики. Пока ОТТС на обновленную LADA Vesta доступно лишь в базе системы электронных паспортов. В открытой базе Федерального агентства по техническому регулированию и метрологии (Росстандарт) документ еще не опубликовали. Седан LADA Vesta FL В ОТТС на обновленную Весту содержатся изображения с габаритными размерами четырех версий модели: седана и универсала LADA Vesta FL, а также их кросс-версий. После рестайлинга модель станет немного длиннее и выше. Седан LADA Vesta Cross FL Основные изменения в обновленной LADA Vesta произойдут в экстерьере и интерьере. Моторная гамма останется прежней. Это 1,6-литровый 106-сильный ВАЗ 21129, 1,8-литровый 122-сильный ВАЗ 21179 и 1,6-литровый мотор Renault H4M-HR16DE с мощностью 113 л.с.. Прежними останутся и трансмиссии: механическая 5-ступенчатая КП от АВТОВАЗа, вариатор Jatco и МКПП от Renaul

Обновленная Веста получила Одобрение Типа Транспортного Средства (ОТТС). Этот документ раскрывает не только внешний вид новинки, но и ее технические характеристики.

Пока ОТТС на обновленную LADA Vesta доступно лишь в базе системы электронных паспортов. В открытой базе Федерального агентства по техническому регулированию и метрологии (Росстандарт) документ еще не опубликовали.

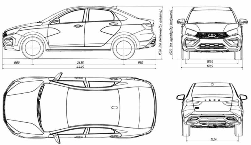
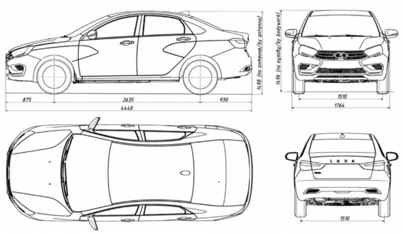
Седан LADA Vesta FL

В ОТТС на обновленную Весту содержатся изображения с габаритными размерами четырех версий модели: седана и универсала LADA Vesta FL, а также их кросс-версий. После рестайлинга модель станет немного длиннее и выше.

-2

Седан LADA Vesta Cross FL

Основные изменения в обновленной LADA Vesta произойдут в экстерьере и интерьере. Моторная гамма останется прежней. Это 1,6-литровый 106-сильный ВАЗ 21129, 1,8-литровый 122-сильный ВАЗ 21179 и 1,6-литровый мотор Renault H4M-HR16DE с мощностью 113 л.с.. Прежними останутся и трансмиссии: механическая 5-ступенчатая КП от АВТОВАЗа, вариатор Jatco и МКПП от Renault.

-3

Универсал LADA Vesta FL

-4

Универсал LADA Vesta Cross FL

Источник: Официальный Лада Клуб