Найти в Дзене

Регулировкаи теплового зазора в клапанном механизме и преднотяг насос - форсунок Scania 4 -5 серии.

Доброго времени суток, хотел бы рассказать о регулировки теплового зазора клапанов и насос - форсунок на автомобилях scania с топливной системой PDE и HPI. В своём рассказе я опираюсь на официальную литературу и личный опыт. Начнём с того что регулировка тепловых зазоров клапанного механизма производится только на холодном ДВС, хотя многие из вас и так об этом знали. Перед началом регулировки следует подготовить инструмент. Для этого нам понадобится щупы 0.45 и 0.7, ключи комбинированные на 16, 18, 7, и для регулировки насос - форсунок может понадобится шестигранник на 6 либо звёздочка т 45, еще нам нужен штангель циркуль с нутромером. Так же нам понадобится валоповоротное устройство которого может не оказаться под рукой. Тогда придётся воспользоваться мощный отвёрткой или небольшой монтажкой, но это не очень удобно и можно повредить детали ДВС. Но исходя из личного опыта маховик можно проворачивать и так. После вскрытия клапанных крышек нам нужно определить диаметр тарелки

Доброго времени суток, хотел бы рассказать о регулировки теплового зазора клапанов и насос - форсунок на автомобилях scania с топливной системой PDE и HPI. В своём рассказе я опираюсь на официальную литературу и личный опыт. Начнём с того что регулировка тепловых зазоров клапанного механизма производится только на холодном ДВС, хотя многие из вас и так об этом знали.

Перед началом регулировки следует подготовить инструмент. Для этого нам понадобится щупы 0.45 и 0.7, ключи комбинированные на 16, 18, 7, и для регулировки насос - форсунок может понадобится шестигранник на 6 либо звёздочка т 45, еще нам нужен штангель циркуль с нутромером. Так же нам понадобится валоповоротное устройство которого может не оказаться под рукой. Тогда придётся воспользоваться мощный отвёрткой или небольшой монтажкой, но это не очень удобно и можно повредить детали ДВС. Но исходя из личного опыта маховик можно проворачивать и так.

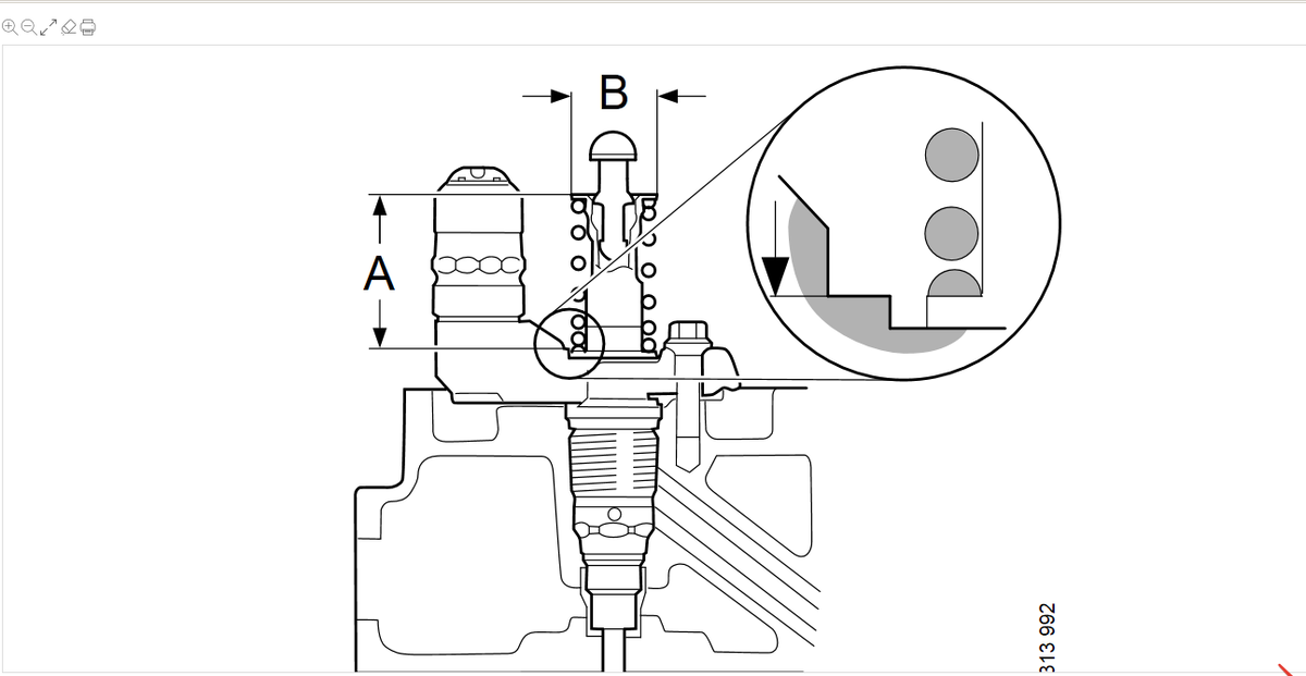
После вскрытия клапанных крышек нам нужно определить диаметр тарелки пружины насос - форсунки. Это расстояние В, для проверки преднатяга насо - форсунки требуется измерять расстояние А.

Есть два типа насос-форсунок, причем то, какой из них используется на двигателе, зависит от типа двигателя.

Регулировочный размер для насос-форсунки (холодный двигатель)

Диаметр пружины насос-форсунки: 36 мм, высота регулировки 66,9 +/- 0,1 мм

Диаметр пружины насос-форсунки: 38,8 мм, высота регулировки 69,9 +/- 0,1 мм

Далее нам нужно выставить метку на маховике,

для этого я рекомендую использовать показание в нижнем окне.

-2

Подводим одну из меток для удобства я бы порекомендовал TDC Down 1-6 цилиндр, от неё легче начинать регулировку.

Так выглядят метки на маховике.

-3

-4

-5

Нужно быть внимательным, так как много похожих меток. А ещё маховик может быть очень сильно загрязнён и метки просто не видны.

После того как метка подведена нужно определить какой цилиндр находится в перекрытии.

Переходное состояние клапанов возникает при переходе цилиндра из такта выпуска в такт впуска, т. е. когда выпускной клапан закрывается, а впускной клапан открывается.

Проще говоря на цилиндре оба коромысла клапана зажаты. То есть если у нас в перекрытии находится 1-й цилиндр регулируем клапана на 6-м, а форсунку PDE на 2-м, HPI на 3-м. Зазор во впускных клапанах должен быть равен 0,45 мм, а в выпускных – 0,70 мм.

Преднатяг насос - форсунки регулируется согласно описанию выше, выбираем диаметр пружины и выставляем нужную высота. Для регулировки форсунок топливной системы HPI в таблице показан другой столбец но смысл не меняется, только преднатяг выставляется динамометрическим ключом. Момент 6Nm 60 градусов доворот.

Проверку регулировки теплового зазора в клапанном механизме рекомендуется проводить 100 - 150 тысяч км.

До скорой встречи, надеюсь эта статья вам помогла.