Найти в Дзене
Эпонимы и Мы

МОРКОВКА КЮХЕМАНА

Одно из любимых занятий тех, кто любит путешествовать по воздуху - фотографирование всего, что они видят из окна. Хотя из окна часто видно, по большей части, лишь крыло. Но ведь и оно тоже представляет собой весьма высокотехнологичное творение коллективного человеческого гения. Вот что это за выступы на задней части крыла, кто знает? И для чего они нужны? Оказывается у них есть сой собственное имя - МОРКОВКИ КЮХЕМАНА или "тела вытеснения". Самое интересное, что в Советском союзе эти приспособления, призванные улучшить аэродинамику самолета при полетах на трансзвуковых скоростях, успешно применяли на самолётах системы Туполева задолго до того, как их начали активно внедрять на западе. Но МОРКОВКА КЮХЕМАНА звучит совсем не так, как "тело вытеснения", возможно, поэтому эпоним способствовал закреплению стереотипа, что всё лучшее к нам приходит из-за бугра. Дитрих Кюхеман (11 сентября 1911 года - 23 февраля 1976) был немецким инженером-аэродинамиком, всю жизнь изучавшим особенности высокос

Одно из любимых занятий тех, кто любит путешествовать по воздуху - фотографирование всего, что они видят из окна. Хотя из окна часто видно, по большей части, лишь крыло. Но ведь и оно тоже представляет собой весьма высокотехнологичное творение коллективного человеческого гения. Вот что это за выступы на задней части крыла, кто знает? И для чего они нужны?

Фото с сайта https://uniticket.ru/blog/kakie-mesta-luchshe-vybrat-v-samolete/
Фото с сайта https://uniticket.ru/blog/kakie-mesta-luchshe-vybrat-v-samolete/

Оказывается у них есть сой собственное имя - МОРКОВКИ КЮХЕМАНА или "тела вытеснения". Самое интересное, что в Советском союзе эти приспособления, призванные улучшить аэродинамику самолета при полетах на трансзвуковых скоростях, успешно применяли на самолётах системы Туполева задолго до того, как их начали активно внедрять на западе.

Самолёт Ту-154М, Фото с сайта https://russianplanes.net/id193278
Самолёт Ту-154М, Фото с сайта https://russianplanes.net/id193278

Но МОРКОВКА КЮХЕМАНА звучит совсем не так, как "тело вытеснения", возможно, поэтому эпоним способствовал закреплению стереотипа, что всё лучшее к нам приходит из-за бугра.

Дитрих Кюхеман (11 сентября 1911 года - 23 февраля 1976)Фото с сайта https://alchetron.com/Dietrich-Küchemann
Дитрих Кюхеман (11 сентября 1911 года - 23 февраля 1976)Фото с сайта https://alchetron.com/Dietrich-Küchemann

Дитрих Кюхеман (11 сентября 1911 года - 23 февраля 1976) был немецким инженером-аэродинамиком, всю жизнь изучавшим особенности высокоскоростного полёта.

В далёком 1938 году пошел добровольцем на военную службу, носил звание унтер-офицера с 1942 по 1945 год, хотя каких-то особых грехов за ним не числится. Всё это время продолжал исследования, в частности, в области проблем волнового сопротивления, изучал теорию стреловидного крыла, разработал форму фюзеляжа, названную позже БУТЫЛКОЙ КОКИ КЮХЕМАНА.

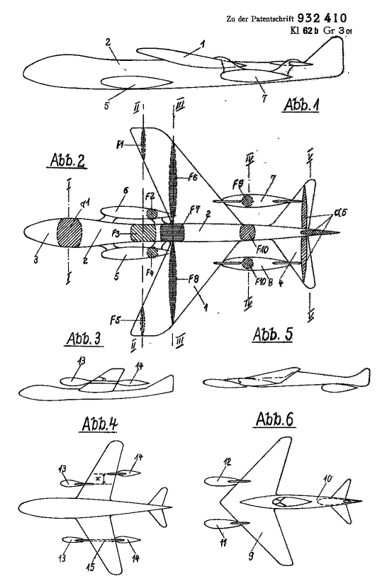
Патентный чертёж Юнкерса 1944 года. Фото с сайта https://en.wikipedia.org/wiki/Area_rule#/media/File:Patent_932410_Seite_5.gif
Патентный чертёж Юнкерса 1944 года. Фото с сайта https://en.wikipedia.org/wiki/Area_rule#/media/File:Patent_932410_Seite_5.gif

После войны Кюхеман перебрался в Англию и начал работать на британцев. В 1953 году он получил гражданство и был назначен старшим научным сотрудником, а затем и начальником всего направления аэродинамики главного авиастроительного ведомства Соединённого королевства. Конструктор внёс большой вклад в создание самолёта "Конкорд". Его книга "Аэродинамический дизайн самолетов" была опубликована через два года после его смерти и многими считается классическим текстом по современной аэродинамике.

Движение потоков воздуха на крыле обычной формы и крыле, снабжённом МОРКОВКАМИ КЮХЕМАНА. Фото с сайта https://vk.com/wall-76992071_45106
Движение потоков воздуха на крыле обычной формы и крыле, снабжённом МОРКОВКАМИ КЮХЕМАНА. Фото с сайта https://vk.com/wall-76992071_45106

А ещё он был виолончелистом-любителем, играл в симфоническом оркестре Фарнборо и даже стал там главным виолончелистом. Вот такие они, бывшие добровольцы Третьего рейха.