Добавить в корзинуПозвонить
Найти в Дзене

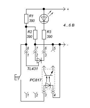
Проверка TL431 и оптронов

Попался мне в ремонт блок питания. Вместо положенных 15 вольт выдавал 33. Типовая причина - выход элементов обратной связи по напряжению, обычно это программируемый стабилитрон TL431 со своей обвязкой и оптрон PC817 или аналогичный. А вот как проверить их исправность? Обычным мультиметром это невозможно, точнее единственное, что можно определить - исправность светодиода оптрона. В режиме прозвонки полупроводников на исправном светодиоде падение напряжения примерно 1,3В. Поэтому покумекал и собрал небольшой стенд, питаемый от лабораторного блока питания. Для сборки нужна панелька для 8-ногой микросхемы (в неё и будем вставлять проверяемые TL431 или оптрон), три одинаковых резистора на 390 Ом (сопротивление не критично, можно от 300 до 510 Ом), любой светодиод и кнопка. Вставляем в панельку TL431, как показано на схеме, подключаем к лабораторному блоку питания и подаём 4,5 В. Светодиод светиться не должен. Прибавляем напряжение, и на 5 вольтах должен загореться светодиод. Загореться ска

Попался мне в ремонт блок питания. Вместо положенных 15 вольт выдавал 33. Типовая причина - выход элементов обратной связи по напряжению, обычно это программируемый стабилитрон TL431 со своей обвязкой и оптрон PC817 или аналогичный. А вот как проверить их исправность?

Обычным мультиметром это невозможно, точнее единственное, что можно определить - исправность светодиода оптрона. В режиме прозвонки полупроводников на исправном светодиоде падение напряжения примерно 1,3В. Поэтому покумекал и собрал небольшой стенд, питаемый от лабораторного блока питания.

Схема для проверки TL431 и оптронов
Схема для проверки TL431 и оптронов

Для сборки нужна панелька для 8-ногой микросхемы (в неё и будем вставлять проверяемые TL431 или оптрон), три одинаковых резистора на 390 Ом (сопротивление не критично, можно от 300 до 510 Ом), любой светодиод и кнопка. Вставляем в панельку TL431, как показано на схеме, подключаем к лабораторному блоку питания и подаём 4,5 В. Светодиод светиться не должен. Прибавляем напряжение, и на 5 вольтах должен загореться светодиод. Загореться скачком, не плавно. Понижаем напряжение - светодиод опять скачком потухнет. Так себя ведёт исправная микросхема. Если поведение отличается - TL431 неисправна.

Для проверки оптрона втыкаем его в панельку согласно схеме, светодиод светиться не должен. Жмём кнопку - светодиод должен загореться. Если не загорается, или наоборот, горит при ненажатой кнопке - оптрон неисправен.

Таким стендом очень удобно отбраковывать не только при ремонте, но и детали с разборки.