Добавить в корзинуПозвонить
Найти в Дзене
OptimaVOD

Компания Hyundai работает над новыми информационными решётками радиаторов

Спешу приветствовать Вас, Друзья и Гости основного канала о машинах, OptimaVOD. На улицах российских городов очень много можно увидеть автомобилей, которые украшены всякими надписями. Иногда это приколы, иногда это информационные надписи, например о том, что в салоне находятся дети, или рекламные, на которых описывают немного свою машину и оставляют телефон для связи. Вдруг кто в потоке решится на покупку. Сами по себе надписи тоже разные, кто-то рисует от руки смываемой краской или баллончиком, кто-то заказывает специальные наклейки в типографии, а кто-то ставит электронные табло, на которых можно запрограммировать разные изречения. И вот похоже, что в будущем, для подобных любителей расписать свой автомобиль, будет предложено отличное, а главное заводское предложение. Корейская компания Hyundai Motor Company подала заявку на новый патент, который связан с новой решёткой радиатора, снабженной, как значится в заявке, перекидной световой точкой. Это новая веха для автомобилей и их ре
Оглавление

Спешу приветствовать Вас, Друзья и Гости основного канала о машинах, OptimaVOD.

На улицах российских городов очень много можно увидеть автомобилей, которые украшены всякими надписями. Иногда это приколы, иногда это информационные надписи, например о том, что в салоне находятся дети, или рекламные, на которых описывают немного свою машину и оставляют телефон для связи. Вдруг кто в потоке решится на покупку.

Сами по себе надписи тоже разные, кто-то рисует от руки смываемой краской или баллончиком, кто-то заказывает специальные наклейки в типографии, а кто-то ставит электронные табло, на которых можно запрограммировать разные изречения.

И вот похоже, что в будущем, для подобных любителей расписать свой автомобиль, будет предложено отличное, а главное заводское предложение. Корейская компания Hyundai Motor Company подала заявку на новый патент, который связан с новой решёткой радиатора, снабженной, как значится в заявке, перекидной световой точкой.

Hyundai Go
Hyundai Go

Это новая веха для автомобилей и их решёток, которую будет начинать корейская компания. Эти решётки, как ожидается, будут установлены ​в будущих электрических моделях Hyundai.

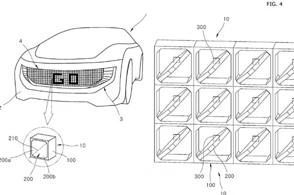
Итак, Hyundai Motor хочет получить патент на уникальную решётку радиатора, которая сама по себе является большим табло, при помощи которого будет производиться передача информации другим водителям и пешеходам. Ну и соответственно получение нового патента, связанно именно с этим.

По сообщениям корейских СМИ, в патенте говорится, что полномасштабная технология вождения, связанная с электрическими транспортными средствами, развивается благодаря развитию технологии автономного вождения.

Метод, разработанный Hyundai, представляет собой конфигурацию дисплея перевернутая точка, при которой часто используются пластины с разным цветом передней и задней части. Запатентованная система использует точечную пластину над решёткой радиатора, чтобы передавать для начала простое сообщение, например: "Этот автомобиль находится в автономном режиме вождения".

Патент
Патент

Патент включает в себя описание блока управления, который передаёт сигнал, а само отображаемое сообщение также может быть изменено в соответствии с намерениями водителя. Поэтому в российских условиях, там могут появиться совсем другие надписи.

Примечательно и то, что первый экземпляр автомобиля с подобной решёткой радиатора в корейской компании уже представили. Это полностью электрический спорткар, который получил название Hyundai Go. Сама по себе решётка радиатора этого автомобиля занимает практически всё пространство передней части и является всем, табло для высвечивания надписей, а так же и фарами головного освещения. То есть вся площадь решётки является по сути световым модулем, который выполняет несколько задач.

Неизвестно правда, всё это единый световой "организм" или же каждый световой сегмент живёт обычной жизнью. Ведь если в такую решётку прилетит камень на трассе, то думаю, замена всего модуля будет оцениваться ой как дорого. Но в любом случае, это ещё один и шагов, сделанный в светлое будущее.

А как Вам подобная решётка радиатора, имеющая возможность транслировать Ваше отношение к происходящему вокруг???

Поделитесь своими мыслями в комментариях ниже.

P.S. Если понравилась статья, то жмите лайк!!! Буду очень благодарен Вам за такую поддержку.
Р.P.S. А если Вам нравятся автомобили и новости из авто мира, то поддержите канал, подписавшись на него. Впереди будет ещё много интересного.

Желаю Всем Здоровья. Берегите себя и своих близких. Всем Счастливо, Всем Пока, Удачи!!!