Найти в Дзене
АкваХолд

Как сделать систему водоотведения после септика, чтобы она работала правильно?

Рассмотрим систему водоотведения для:
СБО (станций биологической очистки)
Септика
Оглавление

Содержание статьи:

1. Водоотведение в СБО

2. Водоотведение из септика.

2.1. Как узнать пропускную способность почвы

2.2. Как узнать уровень грунтовых вод?

2.3. Обслуживание почвенной доочистки стоков

2.4. Сравнение разных способов доочистки стоков

3. Варианты почвенной доочистки стоков.

1. Водоотведение для СБО (станций биологической очистки)

После станций биологической очистки очищенную воду можно сливать в канаву, овраг или кювет.
Если его нет, то можно выкопать самостоятельно. Конечно его размер индивидуален, но в среднем для 5 человек проживания должно хватить 0,4м*0,4м*12,0м.

Схема водоотведения для станции биологической очистки в овраг
Схема водоотведения для станции биологической очистки в овраг

2. Водоотведение из септика

Придерживайтесь двух правил:

  • До грунтовых вод (питьевых) стоки должны пройти не менее 1 метра почвы для своей доочистки!
  • Правильно рассчитывайте площадь соприкосновения стоков и почвы, чтобы они впитывались быстрее, чем стоки поступают из дома.

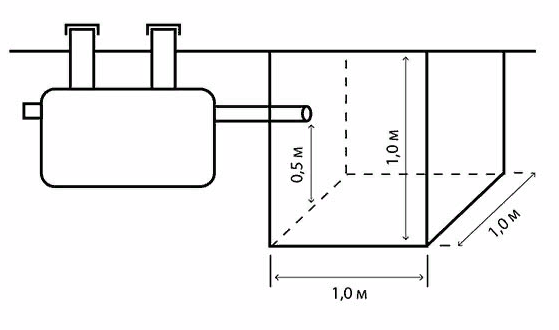
Предположим, что у нас после септика стоки стекают в приямок размерами 1,0х1,0х1,0м

Также предположим, что стенки у приямка бетонные и вода уходит в почву только через дно приямка.
Площадь соприкосновения стоков и почвы: 1м*1м = 1м²

Объем залпового сброса, который сможет принять такой приямок: 1м² * 0,5м = 0,5м³ (500л)

Приямок для стоков размерами 1х1х1 метр
Приямок для стоков размерами 1х1х1 метр

При большем количестве сливаемой воды, стоки поднимутся выше уровня нижнего края трубы и, как сообщающиеся сосуды, переполнят септик, в таком случае пользоваться канализацией станет невозможно. Стоки из первой камеры (самой грязной) могут перетечь, в том числе, и в этот приямок.

Хватит ли этого приямка для семьи из 5 человек? Пока неизвестно. Все зависит от типа грунта и его пропускной способности (водопроницаемости). Водопроницаемость выражается в показателе «метры в стуки», т.е. какую толщу почвы может пройти вода в течение 24 часов.

уровни воды в приямке
уровни воды в приямке

Ориентировочные показатели грунтов:

Коэффициенты фильтрации различных типов грунтов
Коэффициенты фильтрации различных типов грунтов

Так, если предположить, что на нашем участке глина, т.е. 0,005 м/сут, то объем воды, который впитается в данном приямке, будет: 1м²*0,005м/сут = 0,005м³/сут = 5л/сут

Если суглинок, т.е. 0,4 м/сут (максимум), то объем воды, который впитается в данном приямке, будет: 1м²*0,4м/сут = 0,4м³/сут = 400л/сут

Если принять супесь, т.е. 0,7 м/сут (максимум), то объем воды, который впитает данный приямок, будет : 1м²*0,7м/сут = 0,7м³/сут = 700л/сут

Итак, зная эти данные и то, что расход воды в сутки по нормам 200 л на человека, а в реальной жизни около 100л, можно придти кзаключению:

Допустим, что семья из 5 человек будет расходовать порядка: 5*100 = 500 л/сут

В таком случае такого приямка хватит только, когда грунт – супесь. Поглощение грунта составляет 700л/сут, это больше, чем семья сливает в него в течение суток.

Объем приямка до входа канализационной трубы - 500л. Это значит, что даже если семья из 5 человек одномоментно сольет в приямок все 500л, то работа септика не будет нарушена, т.к. весь объем воды поместится в этом приямке.

Стоит помнить!

Приямок может переполниться водой не только от слишком большого слива воды в него, но и от сезонного повышения уровня грунтовых вод!

Уровень грунтовых вод максимален весной, поэтому клиенту надо точно знать, как высоко по весне поднимаются грунтовые воды на его участке.


2.1. Как узнать пропускную способность почвы?


Лучше всего выкопать приямок и вылить туда ведро воды. Зная площадь приямка, можно рассчитать с какой скоростью вода уходит в почву, и тем самым узнать водопроницаемость почвы. Следует помнить, что в первый раз почва быстрее впитывает воду, поэтому необходимо замерять на третий-пятый раз после того, как грунт впитает предыдущую воду.

Бывает, что на участке идут разные слои грунта: то песок, то глина, то суглинок. Поэтому проверять водопроницаемость почвы лучше всего на той глубине, на которой она реально будет соприкасаться с грунтом.


2.2. Как узнать уровень грунтовых вод?


Для того чтобы узнать ориентировочный уровень грунтовых вод можно:

1) заглянуть в бетонный колодец, который находится поблизости

2) заглянуть в подвал дома (если его затапливает по весне, то уровень соответственно высокий)

3) если кто-то рядом делал скважину, то компания, бурившая скважину, должна оставить данные о составе почве и уровне грунтовых вод

4) спросить у соседей, не знают ли они на какой уровень весной поднимаются грунтовые воды.

-5

2.3. Обслуживание почвенной доочистки стоков

При правильном выборе объема септика, почвенная доочистка стоков прослужит порядка 12-15 лет. В течение этого срока стоки, поступающая на доочистку, будут постепенно закупоривать поры почвы, тем самым уменьшая ее водопроницаемость. Через 12-15 лет водопроницаемость уменьшится до такого уровня, что почва не способна будет впитывать стоки в нужном объеме, и появится риск переполнения приямка, и как следствие, выхода из строя системы канализации. Для предотвращения такого исхода необходимо периодически (раз в 12-15 лет) снимать верхний слой грунта, который уже закупорился иловыми остатками, и менять его на песок или на тот же самый грунт с другого места участка.

-6

2.4. Сравнение разных способов доочистки стоков

Сравнение способов доочистки стоков в фильтрующем колодце и инфильтраторе
Сравнение способов доочистки стоков в фильтрующем колодце и инфильтраторе

3. Варианты почвенной доочистки стоков.

3.1. Фильтрующий колодец

Фильтрующий колодец используется при низком залегании грунтовых вод. Занимает минимум места на участке. Фильтрующий колодец устраивается при расходе воды не более 5м³/сут. Колодец делается без дна, с отверстиями в стенах (необязательно). В качестве материалов для фильтрующего колодца применяют кирпич, бетонные кольца или пластиковые емкости. Ниже подводящей трубы колодец загружают гранитным щебнем крупностью 20-40мм, слоем толщиной 1м (необязательно). Гранитный щебень нужен для того, чтобы содержащиеся в стоках загрязнения оставались на поверхности этого щебня и не заиливали почву. На поверхности щебня будут образованы аэробные бактерии, т.к. они находятся под доступом воздуха, которые и будут «устранять» загрязнения в стоках.

Обозначения: 1. Трубопровод от септика; 2. Кирпичная кладка; 3. Щебень 20-40мм; 4. Люк чугунный; 5. Кольцо бетонное; 6. Крышка; 7. Труба вентиляционная

Фильтрующий колодец
Фильтрующий колодец
-9

3.2. Подземное поле фильтрации и фильтрующая траншея

Подземное поле фильтрации рекомендуется устраивать при высоком уровне грунтовых вод.

Фильтрующая траншея используется в случаях, когда грунт на участке плохо пропускает воду, или не пропускает её совсем (например, глина). В этом случае отфильтрованный сток собирается дренажной системой трубопроводов и отводится в сточную канаву или в другое выбранное место.

Фильтрующие траншеи
Фильтрующие траншеи

Обозначения: 1.Оросительный трубопровод; 2. Дренажный трубопровод; 3. Фильтрующая ткань; 4. Грунт участка; 5. Гравий; 6. Песок; 7. Мелкий гравий 5-10мм.

-11

Поле подземной фильтрации или фильтрующую траншею размещают по уклону рельефа местности. Длину одной линии оросительной и дренажной сети рекомендуется принимать не более 18м; уклон в направлении движения воды 0,01 (1см на 1 погонный метр трубопровода). Конфигурация в плане (лучевая, линейная, параллельная) зависит от общей планировки и рельефа участка, его размеров, существующего и планируемого благоустройства и озеленения. При числе линий оросительной сети более одной устраивают распределительный колодец, который обеспечивает равномерную подачу сточных вод по линиям

Параллельные траншеи делают отдельными (обычно ППФ в супесчаном грунте) или совмещают две или три линии оросительных труб в одной широкой траншее, соблюдая определенные межосевые расстояния. Одну или две дренажные трубы в широкой траншее укладывают в промежутке под оросительными трубами. Для ППФ на песчаных грунтах межосевое расстояние «А» равно 1…1,5м, на супесях – 2…2,5м. Расход воды на 1м оросительной трубы ФТ принимают равным 50…70 л/сут (при фильтрующем слое «Б» 0,8-1м); 80…100 л/сут (при фильтрующем слое «Б» 1-1,5м).

Для оросительных и дренажных труб рекомендуется использовать трубы ПНД диаметром 110 или 90мм. В трубе с одной стороны делают поперечные прорези шириной 6-8мм с шагом 10-15см. Прорези обычно выполняют широким абразивным диском на глубину 1/4…1/3 диаметра трубы. Оросительные трубы укладывают прорезями вниз, а дренажные – вверх. Между гравием и песком в фильтрующей траншее укладывают разделительный слой из мелкого гравия 5-1 или 10-20мм; фильтрующей тканью защищают загрузку траншеи от проникновения в нее частиц грунта. Пример подземного поля фильтрации (слева) и фильтрующей траншеи (справа).

Длина труб оросительной сети (L) в зависимости от расхода сточных вод

Для поля подземной фильтрации на супесях (1…3); на песчаных грунтах (4…6), при толщине фильтрующего слоя грунта 1м (1,4); 2м (2,5); 3м (3,6).
Для фильтрующей траншеи на нефильтрующих грунтах при толщине фильтрующего слоя 0,8-1м (7); 1-1,5м (8).

Зависимость длины труб оросительной сети от расхода сточных вод
Зависимость длины труб оросительной сети от расхода сточных вод

3.3. Дренажный тоннель

Еще одной разновидностью обустройства почвенной доочистки является дренажный тоннель. Он очень похож на перевернутую ванну, но имеет ребра жесткости, которые позволяют ему выдерживать нагрузки грунта.

Дреннажный тоннель
Дреннажный тоннель
-14

Хотите получить консультацию специалиста?

Заполните форму обратной связи: