Добавить в корзинуПозвонить
Найти в Дзене
ТЕПЛОВОЗЫ

Масляная система тепловоза 2ТЭ25А (2ТЭ25К)

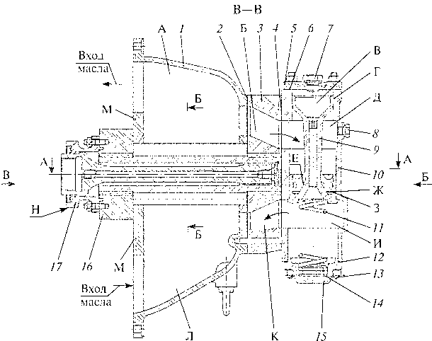
Масляная система (рис. 4.10) предназначена для подачи под избыточным давлением смазки в сопряженные детали рабочих механизмов дизеля и охлаждения ряда его узлов. Масло дизеля охлаждается водой в двух теплообменных аппаратах. Вода, охлаждающая масло в теплообменных аппаратах, сама охлаждается в секциях
В масляную систему включен полнопоточный, автоматический, самоочищающийся фильтр фирмы
Оглавление

Масляная система (рис. 4.10) предназначена для подачи под избыточным давлением смазки в сопряженные детали рабочих механизмов дизеля и охлаждения ряда его узлов. Масло дизеля охлаждается водой в двух теплообменных аппаратах. Вода, охлаждающая масло в теплообменных аппаратах, сама охлаждается в секциях

В масляную систему включен полнопоточный, автоматический, самоочищающийся фильтр фирмы Boll&Kirch 27, установленный на дизеле.

Одновременно с этим для более качественного регулирования температуры масла (особенно в зимнее время) на дизеле установлен терморегулятор 48. Необходимый температурный режим масла в диапазоне от 341 до 353 К (от 68 до 80 °С) обеспечивается полным или частичным перепуском его мимо водомасляных теплообменников. При температуре масла выше 353 К (80 °С) весь поток масла после дизеля поступает в водомасляные теплообменники 8, 22, а затем в самоочищающийся масляный фильтр и далее опять в дизель.

Таким образом, в кузове тепловоза устанавливается только маслопрокачивающий насос 42, а все остальные агрегаты масляной системы установлены непосредственно на дизеле

Маслопрокачивающий агрегат 42 с приводом от электродвигателя предназначен для заполнения системы маслом под давлением не менее 0,02 МПа (0,2 кгс/см2) перед пуском дизеля и прокачки его после остановки.

После пуска дизеля маслопрокачивающий агрегат автоматически отключается и включаются два масляных шестеренчатых насоса, приводимые во вращение непосредственно дизелем.

Первый масляный насос при работающем дизеле засасывает масло из картера и направляет его в терморегулятор, из которого оно в зависимости от температуры поступает в водомасляные теплообменники, или, минуя их, непосредственно на всасывание второго насоса. После этого масло поступает в автоматический самоочищающийся фильтр и далее в рабочие механизмы дизеля.

Рис. 4.10. Принципиальная гидравлическая схема системы смазки: 7 - вентиль отбора проб масла; 2, 26, 33, 41 - предохранительные клапаны; 3, 34 - масляные насосы; 4, 40- штуцеры под мановакуумметры; 5 - труба слива загрязненного масла и топлива с полок блока; 6, 28, 36 - штуцеры под манометры; 7 - заборник слива масла с сеткой; 8, 22- водомасляные охладители; 9, 20- вентили для слива масла с водомасляных охладителей; 10, 19- центробежные фильтры; 11, 18- отвод масла в картер дизеля после центробежных фильтров; 12- подвод масла на лоток; 13,35- редукционные клапаны; 14 - канал подвода масла к дизелю; 75- штуцеры под датчики - реле давления; 16- вентиль продувки ресивера; 17- труба продувки ресивера; 21 - труба стравливания воздуха из водомасляного охладителя; 23 - отвод масла отдатчика разрежения; 24 - отвод масла в трубопровод захлопки воздушной; 25- отвод масла обратной промывки из самоочищающегося фильтра фирмы Boll & Kirch; 27 - автоматический фильтр масла Boll & Kirch; 29 - дифманометр (встроен в фильтр); 30- подвод масла к датчику разрежения; 31 - отвод масла к топливоподкачивающему насосу; 32, 45 - клапаны невозвратные; 37- труба слива масла из поддизельной рамы и заправка в раму дизеля масла через тепловозную магистраль; 38- вентиль; 39, 44 - гибкие соединения; 42- маслопрокачивающий насос; 43 - турбокомпрессор; 46 - штуцер под датчик-реле температуры; 47- штуцер под датчик-реле давления; 48 - терморегулятор

Работа системы контролируется по показаниям приборов на соответствующих диагностических экранах дисплея машиниста.

Сбор грязного масла из ресивера дизеля производится в специальную емкость, расположенную на топливном баке со стороны передней тележки. Слив из емкости производится через кран, установленный на нижнем листе бака.

Запас масла, необходимый для циркуляции, находится в поддизельной раме. Для заправки масла в поддизельную раму и слива его, кроме горловины с правой стороны рамы дизель-генератора, имеется трубопровод, выведенный по обе стороны тепловоза с вентилями 7. Концы труб закрываются колпачками с прокладками внутри.

При повышении давления масла в масляной системе выше допустимого избыток масла перепускается предохранительными клапанами 2, 26, 33 и 41, встроенными в масляные насосы 3, 34, в маслопрокачивающий насос 42 и самоочищающийся фильтр 27.

Для контроля за работой смазочной системы предусмотрены специальные места для установки манометров 6,28,36, мановакууммет-ров 4, 40, датчик-реле температур 46, датчик-реле давления 47, 15.

Масляный насос

Масляный насос (рис. 4.11) - шестеренного типа, односекционный, нереверсивный. Шестерни - стальные косозубые.

Корпус 1 имеет полости для ведущей шестерни 29 и ведомой 30.

В корпусе отлиты полости: Л подвода масла (полость всасывания) и А отвода масла (полость нагнетания).

Торцы корпуса закрыты крышками: внутренней 16 и наружной 3.

Крышки крепятся к корпусу шпильками. Для опоры цапф ведущей шестерни в крышках 16 и 3 имеются отверстия, в которые установлены бронзовые втулки 27и 31, на внутренний диаметр которых нанесено оловянисто-свинцовистое покрытие.

Для смазки и охлаждения внутренних поверхностей втулок 27 и 31 масло подается из полости нагнетания А через систему канавок, расположенных на внутренних торцах крышек 16 и 3.

На ведущей шестерне имеются шлицы, соединяющиеся с приводным валом 28.

-2
Рис. 4.11 (начало). Масляный насос: 1 - корпус насоса; 2, 4, 6, 12- прокладки; 3 - наружная крышка; 5- фланец; 7 - пробка; 8 - пробка (для замера давления нагнетания); 9 - поршень клапана; 10 - корпус клапана; 11 - пружина клапана; 13- пломба; 14- регулировочные кольца; 75- крышка; 16- внутренняя крышка; 77 - центрирующая втулка; 18- штифт фиксирующий ось; 19, 27, 31 - втулки подшипников скольжения; 20- промежуточная втулка; 21 - неподвижная ось ведомой шестерни; 22- промежуточное кольцо; 23, 25, 32- стопорные кольца; 24- винт-заглушка; 26- упор приводного вала; 28- приводной вал; 29- ведущая шестерня; 30- ведомая шестерня; 33- ограничительное кольцо; 34- упорный штуцер; 35- рым-болт; 36- заглушка; 37- декоративная пластина; 38- стопорная пластина; 39- центрирующие штифты; А - полость нагнетания насоса; Б - окно перепуска из полости нагнетания в клапан; В - надпоршневая полость клапана; Г, 3 - направляющие поверхности поршня клапана; Д - полость нагнетания клапана; Е - отверстия поршня клапана; Ж - щели клапана; И - полость всасывания клапана; К - окно перепуска из клапана во всасывающую полость насоса; Л - полость всасывания насоса; М - расточки под резиновые кольца; Н - посадочная (центрирующая) поверхность; П, Т, Bj - отверстия подвода масла в оси; Р - поверхности отверстий для оси; С - лыска оси; У - поверхность расточек корпуса; Ц - отверстия подвода масла в крышках; Ш - каналы подвода масла; Щ - отверстия упора; Э - полость подвода масла к приводному валу; Ю, Я - поверхности подшипников скольжения; Aj - плоскость сопряжения внутренней крышки и втулки; Bj - полость насоса (не используется)
-3

Рис. 4.11 (окончание)

Ограничивают осевое перемещение приводного вала упор 26, кольцо 32 и кольца стопорные 25, 33. Для разгрузки ведущей шестерни от осевых усилий, возникающих в косозубых шестернях во время работы насоса, используется упор 26, на который действует давление масла из полости Э, соединенной пазом с полостью на

гнетания А корпуса насоса. Из полости Э по отверстию Щ штуцера 34 в упоре 26 масло поступает на смазку шлицев приводного вала 28.

Ведомая шестерня 5(9 вращается на неподвижной оси 21, плотно установленной в крышках 16 и 3. Положение оси 21 фиксируется в внутренней крышке через отверстие штифтом 18. Ось 21 имеет сквозное центральное отверстие П, по торцам это отверстие закрыто винтами 24. В отверстие П через каналы Ш, отверстия Ц в крышках 16 и 3 и отверстие Б, оси 21 подается масло из полости нагнетания. Далее масло по отверстию Т поступает через полость между втулкой 20 и лыской С оси 21 на смазку внутренних поверхностей бронзовых втулок 19, установленных с натягом (за счет разности температур) в центральную расточку ведомой шестерни.

Между бронзовыми втулками установлена промежуточная втулка 20. С торцов шестерни 30 установлены кольца 22 и стопорные кольца 23, удерживающие втулки 19 от осевого перемещения. На внутренний диаметр втулок 19 гальваническим способом нанесено оловянисто-свинцовистое покрытие.

Масло, вытекавшее из втулок 19, отсасывается в полость всасывания Л насоса, из втулки 31 (крышки 16) масло стекает в корпус привода насосов.

Между крышкой наружной 3 и корпусом 1, а также корпусом клапана 10, установлены уплотнительные прокладки 2 и 4, а между внутренней крышкой 16 и корпусом 1 прокладка не устанавливается.

Надежная работа втулок 27, 31 и 19 гарантируется при обеспечении минимального отклонения от соосности относительно поверхности У корпуса, поверхностей Ю и Р внутренней крышки 16 и наружной крышки 3. Отклонение от соосности (-0,03 мм) обеспечивается технологически предприятием-изготовителем и гарантируется установкой центрирующих цилиндрических штифтов 39.

Штифты 39 имеют сквозное осевое отверстие, облегчающее их установку в отверстия крышек и корпуса, а с внешнего торца штифты имеют резьбовые отверстия для демонтажа.

От выпадения штифты 39 удерживаются стопорной пластиной 5<?со стороны внутренней крышки 16, буртом центрирующей втулки 17; со стороны крышки 3 штифты перекрываются фланцем корпуса 10.

Одновременно крепится шпильками корпус 70 через прокладку 4 к наружной крышке 3, а наружная крышка 3 - через прокладку 2 к корпусу 1.

В корпусе /^размещены: поршень 9, пружина 77, регулировочные кольца 14, толщиной которых определяется затяжка пружины 77 при регулировке клапана в сборе (корпус 70 в сборе является клапаном).

На верхний торец корпуса 10 через прокладку 6 установлен и закреплен фланец 5, а на нижний торец через прокладку 12 закреплена крышка 75.

Начало открытия клапана соответствует появлению непрерывной струи масла, вытекающего через щели Ж клапана в полость И корпуса 10.

Поршень 9 - цельнолитой чугунный с двумя направляющими поверхностями разных диаметров - Г и 3. Поверхность 3 имеет щели Ж и отверстия Е.

В закрытом положении поршень 9 упирается буртом в корпус 10 и удерживается в этом положении усилием затяжки пружины.

При работе насоса масло под давлением через окно Б наружной крышки 3 нагнетается в полость Д корпуса клапана. Когда давление масла, создаваемое шестернями насоса, начинает превышать усилие затяжки пружины, поршень, сжимая пружину, перемешается вниз, при этом щели Ж и отверстия Е, полости Д и И сообщаются и масло через окно К из наружной крышки 3 перепускается в полость всасывания Л корпуса 7. При восстановлении рабочего давления клапан усилием пружины возвращается в исходное положение. Масло, попавшее в полость В во время хода клапана, удаляется по осевому сверлению в клапане в полость И, через это же отверстие полость В сообщается с полостью всасывания насоса, помогая клапану плавно возвратиться в исходное положение. В корпус 10 клапан должен перемешаться под действием собственного веса.

Пробкой 8 закрывается резьбовое отверстие для подсоединения штуцера манометра.

После регулировки на стенде клапан пломбируется пломбой 13, а величина обшей толщины регулировочных колец 14 маркируется на внешнем торце фланца 5.

Центрирование насоса по корпусу привода насосов осуществляется втулкой 77 по посадочной поверхности Н.

Уплотнение всасывающей полости Л и нагнетательной А корпуса насоса с корпусом привода насосов выполняется с помощью специальных резиновых прокладок, устанавливаемых в расточки М.

При вращении шестерен масло из всасывающей полости Л переносится в нагнетательную полость А в объемах, заключенных между зубьями шестерен 29 и 30 и расточкой в корпусе 7.

Корпус / закрывается заглушкой 36 и пластиной 37. Заглушка 36 ставится на герметике, что исключает сообщение полости В| и полости привода насосов с атмосферой.

Охладитель масла

Охладители масла установлены с обеих сторон рамы и предназначены для охлаждения масла, циркулирующего в системе дизеля. Охладители (рис. 4.12) состоят из корпуса 4 с кронштейнами 9 и 13, передней 7 и задней 7 крышек, охлаждающей секции 77.

Охлаждающая секция 77 состоит из неподвижной 2 и подвижной 20 «трубных досок», в отверстиях которых закреплены охлаждающие трубы Юс сегментными перегородками 75, создающими поперечное омывание маслом трубного пучка, что способствует лучшим условиям теплообмена.

Заполнители <?уменьшают переток неохлажденного масла между корпусом и трубным пучком. Стык сегментных перегородок и корпуса уплотняется резиновой манжетой 14.

Температурные удлинения трубок охлаждающей секции компенсируются за счет перемещения «трубной доски» 20, которая уплотняется в корпусе 4 и крышке 7двумя резиновыми кольцами 27.

Между корпусом и крышкой установлено промежуточное кольцо 22с отверстиями Н, через которые в случае разрушения уплотнения будет вытекать охлаждающая жидкость или масло.

Охлаждающая секция 77 фиксируется в корпусе 4 в определенном положении штифтом 24.

Охлаждающая жидкость в охладитель масла поступает по патрубку Д передней крышки 7, благодаря перегородке 18, проходит по охлаждающим трубам /Годной половины секции, а затем по охлаждающим трубам другой половины секции и выходит из патрубка Г.

Масло в охладитель поступает по трубопроводу, расположенному в раме, через отверстие в кронштейне 9, проходит в межтрубном пространстве и выходит через отверстие в кронштейне 13.

-4
Рис. 4.12. Охладитель масла: 1 - водяная крышка со штуцерами; 2 - неподвижная «трубная доска»; 3 - трубка для стравливания воздуха из масляной полости; 4- корпус; 5 - рым-болт; 6 - шпильки крепления крышки без штуцеров; 7- водяная крышка без штуцеров; 8 - заполнители; 9 - кронштейн крепления к раме; 10 - охлаждающая труба; 11 - охлаждающая секция; 12 - трубка для слива масла из масляной полости; 13 - кронштейн крепления к раме с отверстием для слива масла; 14 - манжета; 15 - перегородка масляной полости; 16 - шпильки крепления крышки со штуцерами; 77- трубка для слива охлаждающей жидкости; 18 - перегородка в водяной крышке со штуцерами; 19 - трубка для стравливания воздуха из водяной полости; 20- подвижная «трубная доска»; 21 - уплотнительное кольцо; 22- промежуточное кольцо; 23- уплотнительная прокладка между водяной крышкой со штуцерами и неподвижной «трубной доской»; 24 - штифт; 25- уплотнительная прокладка между корпусом и неподвижной «трубной доской»; Г - патрубок отвода охлаждающей жидкости; Д - патрубок подвода охлаждающей жидкости; Н - контрольное отверстие

Трубки 3 и 19 предназначены для выпуска воздуха из полостей охладителя, трубка 12 - для слива масла из масляной полости в раму, трубка /7- для слива охлаждающей жидкости. Для транспортировки охладителей предусмотрены рым-болты 5.

Маслопрокачивающий насос

Маслопрокачивающий насос (рис. 4.13) шестеренного типа предназначен для прокачки дизеля маслом перед пуском, после остановки и во время технического обслуживания.

-5

Рис. 4.13. Маслопрокачивающий насос:

  • I - задняя крышка; 2, 6 - втулки; 3, 4- ведущая и ведомая шестерни; 5 - корпус; 7- передняя крышка; 8- манжета; 9 - кронштейн; 10 - фланец;
  • II - болт; 12, 14 - полумуфты; 13 - амортизатор; 15 - стопорный винт;

16- электродвигатель; 17- крышка клапана; 18 - колпачок; 19- регулировочный винт; 20- шайба; 21, 25- пружины; 22- клапан; 23- седло клапана; 24 - пробка; 26 - шарик

Насос установлен на фланце электродвигателя 16 и состоит из корпуса 5, задней крышки 1, передней крышки 7, шестерен ведущей 3 и ведомой 4, кронштейна 9 и полумуфт 12 и 14, соединяющих вал электродвигателя с валом ведущей шестерни насоса при помощи болтов И и амортизаторов 13, втулок 2 и 6, которые служат подшипниками шестерен.

Уплотнение торцовое состоит из манжеты 8 и фланца 10. На торцах втулок имеются канавки для отвода масла из защемленного пространства.

Насос имеет предохранительно-перепускной клапан, обеспечивающий полный перепуск масла при повышении давления в нагнетательном трубопроводе и состоящий из клапана 22, седла 23, пружины 25, крышки 17, регулировочного винта 19, шайбы 20 м колпачка 18.

Шариковый клапан 26 обеспечивает давление в манжетном уплотнении 0,2-0,3 МПа (2-3 кгс/см2), полость шарикового клапана сообщается со всасывающей полостью.

Центробежный фильтр масла

Фильтр (рис. 4.14) предназначен для тонкой очистки масла и состоит из ротора, вращающегося на неподвижной оси 2, колпака 8 и кронштейна 1.

Ротор состоит из корпуса 9, крышки 4 с двумя соплами 75 и отбойника 14. Крышка 4 относительно корпуса 9 ротора зафиксирована штифтом. Опорами ротора служат бронзовые втулки 6 и 13, запрессованные в корпус и крышку ротора и зафиксированные винтами, а также упорный подшипник 3, воспринимающий нагрузку от веса ротора и зафиксированный на оси пружинным кольцом 5. Ось 2 верхним концом опирается на втулку 77, запрессованную в колпак 8 фильтра. Для облегчения очистки ротора от отложений на внутреннюю стенку корпуса ротора устанавливается бумажная прокладка 10.

Клапан предназначен для автоматического отключения фильтра при прокачке дизеля маслом и во время работы дизеля, если давление масла в системе будет ниже 0,25 МПа (2,5 кгс/см2).

Клапан состоит из золотника 20, втулки 27, пружины 19, штуцера 18. В верхней части колпака 8 имеется отверстие, закрытое прозрачной пробкой 72, для наблюдения за вращением ротора. В пробке

-6
Рис. 4.14. Центробежный фильтр масла: 1 - кронштейн; 2 - ось ротора; 3 - упорный шарикоподшипник; 4 - крышка ротора; 5 - пружинное кольцо; 6, 13 - нижняя и верхняя втулки ротора; 7 - уплотнительное кольцо; 8 - колпак; 9 - корпус ротора; 10 - бумажная прокладка; 11 - втулка колпака; 12 - пробка; 14 - отбойник; 75 - сопло; 16 - уплотнительное кольцо сопла; 77-регулировочная шайба; 18- штуцер; 19 - пружина; 20- золотник; 21 - втулка клапана; 22- пробка, закрывающая отверстие для измерения частоты вращения ротора; 23 - фланец для трубы подвода масла; А - полость подвода масла; Б - полость слива масла;

Д - установочная поверхность

выполнены три отверстия, способствующие улучшению работоспособности фильтра. Стык кронштейна 1 и колпака <? уплотняется кольцом 7.

Принцип работы фильтра следующий. Часть масла под давлением из масляной системы через канал в кронштейне, запорно-регулировочный клапан и отверстие в оси поступает во внутреннюю полость ротора, проходит между отбойником 14 и осью 2 и по ка

налам в крышке поступает к соплам 15. Реактивная сила струй масла, вытекающих из отверстий сопел, приводит во вращение ротор, заполненный маслом. Центробежная сила отбрасывает к периферии ротора механические примеси и другие включения, находящиеся в масле и имеющие большой по сравнению с маслом удельный вес, включения оседают на прокладке 10, установленной на внутренней стенке корпуса ротора. Выходящее из ротора очищенное масло стекает через окна в кронштейне в раму.

Редукционный и невозвратный клапаны

Редукционные клапаны (рис. 4.15) устанавливаются перед турбокомпрессором и перед лотком.

Клапаны обеспечивают понижение давления масла до необходимой величины путем дросселирования его в зазоре между тарелкой шпинделя 6 и фаской Г корпуса 1. При отсутствии давления масла в системе клапан под действием пружины открыт до упора шпинделя в стопорный болт 2. При возникновении давления масла в системе, подведенного к клапану со стороны полости Б, шпиндель 6 под действием давления поднимается и уменьшает зазор между тарелкой и фаской Г до такой величины, которая обеспечит нужную величину уменьшения давления.

Регулировка клапана производится за счет толщины кольца.

-7

Рис. 4.15. Редукционный клапан:

  • 7 - корпус; 2- стопорный болт ограничения хода шпинделя 6; 3- уплотнительная гайка; 4 - пружина; 5 - регулировочное кольцо; 6 - шпиндель; 7 - наконечник под трубу;
  • 8 - накидная уплотнительная гайка; 9 - штуцер (болт), уплотняющий угольник для слива просочившегося масла через зазоры редукционного клапана; А - нагнетательная полость; Б - полость подвода масла; В - полость над клапаном; Г - уплотнительная фаска клапана и шпинделя; Д - подвод масла к редукционному клапану; Е - отвод масла (к лотку, турбокомпрессору); И - отверстие под болты для установки редукционного клапана; Ж - слив просочившегося масла

через зазоры редукционного клапана

С целью разгрузки полости В она соединена через поворотный угольник с трубопроводом слива масла из подшипников турбокомпрессора.

Невозвратный клапан (рис. 4.16) в масляной системе дизеля не допускает переток масла из нагнетательной магистрали дизеля в магистраль маслопрокачивающего насоса в период работы дизеля. Невозвратный клапан состоит из корпуса 1 и клапана 2 и установлен между фланцами 4 масляного трубопровода.

Клапан 2 конусной поверхностью В разделяет корпус 7 на две полости А и Г. Выступы Д предназначены для направления клапана при его движении, выступы Б - для ограничения хода клапана. Нормальное расположение клапана вертикаль

-8

Рис. 4.16. Невозвратный клапан: 1 - корпус; 2 - клапан; 3 - прокладка; 4 - фланец; А - полость нагнетательная; Б - ограничительные выступы клапана; В - уплотнительная плоскость клапана и корпуса; Г - всасывающая полость; Д - направляющая клапана

ное - полостью А вверх.

Клапан 2 под действием давления масла, создаваемого маслопро

качивающим насосом во время прокачки дизеля маслом, поднимается и масло поступает из полости Г в полость А и по трубе отводится в масляную магистраль дизеля. После прекращения работы маслопрокачивающего насоса клапан под действием собственной массы (а при начале работы основного масляного насоса и под действием давлений масла от этого насоса в полости А) опускается и разобщает полости А и Г, тем самым препятствует проходу масла, поступающего от масляного насоса во время работы дизеля в магистраль маслопрокачивающего насоса.

Терморегулятор

Терморегулятор (рис. 4.17) прямого действия предназначен для автоматического регулирования температуры масла.

Терморегулятор состоит из корпуса 11 и термосистемы 15, установленной в корпус и закрепленной винтами 14.

-9
Рис. 4.17. Терморегулятор: 1 - крышка; 2 - уплотнительное кольцо; 3- кольцо; 4, 8- втулки; 5 - регулировочный винт; 6- колпачок; 7, 14- винты; 9- пломба; 10, 17, 19, 22, 24 - прокладки; 11 - корпус; 12 - гайка; 13 - контргайка; 15 - термосистема; 16 - датчик температуры; 18 - болт; 20, 21, 23 - пробки

Корпус терморегулятора закрыт крышкой 1 через уплотнительную прокладку 17, закрепленную болтами 18.

Перемещение заслонки термосистемы 15осуществляется датчиком температуры 16, корпус которого установлен в опорную втулку

термосистемы, а шток датчика упирается в головку регулировочного винта 5.

Для герметизации винта 5 служит уплотнительное фторопластовое кольцо 2, установленное внутри втулки 4, которая ввертывается в корпус терморегулятора и уплотняется прокладкой 10.

Уплотнительное кольцо 2прижимается втулкой б’через кольцо 3, после чего втулка 8 стопорится контргайкой 13.

После настройки термосистемы винт 5 стопорится гайкой 12, закрывается колпачком 6, который крепится винтом 7 и устанавливается пломба 9.

Принцип действия терморегулятора основан на перемещении заслонки термосистемы в зависимости от изменения объема заполнителя термочувствительного элемента (термодатчика 16) пропорционально регулируемой температуры.

Автоматическое поддержание заданного значения регулируемой температуры производится по способу перепуска (соотношение количества охлаждаемого масла в линиях перепуска и охладителя определяется регулируемой температурой). При повышении температуры охлаждаемого масла, выходящего из дизеля, регулирующий орган, перемещаемый термочувствительным элементом (термодатчиком) за счет увеличения объема заполнителя, изменяет гидравлическое сопротивление в линиях перепуска и отвода на охладитель.

При этом расход охлаждаемого масла через охладитель увеличивается, а в линии перепуска уменьшается. Соотношение расходов изменяется до тех пор, пока регулируемая температура не примет заданного значения.

При понижении температуры масла, выходящего из дизеля, объем заполнителя термочувствительного элемента уменьшается и восстановление заданного температурного режима дизеля происходит под действием пружин возврата, перемещающих регулирующий орган термосистемы в положение, при котором гидравлическое сопротивление в линии перепуска уменьшается, а в линии охладителя увеличивается.

Терморегулятор отрегулирован на заданную температуру фиксированной настройки 338К (65 °С) - начало открытия на охладитель масла.

Терморегулятор регулируется на предприятии-изготовителе и при нормальных условиях работы его дополнительная регулировка не требуется.

При выходе из строя датчика температуры 16, поддержание заданного температурного режима можно вести вручную при помощи регулировочного винта 5. Для этого необходимо частично отвернуть гайку 12, завернуть винт 5на пять оборотов, предварительно отвернув винт 7, сняв колпачок 6, удалив пломбу 9. При этом заслонка термосистемы 15 полностью открывает отвод масла на охладитель и закрывает перепуск.

Отверстия для установки датчиков температуры заглушены пробками 20, 21, которые уплотняются прокладками 19, 22.

Автоматический фильтр масла Boll&Kirch 6.46

Автоматический самоочищающийся фильтр тип 6.46 (рис. 4.18)

выполняет задачу фильтрации смазочного масла оптимальным об

-10
Рис. 4.18. Автоматический фильтр масла Boll&Kirch 6.46: 1 - входной фланец; 2 - выходной фланец; 3 - фильтровальная свеча; 4 - сетчатая вставка; 5 - дифференциальный индикатор давления; 6-защитная сетка; 7- перепускные клапаны; 8- промывочная консоль; 9 - турбина

разом. Отличительной чертой автоматического фильтра Boll&Kirch 6.46 является наличие постоянной и равномерной промывки фильтровальных свеч противотоком. Фильтр является полностью автономным устройством, не нуждающимся во внешних источниках энергии, и обеспечивает не только высокую степень очистки, но и существенное снижение затрат на запчасти и техобслуживание. Основные технические характеристики отображены в табл. 4.1.

При работе фильтра неочищенное масло поступает в его корпус через входной фланец 1. Примерно половина всего потока неочищенного масла через центральную вертикальную трубу подается в сетчатую вставку в верхней

Таблица 4.1

Основные параметры автоматического масляного фильтра BoII&Kirch 6.46

№ п/п

Область применения

Фильтрация смазочного масла в малых и средних дизелях

1

Диапазон рабочего давления

2-10 кг/см2

2

Перепад давления на фильтре

От нуля до номинального рабочего давления

3

Рабочая температура

До 100 °С

4

Материал корпуса

Серый чугун

5

Максимальная тонкостьфильтрации

25 микрон (мк)

6

Тип фильтровальных свечей

Свечи, открытые с обеих сторон

7

Рабочая жидкость для промывки противотоком

Фильтруемая жидкость

8

Организация промывки противотоком

Непрерывная промывка с турбоприводом промывочного устройства

9

Технология очистки

Индивидуальные свечи - промывка обратным поперечным потоком

10

Дополнительные принадлежности

Встроенный выходной масляный клапан; встроенный корпус регулирующего клапана

части 4корпуса фильтра, откуда сверху поступает в фильтровальную свечу 3, открытую с обеих сторон. Другая половина потока неочищенного масла поступает в фильтровальную свечу снизу. Ячейка сетки обеспечивает тонкость фильтрации до 25 микрон. Неочищенное масло через дополнительную защитную сетку подается на выход фильтра, откуда возвращается в двигатель через выходной фланец 2.

В фильтре осуществляется непрерывная поочередная промывка свечей, не требующая остановки процесса фильтрации.

Механизм промывки фильтра противотоком приводится в действие турбиной 9, установленной во входном фланце. Этот механизм постоянно вращает промывочную консоль 8, перемещая ее от одной

фильтровальной свечи к другой. На внутренней стороне свечей возникает сильный поверхностно-поперечный поток, при этом свеча оказывается отключенной на время промывки ее противотоком.

Кроме того, из-за пониженного давления внутри свеч возникает обратный ток очищенного масла снаружи свечи вовнутрь. Эти потоки обеспечивают полную очистку свечи от слоя грязи, образовавшегося на ее внутренней поверхности, защищая тем самым сетчатый фильтр.

Равномерная промывка противотоком в течение длительного времени, для которой оказывается достаточно минимального количества промывочного масла, предотвращает падение давления масла в системе. В случае прерывания или нарушения нормального хода операции промывки свеч перепад давления начинает расти; когда он достигнет 2 кг/см2, откроются перепускные клапаны 7, и масло пойдет через защитную сетку 6, играющую роль второй ступени фильтра. Еще раньше, однако, на неисправность отреагирует дифференциальный индикатор давления 5, который, если повышенный перепад давления будет сохраняться, выдаст соответствующий аварийный сигнал.