Найти в Дзене

Москвич оказался китайцем

Это оказались китайские модели JAC с двигателем внутреннего сгорания и электромотором. «Одобрение типа транспортного средства утверждено. Внесена запись в реестр», — Росстандарт. Стало известно, что будут производить под маркой «Москвич». Автомобили проходили сертификацию через Беларусь, что позволило долгое время скрывать, какие именно модели лягут в основу сборочного конвейера. Оказалось, что прежние фотографии на презентации все же правда. Несмотря на то, что тогда было заявлено о примерном модельном ряде. В сертификационных документах модели «Москвич 3» и «Москвич 3е» — это модели китайского бренда JAC. Обе модели одинаковые, кто того, что в одной установлен ДВС, а второй – электромотор. Длина паркетника 4,41 метра при ширине 1,8 метра и высоте 1,66 метра. ДВС будет два. Автомобили «Москвич 3» получат 1,5-литровый турбированный мотор на 150 лошадиных сил и 210 Нм крутящего момента. А 1,6-литровый агрегат будет атмосферным с мощностью 109 лошадиных сил и 150 Нм крутящего момента. Д

Это оказались китайские модели JAC с двигателем внутреннего сгорания и электромотором.

«Одобрение типа транспортного средства утверждено. Внесена запись в реестр», — Росстандарт.

Стало известно, что будут производить под маркой «Москвич». Автомобили проходили сертификацию через Беларусь, что позволило долгое время скрывать, какие именно модели лягут в основу сборочного конвейера. Оказалось, что прежние фотографии на презентации все же правда. Несмотря на то, что тогда было заявлено о примерном модельном ряде.

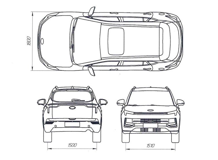
В сертификационных документах модели «Москвич 3» и «Москвич 3е» — это модели китайского бренда JAC. Обе модели одинаковые, кто того, что в одной установлен ДВС, а второй – электромотор. Длина паркетника 4,41 метра при ширине 1,8 метра и высоте 1,66 метра.

ДВС будет два. Автомобили «Москвич 3» получат 1,5-литровый турбированный мотор на 150 лошадиных сил и 210 Нм крутящего момента. А 1,6-литровый агрегат будет атмосферным с мощностью 109 лошадиных сил и 150 Нм крутящего момента. Для турбированного агрегата будет доступна «механика» и вариатор, а для атмосферного мотора только МКП.

Электромобиль в таком же кузове будет оснащаться электромотором на 68 лошадиных сил. Запас хода около 410 километров.

Ранее уже появлялись фотографии с презентации, где на слайдах был модельный ряд JAC. Несмотря на это, тогда КамАЗ не стал подтверждать потенциальное сотрудничество. Теперь же появились документы, в которых именно КамАЗ управляет проектом. Московский автозавод «Москвич» просто компания, которая занимается сборкой автомобилей. Причем документы оформлялись с помощью белорусской компании, что позволяло долгое время не раскрывать, кто будет поставлять машинокомплекты на конвейер.