Добавить в корзинуПозвонить
Найти в Дзене
IXBT.com

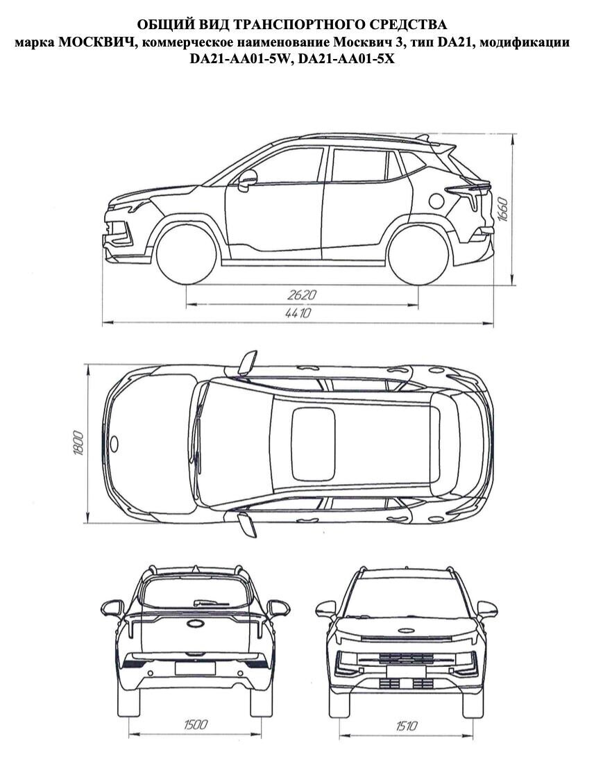
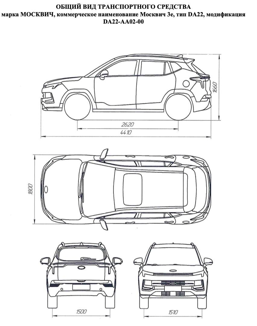
Сертифицированы первые модели возрождённого «Москвича». Подробные характеристики и схематичные изображения «Москвича 3» и «Москвича 3e»

Слухи о том, что на возрождённом заводе «Москвич» будут собирать автомобили JAC под другой эмблемой, перестали быть слухами. Обозреватели портала Drom.ru обнаружили в базе данных Росстандарта Одобрения типа транспортного средства (ОТТС) на две первые модели «Москвича» — «Москвич 3» и «Москвич 3e». «Москвич 3» — это переименованная версия компактного кроссовера JAC JS4. Напомним, недавно этот автомобиль фигурировал в практически детективной истории: российскую премьеру отменили за несколько часов до её начала (ходят слухи, что по настоянию КамАЗа), но в продажу такие автомобили всё-таки поступили. Позже с сайта JAC исчезли прайс-листы, а сам JS4 вполне себе официально поступил в продажу в Казахстане. Автомобиль из второго ОТТС называется «Москвич 3е»: это копия JAC iEVs4 — электромобиля на базе JS4. Размеры у двух моделей одинаковые: длина — 4410 мм, ширина — 1800 мм, высота — 1660 мм, колёсная база — 2620 мм. Ширина передней колеи — 1510 мм, задней — 1500 мм. Местом производства в доку

Слухи о том, что на возрождённом заводе «Москвич» будут собирать автомобили JAC под другой эмблемой, перестали быть слухами. Обозреватели портала Drom.ru обнаружили в базе данных Росстандарта Одобрения типа транспортного средства (ОТТС) на две первые модели «Москвича» — «Москвич 3» и «Москвич 3e».

Вот такой он, «Москвич 3». Он же JAC JS4📷
Вот такой он, «Москвич 3». Он же JAC JS4📷

«Москвич 3» — это переименованная версия компактного кроссовера JAC JS4. Напомним, недавно этот автомобиль фигурировал в практически детективной истории: российскую премьеру отменили за несколько часов до её начала (ходят слухи, что по настоянию КамАЗа), но в продажу такие автомобили всё-таки поступили. Позже с сайта JAC исчезли прайс-листы, а сам JS4 вполне себе официально поступил в продажу в Казахстане.

Автомобиль из второго ОТТС называется «Москвич 3е»: это копия JAC iEVs4 — электромобиля на базе JS4.

Размеры у двух моделей одинаковые: длина — 4410 мм, ширина — 1800 мм, высота — 1660 мм, колёсная база — 2620 мм. Ширина передней колеи — 1510 мм, задней — 1500 мм. Местом производства в документах значится Московский автозавод «Москвич» (бывший «Renault Россия»), однако заявителем в ОТТС прописан КамАЗ, который выступает куратором проекта.

«Москвич 3» будут выпускать в модификациях с бензиновыми моторами объёмом 1,5 л (HFC4GB24D) и 1,6 л (HFC4GB33D). Первый — с турбонаддувом, он развивает 150 л.с. Второй — атмосферный, мощностью109 л.с. Турбомотор сочетается с 6-ступенчатой МКП или бесступенчатым вариатором, «атмосферник» — только с 6-ступенчатой МКП.

«Москвич 3е» оснащён электромотором SY Power TZ200XSIEM1 и тяговой батареей Sinoev 21011S4C4 ёмкостью 187 А·ч. Запас хода на одном полном заряде — 410 км.

Во всех случаях привод передний, полный не предусмотрен в принципе, поскольку задняя подвеска — полузависимого типа, с цельной торсионной балкой. Снаряжённая масса бензинового «Москвича» — 1440 кг, электрического — 1800 кг. Исходя из соотношения массы и мощности становится понятно, что динамика «Москвича 3e» будет как минимум вялой.

На первом этапе планируется выпускать «Москвичи» по крупноузловому методу. Ожидается, что до конца года завод соберёт 600 авто, старт производства намечен на декабрь. Ну а производство по полному циклу со сваркой и окраской кузовов намечено на 2024 год.