Добавить в корзинуПозвонить
Найти в Дзене
ДЕНЕЖНЫЙ МЕШОК

Россиянин придумал необычный способ экстренной остановки автомобиля и получил патент на изобретение

Оглавление
Фото: pixabay.com
Фото: pixabay.com
Как правило, все известные ранее способы экстренной остановки автомобилей, так или иначе были направлены на снижение тормозного пути.
Ведь, казалось бы, очевидно, что автомобиль, движущийся на приличной скорости, не может остановиться мгновенно без сопутствующих критических разрушений.

Однако, изобретатель из Ногинского района Московской области, Перфилов Александр Александрович, решил, что стоит попытаться найти способ остановить автомобиль если не мгновенно, то хотя бы очень-очень быстро, и не допустить при этом никаких деформаций и прочих негативных последствий.

В итоге был получен патент на изобретение, которое так и называется "УСТРОЙСТВО ЭКСТРЕННОЙ ОСТАНОВКИ АВТОМОБИЛЯ" (ПАТЕНТ № 2724443).

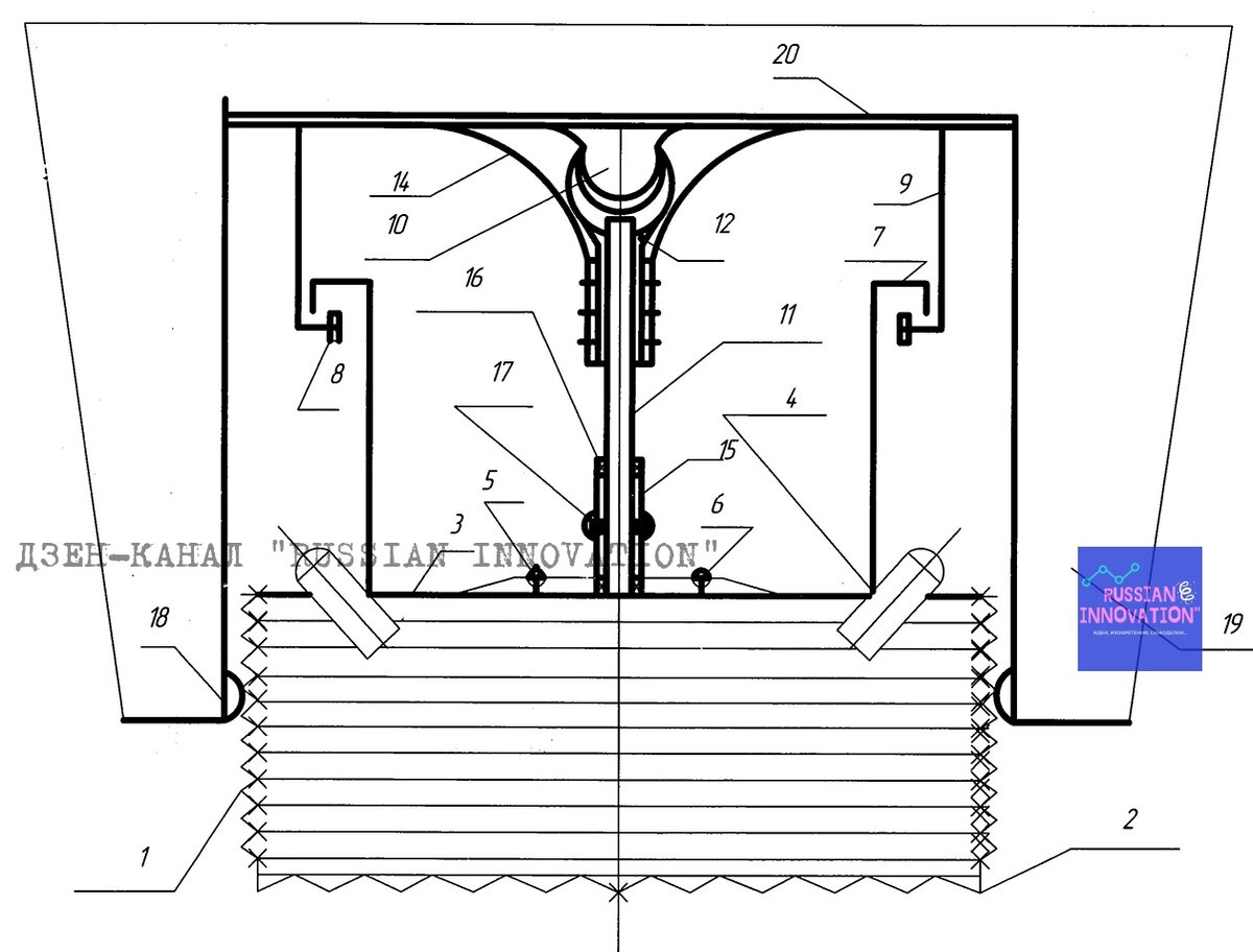
Вот как, согласно патентной документации, выглядит само запатентованное приспособление:

© Перфилов Александр Александрович, ИЗ - 2724443.
© Перфилов Александр Александрович, ИЗ - 2724443.

А вот, как оно выглядит при установке на автомобиль:

© Перфилов Александр Александрович, ИЗ - 2724443.
© Перфилов Александр Александрович, ИЗ - 2724443.
На первый взгляд может показаться, что автор изобретения предлагает нам некую массивную "тормозную колодку", которая будет дополнительно к колесному торможению создавать трение между дорожным полотном и рабочей частью самой "колодки".

Однако, это не так. Предлагаемое Александром Александровичем решение гораздо любопытнее.

По задумке автора изобретения, при наступлении критической ситуации на дороге, которая требует немедленной остановки транспортного средства, рабочая часть устройства выдвигается таким образом, что автомобиль с колесной базой полностью отрывается от земли и начинает вращаться вокруг оси, проходящей через вал.

Далее, вращение плавно замедляется при помощи дополнительного электромагнитного тормоза, входящего в комплектацию приспособления.

Уж не знаю, насколько практически реализуема данная разработка?! Но в теории выглядит весьма красиво. Вот "летит" авто на скорости, возникает аварийная ситуация, авто замирает на месте и тут же начинает вращаться, словно детская карусель.

И все же, возможность реализации данной идеи лично у меня вызывает очень большие сомнения.

А вы как считаете?

Ознакомиться подробнее со всеми техническими характеристиками данного изобретения вы можете здесь.

Спасибо за лайк и подписку на канал!

#патенты #транспорт #гаражи #отечественный автопром #кулибин