Найти в Дзене
PhotoWebExpo

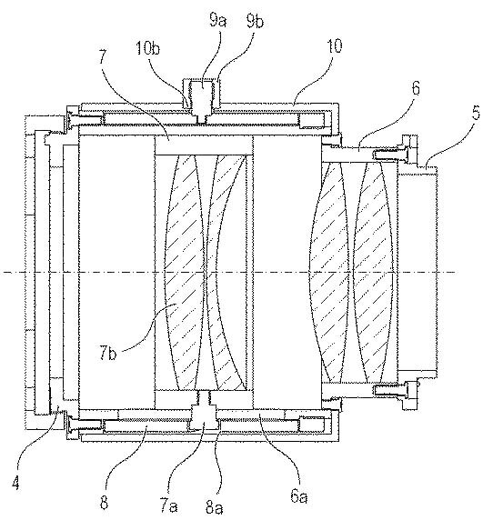
Canon запатентовал телеконвертер с зумом 1.0x-1.5x-2.0x

Ресурс Canon News обнаружил патент, демонстрирующий довольно интересную идею компании Canon, – создать телеконвертер с масштабированием. Телеконверторы существуют уже давно, но впервые появилась идея создать подобное устройство с возможностью изменения коэффициента увеличения.
Эскизы из патентной заявки
Новая разработка позволит с помощью рычажка легко переключаться между масштабами 1.0x – 1.5x –

Ресурс Canon News обнаружил патент, демонстрирующий довольно интересную идею компании Canon, – создать телеконвертер с масштабированием. Телеконверторы существуют уже давно, но впервые появилась идея создать подобное устройство с возможностью изменения коэффициента увеличения.

Новая разработка позволит с помощью рычажка легко переключаться между масштабами 1.0x – 1.5x – 2.0x.

Согласно патенту конвертер имеет несколько другую конструкцию, нежели у тех, что сейчас есть на рынке. Судя по всему, он действительно будет работать с новым Canon RF 100-500mm, но сможет ли подойти к таким объективам как RF 70-200mm f/2.8L IS USM, которые несовместимы с новыми RF-телеконвертерами?

Пока из патента нельзя почерпнуть много информации, однако со временем она наверняка появится.

Все новости фотоиндустрии – на нашей ленте Zen. Подписывайтесь!