Добавить в корзинуПозвонить
Найти в Дзене
Журнал "ИСУП"

Новая система для расчета массы жидкости в цистернах

Система контроля технологических параметров (СКТП), разработанная коллективом ООО АИС-НН, служит для автоматического расчета объема нефти или сжиженного газа в цистернах. В статье рассказано, как осуществляется расчет, приведены формулы и технические чертежи.
О компании АИС-НН
Компания из Нижнего Новгорода ООО «Акустические Измерительные Системы – НН» (ООО АИС-НН) всегда обладала мощным научным

Система контроля технологических параметров (СКТП), разработанная коллективом ООО АИС-НН, служит для автоматического расчета объема нефти или сжиженного газа в цистернах. В статье рассказано, как осуществляется расчет, приведены формулы и технические чертежи.

О компании АИС-НН

Компания из Нижнего Новгорода ООО «Акустические Измерительные Системы – НН» (ООО АИС-НН) всегда обладала мощным научным потенциалом и занималась производством продукции, основанной на собственных разработках. Ее основали сотрудники Нижегородского Государственного технического университета им. Р. Е. Алексеева: профессор, доктор технических наук Владимир Иванович Мельников и его ученики.

Группа ученых под руководством В.И. Мельникова специализировалась на ультразвуковых системах контроля параметров теплоносителя ядерных энергетических установок, поэтому компания АИС-НН начала свою работу с создания ультразвуковых приборов для контроля технологических сред в экстремальных условиях. Сегодня они широко применяются на объектах атомной промышленности. Со временем сфера деятельности компании расширилась, и бы­ло начато новое направление: разработка ультразвуковых сигнализаторов уровня жидкости СЖУ, которые являются частью автоматизированной системы налива и предназначены для работы на объектах нефтяной и газовой отраслей промышленности. Автоматизация требует применения специального программного обеспечения, которое учитывает все особенности технологического процесса. И здесь коллектив компании, в котором сегодня работают высококвалифицированные математики-программисты, опять демонстрирует свои научные возможности.

В статье рассказано о математических решениях, примененных в новой автоматизированной системе контроля технологических параметров, построенной на базе рефлекс-радарного ультразвукового прибора контроля уровня жидкости СЖУ‑1‑ВУ‑2 (рис. 1).

Рис. 1. Уровнемер СЖУ‑1‑ВУ‑2

Описание решения

ООО «АИС-НН» разработало новую систему контроля технологических параметров (СКТП). Она состоит из уровнемера СЖУ‑1‑ВУ‑2, электрощита со встроенным вторичным преобразователем и ЖК-дисплеем. Расчет массы производится по формуле (1):

m = p · v   (1)

Плотность жидкости задается в программе вручную (у пользователя есть возможность изменять параметры в программе через коннектор). В дальнейшем по желанию заказчика можно дополнить систему датчиками давления и температуры для математического расчета плотности сжиженных газов.

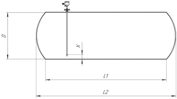
Расчет объема происходит автоматически с учетом геометрии цистерны. Рационально будет разделить емкость на несколько частей, отличающихся друг от друга (рис. 2), а именно на цилиндр и два полуэллипса (на данной цистерне отсутствует горловина). Чертежи для расчета объема приведены на рис. 3.

-2

Рис. 2. Схематичное изображение емкости с геометрическими параметрами

-3

Рис. 3. Чертеж цилиндрической и эллиптической частей цистерны

Сначала определим объем цилиндрической части цистерны (рис. 3а). С учетом геометрических соображений итоговая формула для расчета объема цилиндра имеет следующий вид (2).

Для эллиптической части цистерны (рис. 3б) была получена формула (3).

Итоговый объем определяется как сумма объемов цилиндрической и эллиптической частей по формуле (4).

-4

Внешний вид окна программы представлен на рис. 4. Оно состоит из двух частей. Первое является основным, здесь выведены показания с уровнемера (уровень жидкости в процентах и в метрах), а также расчетная масса жидкости. В правой половине данного окна можно наблюдать за заполнением емкости в режиме реального времени посредством анимации.

-5

Рис. 4. Окно программы расчета массы

Во втором окне содержатся чертежи цистерны с обозначенными геометрическими параметрами. У пользователя есть возможность менять все значения с учетом конкретной емкости и среды. После изменения параметров необходимо нажать кнопку «Записать в EEPROM».

Благодаря данной системе появляется новая альтернатива определения массы для предприятий, работающих с цистернами, наполненными различными жидкостями. Безоговорочным преимуществом данного метода является его точность, а сам прибор неприхотлив в эксплуатации и обслуживании по сравнению с аналогичными изделиями компаний-конкурентов. Еще одно преимущество – многофункциональность, поскольку можно определить как массу жидкости в емкости, так и занимаемый ею объем, и уровень жидкости, причем эти данные поступают в режиме реального времени. Таким образом, СКТП является чрезвычайно выгодным и рациональным приобретением для компаний, занятых в указанной сфере.

Научный коллектив компании «АИС-НН» не стоит на месте и всегда готов адаптировать свою новую разработку под емкости особой формы по заявке заказчика.

Новое поколение электроники для одноточечных сигнализаторов уровня

Компания ООО «Акустические Измерительные Системы – НН» разработала новое поколение печатных плат для одноточечных сигнализаторов. В новой версии приборов присутствует функция самодиагностики состояния чувствительного элемента, платы и напряжения питания. Также стала доступна опция выходного сигнала – Hart-протокол.

Статья опубликована в журнале «ИСУП»

статья на сайте журнала >>