Найти в Дзене

Изобретение, которое появилось на свет благодаря случаю и принесло изобретателю миллионы долларов

В 1980-х годах инженер NASA Лонни Джонсон работал в своем доме над импровизированным тепловым насосом для отопления. Первоначально в качестве рабочей жидкости Джонсон использовал фреон, но в какой-то момент решил заменить его на более экологичный материал: воду под давлением.
Во время эксперимента насос дал течь, и вода залила ванную. Струи воды напомнили Джонсону шприц-пистолет, и он подумал,

В 1980-х годах инженер NASA Лонни Джонсон работал в своем доме над импровизированным тепловым насосом для отопления. Первоначально в качестве рабочей жидкости Джонсон использовал фреон, но в какой-то момент решил заменить его на более экологичный материал: воду под давлением.

Во время эксперимента насос дал течь, и вода залила ванную. Струи воды напомнили Джонсону шприц-пистолет, и он подумал, что было бы замечательно, если бы водяные пушки могли стрелять водой так же мощно, как эти струи, вырывающиеся из насоса.

Инженер часто думал об аварии, в результате у него возникла идея создания нового типа струйного пистолета. Джонсон решил, что в основе устройства должны будут лежать те же физические принципы, которые лежат в основе теплового насоса.

Фото: pinterest.com
Фото: pinterest.com

Джонсон работал над своей идеей несколько месяцев. Первый прототип он изготовил при помощи фрезерного станка из оргстекла, уплотнительных колец для труб из ПВХ и бутылки содовой, она служила в качестве резервуара для воды.

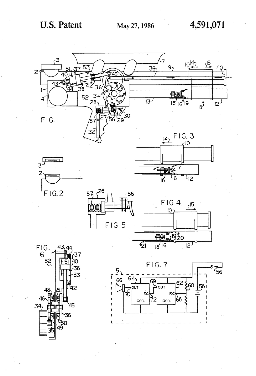
В 1986 году Джонсон получил патент США на свое изобретение под номером 4,591,071, устройство он назвал Squirt Gun. Позже изобретатель переделал пистолет так, чтобы он выглядел как будто из фантастического фильма.

Фото: edu.glogster.com
Фото: edu.glogster.com

В 1990 году Джонсон передал лицензию на игрушку компании Larami Corporation, и водяные пистолеты впервые поступили в продажу. Squirt Gun отличался от шприцов-пистолетов тем, что вместо тонкой струйки мог распылять воду с сильным напором на десятки метров.

Сперва пистолет Джонсона получил название Drencher, но из-за проблем с авторскими правами устройство переименовали в Super Soaker, именно под такой торговой маркой оно и известно сегодня.

Фото: pinterest.com
Фото: pinterest.com

В 90-е годы пистолет Super Soaker стал самой продаваемой игрушкой в ​​мире, благодаря чему изобретение Джонсона вошло в Национальный зал славы игрушек.

Фото: pinterest.com
Фото: pinterest.com

Вещь, которую изобрел Джонсон, стала одной из самых знаковых игрушек всех времен, а все началось из-за течи в тепловом насосе.

Post Scriptum

В 2013 году Джонсон выиграл иск у одной из компаний, которая занималась производством Super Soaker. По решению суда компания выплатила изобретателю гонорары и проценты с продаж в размере 73 миллионов долларов.

Если прибавить эту сумму к тем процентам, что он получил с первых продаж своего изобретения, заработок окажется внушительным — более 100 миллионов долларов. В 90-е годы Super Soaker продавался от 10 до 60 долларов в зависимости от модели.

Вам может быть интересно:

7 примитивных изобретений, которые изменили жизнь миллионов людей
Как управляют массами. О “пробоине” в психике, позволяющей “залезть” в голову человека
8 примеров использования искусственного интеллекта на пользу людям

Подписывайтесь на наш канал в Дзен, поделитесь мнением о материале и расскажите о нем друзьям. Еще больше интересных постов в нашем Telegram