Добавить в корзинуПозвонить
Найти в Дзене
ДЕНЕЖНЫЙ МЕШОК

Оригинальная печь для бани, с высоким КПД, запатентованная в качестве полезной модели

Оглавление
Фото: pixabay.com
Фото: pixabay.com
Один мой хороший знакомый задумал заняться выпуском банных печей. Однако, изобретательских способностей в себе он не обнаружил - и проектировать конструкцию собственной, оригинальной печи не стал. А решил поступить иначе.
Попросил меня подобрать для него подборку патентов на банные печи, срок охраны которых уже истек, чтобы использовать для производства ранее запатентованную конструкцию и при этом формально не нарушать права автора изобретения, либо полезной модели.

Больше других приглянулась ему конструкция банной печи с лабиринтным газоходом, которая была запатентована в качестве полезной модели и на текущий момент уже имеет статус патента - "не действует", а, следовательно, как известно, в соответствии с российским законодательством, такой патент может быть использован любым заинтересованным лицом, в том числе в коммерческих целях.

Полезная модель так и называется "ПЕЧЬ ДЛЯ БАНИ" (патент № 63504, срок действия патента истек 19 декабря 2016 года).
Авторы и правообладатели - Щербицкий Анатолий Владимирович, Щербицкий Эдуард Анатольевич и Щербицкая Елена Анатольевна.

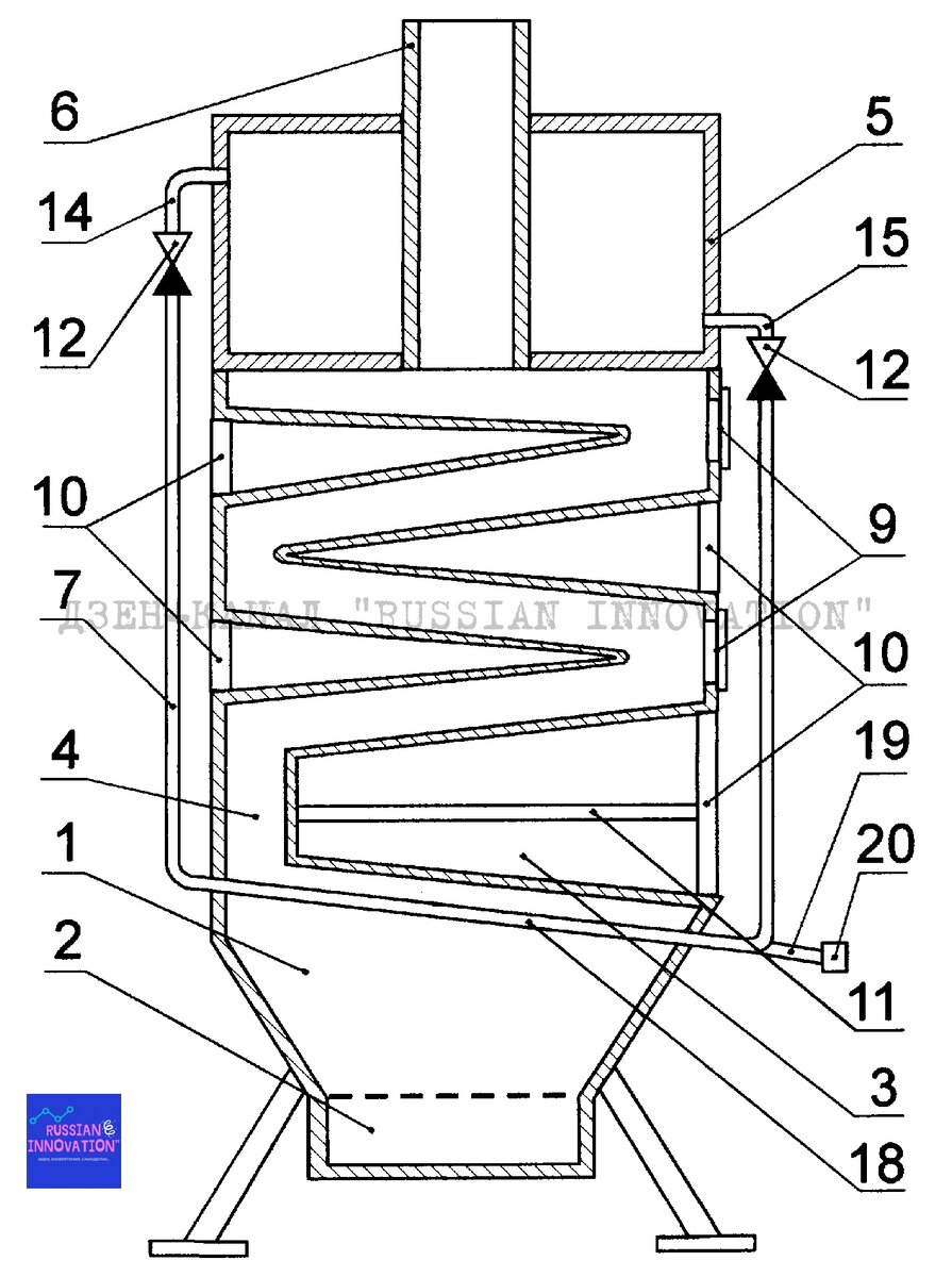
Вот как, согласно патентной документации, выглядит схематически конструкция данной печи (вид спереди, разрез):

© Щербицкий Анатолий Владимирович, Щербицкий Эдуард Анатольевич и Щербицкая Елена Анатольевна, ПМ - 63504.
© Щербицкий Анатолий Владимирович, Щербицкий Эдуард Анатольевич и Щербицкая Елена Анатольевна, ПМ - 63504.

А так выглядит данная печь в аксонометрии:

© Щербицкий Анатолий Владимирович, Щербицкий Эдуард Анатольевич и Щербицкая Елена Анатольевна, ПМ - 63504.
© Щербицкий Анатолий Владимирович, Щербицкий Эдуард Анатольевич и Щербицкая Елена Анатольевна, ПМ - 63504.
Идея, заложенная в конструкцию печи, заключается в том, что газоход (см. поз. 4 на схеме) выполнен в виде лабиринта и имеет зигзагообразный ход, направленный по восходящей вверх и далее переходящий в дымоход (см. поз. 6 на схеме).
При этом, конструкция печи обеспечивает непосредственный контакт газохода с воздушной массой банного помещения, в котором предполагается установка печи.

По утверждению автора полезной модели, конструктивные и технологические особенности печи обеспечивают ей значительную площадь теплопередачи при сравнительно небольших габаритных размерах самой печи и, следовательно, высокий коэффициент эффективности и полезного действия.

По-моему, очень интересная и необычная печь. Если у знакомого все получится с ее производством - буду искренне рад.

А как на ваш взгляд?

Ознакомиться подробнее с техническими характеристиками данной полезной модели вы можете здесь.

Спасибо за лайк и подписку на канал!

#бани #отопление #печи #деревни #сельская жизнь