Найти в Дзене
ДЕНЕЖНЫЙ МЕШОК

Устройство для очистки внутренней поверхности трубопровода от загрязнений придумал и запатентовал россиянин

Оглавление
© Дзен-канал "Russian innovation"
© Дзен-канал "Russian innovation"
В преддверии отопительного сезона, задумался я над тем, как подготовить трубопровод и радиаторы системы отопления к активной работе в режиме "нон-стоп".
В этой связи, начал интересоваться возможными способами очистки трубопровода от накипи и отложений, которые неизбежно возникают в процессе эксплуатации и в дальнейшем мешают полноценной работе отопительной системы.

И тут мое внимание привлекла технология, которую придумал и запатентовал житель города Екатеринбурга, Шаршапин Юрий Иванович.

Полезная модель так и называется "УСТРОЙСТВО ДЛЯ ОЧИСТКИ ВНУТРЕННЕЙ ПОВЕРХНОСТИ ТРУБОПРОВОДА ОТ ЗАГРЯЗНЕНИЙ" (патент № 189125).

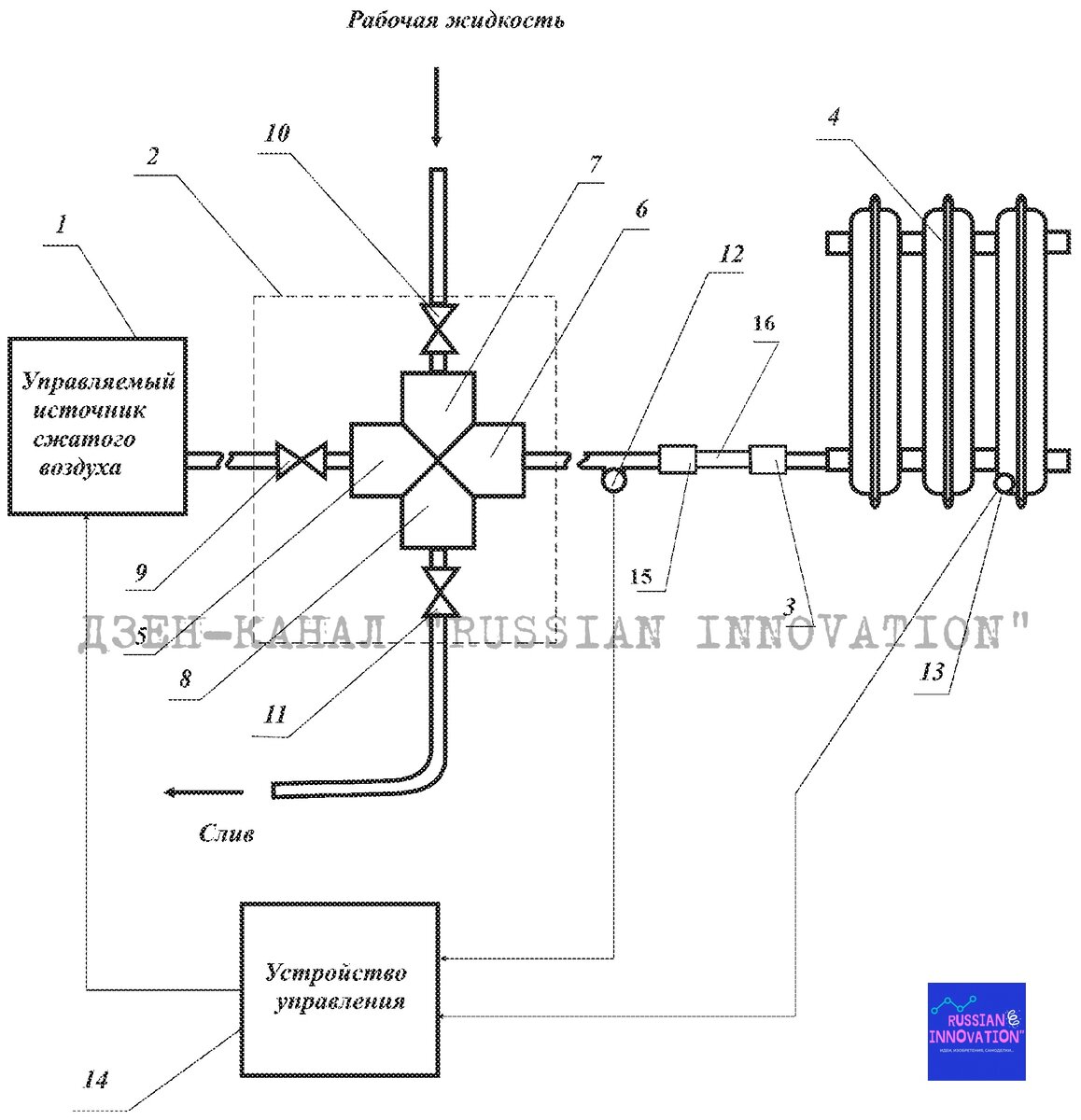
Вот как, согласно патентной документации, выглядит схематически запатентованная технология очистки:

© Шаршапин Юрий Иванович, ПМ - 189125.
© Шаршапин Юрий Иванович, ПМ - 189125.
Предлагаемая технология очистки трубопровода включает в себя несколько этапов. Прежде всего, производят слив рабочей жидкости из системы отопления, а затем систему заполняют чистой водой.
На наружной части трубопровода, либо радиатора, закрепляют датчик-толщиномер (см. поз. 13 на схеме), который определяет толщину трубопровода, либо радиатора, с учетом слоя имеющихся отложений.
Далее, к системе подключают источник сжатого воздуха (см. поз. 1 на схеме) и осуществляют ударное воздействие сжатым воздухом с последующим сливом загрязнений через сливной патрубок.

Процедуру повторяют несколько раз, в зависимости от уровня загрязнения системы, отслеживая результат степени очистки по показаниям датчика-толщиномера.

При этом, характеристики ударного воздействия отслеживаются при помощи датчика давления (см. поз. 12 на схеме).

По утверждению автора полезной модели, ударная волна способна легко преодолевать до 60 метров (по спиралям), не теряя своей силы.
При этом, опытным путем было установлено, что импульс с давлением в 6-7 атмосфер снимает до 0,2-0,3 мм отложений, а увеличение давления до 8-10 атмосфер позволяет снять отложения толщиной до 0,5 мм.

По-моему, очень дельная разработка получилась у Юрия Ивановича. Обязательно попробую протестировать ее в условиях своей домашней отопительной системы.

А как на ваш взгляд?

Ознакомиться подробнее с техническими характеристиками данной полезной модели вы можете здесь.

Спасибо за лайк и подписку на канал!

#отопление #полезные советы #своими руками #деревни #ремонт