Найти в Дзене
Сварка

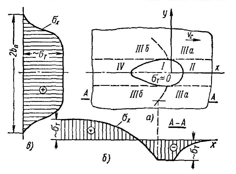
Образование напряжений при однопроходной сварке встык

Единого метода определения сварочных напряжений из-за сложности явления в настоящее время не существует. Остановимся вначале на физической стороне процесса образования напряжений при однопроходной сварке встык. При сварке пластин встык обычно действуют двухосные напряжения. Лишь при сварке металла, толщина которого соизмерима с шириной зоны нагрева, где σT = 0, образуются заметные напряжения σx по толщине. Зону I, очерченную на рис. 1,а изотермой, соответствующей σT = 0, можно считать в первом приближении свободной от напряжений. Из этого утверждения, однако, вовсе не следует, что термомеханические процессы в этой зоне не представляют интереса. Возникающие деформации металла в этой зоне, помимо влияния на структуру, могут вызвать его разрушение и появление горячих трещин. Часть зоны II, прилегающая к зоне I, характеризуется наличием значительных поперечных сжимающих напряжений σy. Здесь происходят пластические деформации металла. В зоне IIIа, испытывающей нагрев при движении ис

Единого метода определения сварочных напряжений из-за сложности явления в настоящее время не существует.

Остановимся вначале на физической стороне процесса образования напряжений при однопроходной сварке встык. При сварке пластин встык обычно действуют двухосные напряжения. Лишь при сварке металла, толщина которого соизмерима с шириной зоны нагрева, где σT = 0, образуются заметные напряжения σx по толщине. Зону I, очерченную на рис. 1,а изотермой, соответствующей σT = 0, можно считать в первом приближении свободной от напряжений. Из этого утверждения, однако, вовсе не следует, что термомеханические процессы в этой зоне не представляют интереса. Возникающие деформации металла в этой зоне, помимо влияния на структуру, могут вызвать его разрушение и появление горячих трещин.

Часть зоны II, прилегающая к зоне I, характеризуется наличием значительных поперечных сжимающих напряжений σy. Здесь происходят пластические деформации металла. В зоне IIIа, испытывающей нагрев при движении источника тепла, нарастают сжимающие напряжения σx и σy причем вблизи зоны I напряжения σy незначительны. Нарастание сжимающих напряжений σx с протеканием пластических деформаций укорочения сменяется на границе зон IIIа и IIIб спадом сжимающих напряжений, а затем и переходом их по мере остывания металла в растягивающие напряжения. По границе зон I u IV напряжения близки к нулю, а в зоне IV σx и σy оказываются растягивающими.

По мере удаления источника в зоне шириной 2bn где происходили пластические деформации, возникают остаточные растягивающие напряжения σx. В металле за пределами зоны пластических деформаций 2bn при большой ширине пластины напряжения оказываются близкими к нулю.

Отсутствие напряжений σy в зонах IIIа и IIIб вблизи зоны I дало повод ряду исследователей не без оснований рассматривать сварочные напряжения в этом случае как одноосные. На этой предпосылке и основано несколько методов определения одноосных напряжений при сварке встык.

Рис. 1. Схема образования напряжений σx при однопроходной сварке пластин встык: а – зоны в пластине при движении температурного поля; б – временные напряжения σx в сечении А – А; в – остаточные продольные напряжения σx в поперечном сечении пластины
Рис. 1. Схема образования напряжений σx при однопроходной сварке пластин встык: а – зоны в пластине при движении температурного поля; б – временные напряжения σx в сечении А – А; в – остаточные продольные напряжения σx в поперечном сечении пластины

Оргинал