Найти в Дзене
Войти
1,0×
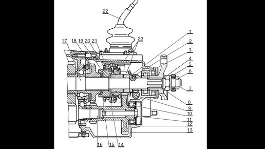
Проект "проХлада". 21 серия. Что такое "разорваный пакет" в КПП классика/Нива
547 просмотров · 4 года назад
00:00
/
09:48
Канал "Безнадежность и Жигули"
1959 подписчиков
Подписаться
556724034.933.1776805052431.56097