Найти в Дзене
К174УН7

К174УН7

Здесь собраны статьи и видео с описанием микросхемы и статьи от том, как уменьшить искажения.
подборка · 5 материалов
987 читали · 3 месяца назад
4. Усилитель 12 Вт на К174УН7 и транзисторах.
В предыдущих статьях были описаны способы снижения искажений в усилителе на микросхеме К174УН7: https://dzen.ru/a/aLcjnEux6ALTlzuM?share_to=link и https://dzen.ru/a/aMb-Y9f1yTj8IPcV?share_to=link . В первой способ с использованием внешних выходных транзисторов, во второй способ снижения искажений путем изменения режима работы входных транзисторов. И, конечно же, у читателей и у меня возникли вопросы: можно ли совместить оба способа и тем самым еще снизить искажения, и можно ли поднять мощность...
513 читали · 3 месяца назад
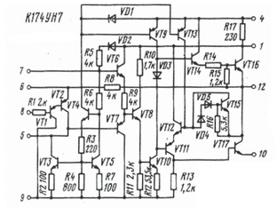
1. Микросхема К174УН7. Внутреннее устройство.
Микросхема К174УН7 была очень популярна в 80-е и 90-е годы и до сих пор вызывает интерес у радиолюбителей. Цель этой статьи разобраться во внутреннем устройстве микросхемы, каковы особенности построения схемы. Какие можно внести внешние изменения и дополнения для улучшения параметров усилителя. Изменения и улучшения будут рассмотрены в последующих статьях, ссылки на них в конце этой статьи. В этой статье рассмотрим внутреннюю схему микросхемы. На рисунке 1 представлена внутренняя схема ИМС с элементами внешней обвязки - типовая схема включения...
778 читали · 4 месяца назад
2. Микросхема К174УН7. Еще один способ снижения искажений.
С момента применения микросхемы К174УН7 умы инженеров, конструкторов и радиолюбителей не покидала мысль о снижении искажений усилителя, собранного на ней. В журналах, а затем в сети Интернет предлагались и предлагаются различные варианты решения этой проблемы. Такие, как замена цепи вольтодобавки генератором тока, увеличение резистора смещения на входе, увеличение глубины ООС с добавлением дополнительного каскада, добавление внешних выходных транзисторов, перевод схемы в режим инвертирующего усилителя с одновременным увеличением глубины ООС...
1819 читали · 4 месяца назад
3. Доработка усилителя на К174УН7 с малыми искажениями.
Уникальный способ снижения искажений в усилителе на микросхеме К174УН7. Так называется видео, в котором автор рассказывает о своем способе снижения искажений путем добавления внешних выходных транзисторов, уменьшив тем самым нагрузку самой микросхемы: Заинтересовало. Я собрал этот усилитель. Uпит = 15В, Rн=4 Ом. Действительно, коэффициент гармоник оказался довольно низким: 0,017...0,15%! В диапазоне изменения выходного напряжения от 0,2 В до начала ограничения. Для сравнения, в типовой схеме включения в этих условиях коэффициент гармоник составляет от 0,4% до 0,8%...