Почему образуются ПОЛЗУНЫ на колёсных парах! Вагонник. Железная дорога.
Вагонная колесная пара
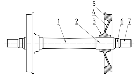
Итак, дорогие читатели, здравствуйте! Сегодня, как вы догадались, речь пойдет о колесной паре грузовых и пассажирских вагонов, эксплуатируемых на путях колеи 1520 мм. Являясь одним из самых важных узлов вагона– колесная пара, несмотря на свою внешнюю простоту, заслуживает особого внимания и детального подхода к её изучению. Колесная пара состоит из: 1. Ось. 2. Два цельнокатаных колеса. 3. Двух комплектов подшипников. Для того, что бы сформировать готовую к установке под вагон колесную пару используют прессовую установку...
Основные виды и типы колесных пар грузовых вагонов.
колесная пара
Привет друзья сегодня мы рассмотрим с Вами основыне виды и типы колесных пар грузовых вагонов.
Назначение: Колѐсные пары несут на себе массу всего вагона, направляют его движение по рельсовому...