Топ, который поднимает не только грудь, но и самооценку 📈 - Лучшая модель для большой груди - гасит колебания до 95% - Размеры от XS до 7XL (подойдёт до 6 размера) ✅ Артикул вб 184993083
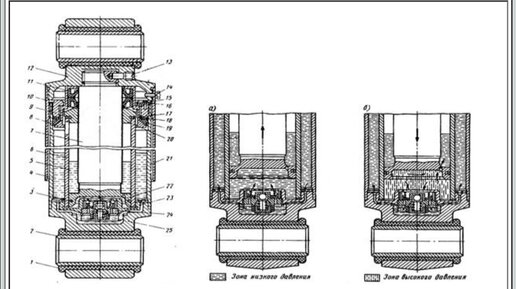
Гидрогаситель колебаний. Электровоз ВЛ-80Р
Гидрогаситель колебаний, служит для передачи поперечных усилий от рамы кузова на раму тележки.
Гидравлический гаситель состоит из корпуса, в котором расположены целиндр с поршнем и со штоком
Шток крепится...