1355 читали · 6 лет назад
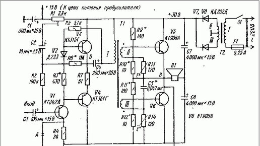
Транзисторный усилитель с согласующим трансформатором (20 Вт)
У этого усилителя есть интересная особенность: в нем применен трансформатор, согласующий выходной каскад и предоконечный. Это позволило при небольшом количестве деталей получить высокую стабильность работы усилителя, избавило от необходимости защиты оконечного каскада от короткого замыкания в нагрузке. В оконечном каскаде усилителя можно использовать транзисторы со сравнительно небольшим (равным напряжению питания) предельным напряжением между эмиттером и коллектором. Основные характеристики этого...
15,6 тыс читали · 4 года назад
Особенности трансформаторов на ферритовых кольцах.
Понадобился мне тут широкополосный симметрирующий трансформатор для балансного смесителя.Я его, конечно, сделал и хочу поделиться своим опытом. Если уж в НЧ технике приходиться ухищряться при изготовлении трансформаторов, то, наверное, для изготовления ВЧ трансформатора с полосой 1 - 30 МГц все гораздо сложнее. Оказалось, что это все не совсем так. Обратился я к очень хорошей книге "Справочник радиолюбителя - коротковолновика." С.Г Бунин и Л.П. Яйленко, издательство Наука, Киев, 1984 г (http://www...