305 читали · 1 день назад
Связной КВ-приемник: взгляд из начала 60-х.
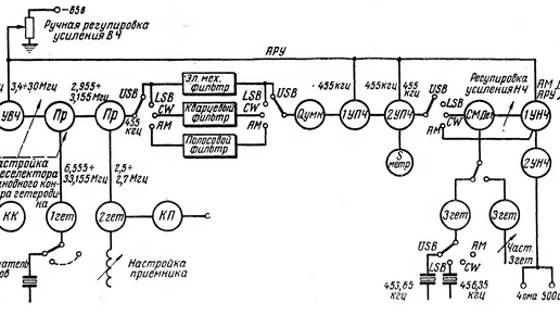
В журнале Радио №12 а 1963 год была помещена статья А. Портнягина (UA9CC) о требованиях, предъявляемых к современному (на тот момент) радиолюбительскому КВ-приемнику. Как пишет в начале статьи автор, наиболее распространенной к тому времени структурой построения ламповых приемников был такой: Два резонансных каскада УВЧ, перестраиваемые синхронно с гетеродином, обеспечивали избирательность по зеркальному каналу. Избирательность по соседнему каналу обеспечивал кварцевый фильтр или ЭМФ. Затем - два...
8811 читали · 3 года назад
Что такое Hi-Res аудио и стоит ли тратить на это деньги
Вам, наверное, говорили, что чем больше, тем лучше, и что 24-битный звук лучше, чем 16-битный. Но с большой долей вероятности вы не понимали, о чем речь и что означают эти цифры. Большинство людей максимум знают, что есть MP3 с битрейтом 192 или, например, 320. И то, это не так понятно, как просто музыка в Apple Music или Яндекс Музыке. На самом деле разобраться в вопросе не так сложно, как кажется. Давайте попробуем понять, что такое звук высокого разрешения и лучше ли он, чем другие виды звука?...