Оптический Лазерный ДАЛЬНОМЕР - ProTap для измерения Расстояния в 1000 Метров и замера СКОРОСТИ !
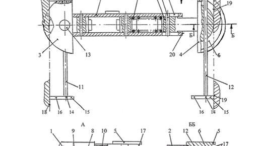
Инструмент для измерения расстояния между направляющими лифта
В трудовой книжке нашего механика есть строка, в которой сказано: «Токарь – карусельщик …». Известно, что на карусельных станках точат детали немалого диаметра. Ему приходилось растачивать шестерни наружным диаметром до двух метров, при этом диаметр под вал достигал 200 – 300 мм. Каким мерительным инструментом пользовался. Наружный диаметр измеряется штангенциркулем, а внутренний – нутромером, его называют «Штихмас». Спустя несколько лет, он пришёл к нам на предприятие уже в качестве Механика, ответственного за техническое обслуживание и ремонт лифтового хозяйства...