11,9 тыс читали · 3 года назад
Схемы, способы и методы переделки старых советских радиоприемников на диапазон FM
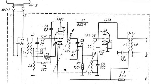
Добрый день дорогие друзья. У многих из Вас имеются в наличие (или есть желание приобрести) старые советские радиоприемники и они лежат без дела, так как слушать на них нечего. И сегодня мы начнем цикл статей, как переделать такие приемники на диапазон FM. Методов переделки существует великое множество, и давайте начнем рассматривать от самых простых к более сложным. В СССР начиная с второй половины 50-х годов и до первой половины 80-х было выпущено большое количество различных ламповых радиоприемников с УКВ диапазоном, выполненных на основе встраиваемого однолампового УКВ блока...
11,6 тыс читали · 3 года назад
Самый простой ламповый сверхрегенеративный FM радиоприемник с низковольтным питанием.
Добрый день дорогие друзья. Недавно на моем канале вышла публикация Пробуем собрать китайский DIY Kit супер регенеративный FM ламповый радиоприемник на советских лампах и мы разработали схему по параметрам аналогичную китайскому радиоприемнику на лампе 6Ж3П. Перед тем как читать эту публикацию, рекомендую ознакомиться с этой статьей. Но у этой схемы есть существенный, это высокое анодное напряжение и требуется питание от электрической сети 220В, что для начинающих и малоопытных радиолюбителей не совсем приемлемо...