Типы данных в JavaScript. Разбор примитивных типов в js. Курс обучение js с нуля
Что такое URL? Из чего состоит URL и почему это необходимо знать тестировщикам?
Прошлая часть: Что такое интерфейс и что такое API И снова здравствуйте. Если вы до сих пор читаете мои статьи (весь этот поток сознания) - большое спасибо. А теперь - погнали к следующей теме.
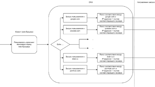
В предыдущих главах мы разобрались с интерфейсами и API. Теперь давайте перейдем к вопросу: «Как клиент и сервер находят друг друга в сети?». Для этого нам понадобится понять, что такое URL, из чего он состоит и какую роль играет в тестировании веб-приложений. Но прежде, чем перейти к понятию «URL» сначала введем понятие «ресурс», чтобы упростить объяснение темы...
Как сделать редирект на другой URL в JavaScript
Пользователя можно перенаправлять с одной веб-страницы на любую другую несколькими способами. - с помощью обновления мета-данных HTML. Перенаправления на стороне сервера. Например, используя файл .htaccess, PHP - с помощью перенаправления на стороне клиента через JavaScript. Для перенаправления на другой URL с помощью JavaScript используем window...