1846 читали · 6 лет назад
Автоматика. Усложняем задачу. Термостат.
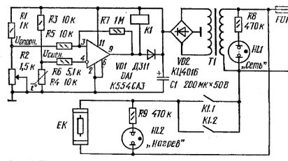
Продолжаю тему автоматики и автоматизации. В прошлый раз я разбирал простую задачу, которая сводилась в включению/выключению насоса по сигналам датчиков уровня. Как вы помните, там использование микроконтроллера не имело особого смысла. Сегодня рассмотрим более сложную задачу, которая таковой не кажется, на первый взгляд. Поговорим о регулировке температуры, то есть, о термостатах или терморегуляторах. По прежнему я буду рассчитывать на любителей и новичков объясняя суть методов и подходов. Казалось...
Что же за наука термодинамика? Кто ее основатель?
Что изучает данная наука? Виды и подразделы! Термодинамика- это наука занимающаяся изучением связи между теплотой, работой и изменением состояния тел. -есть 3 подраздела: Основателями данной науки стали...