Бензопила "Partner 350",замена топливных трубок своими руками
Ремонт карбюратора Partner 350/51
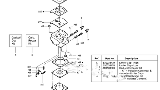
На сегодняшний день достаточна много владельцев Шведского творения бензопилы Partner 350-351. К нам часто обращаются с проблемой трудного запуска этой пилы, конечно вариантов много, и начинают с самого малого от свечи до фильтров и самые смелые добираются до карбюратора, о нем сегодня и поговорим!!! Вот собственно сам карбюратор,в нем нет встроенного праймера подкачки,так как в топливную магистраль он подсоединяется шлангами. Достаточно мелкая, но капризная деталь если не менять фильтр топливный...