Снятие и ремонт топливного бака Hyundai Sonata 4 тагаз, удаление клапана крышки бензобака.
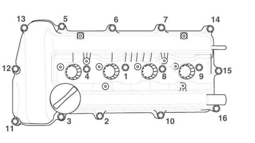
КЛАПАННАЯ КРЫШКА ГБЦ
Моменты затяжки — трепетная тема для машины.
Однажды один болт я уже сорвал и хотелось бы помочь тем, кто еще этого не знает.
Весь крепеж в машине должен затягиваться с определенным моментом, как это заложено заводом-изготовителем. После замены прокладки и обратном монтаже крышки стоит обратить внимание на то, что все ее болты крепления закручиваются с определенным момент и в определенном порядке для создания хорошей прижимки прокладки к блоку цилиндров. ⚠️ Закручивать болты слева направо, справа налево, сверху вниз и в любой произвольной последовательности НЕЛЬЗЯ, кто бы что не говорил...