Mitsubishi Pajero Sport, наш подход к подготовке поверхности перед установкой выпускного коллектора.
как менять колечки ну и подобное как обкатать и правильно обслужить
Симптомы, указывающие на износ поршневых колец Автомобиль стал больше расходовать топлива? Это один из первых симптомов, указывающих на то, что кольца износились и требуется их замена. Дело в том, что при износе поршневых колец снижается компрессия двигателя (Об этом подробнее написано ниже)...
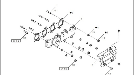
Выпускной коллектор HAVAL JOLION. Снятие/Установка выпускного коллектора HAVAL JOLION.
1. Отсоедините «отрицательный» провод от аккумуляторной батареи
2. Снимите турбокомпрессор
3. Снимите три болта и теплоизоляционный кожух выпускного коллектора 4. Ослабьте 8 гаек крепления выпускного коллектора, снимите 8 гаек крепления выпускного коллектора и 8 плоских шайб Гайки крепления выпускного коллектора при сборке необходимо заменить новыми.
Плоские шайбы при сборке необходимо заменить новыми. 5. Снимите выпускной коллектор
6. Снимите шайбы выпускного коллектора Шайбы выпускного коллектора при сборке необходимо заменить новыми...