06:44
1,0×
00:00/06:44
962,6 тыс смотрели · 4 года назад
1496 читали · 3 года назад
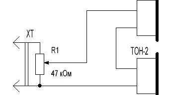
Самые популярные для детекторных радиоприемников высокоомные головные телефоны (наушники) ТОН-2
Добрый день дорогие друзья. На моем канале не так давно вышли две публикации «Современные детекторные радиоприемники» и Современные детекторные радиоприемники – DIY kit набор двухдиапазонного детекторного радиоприемника. Они широко обсуждались в комментариях, и многие мои читатели изъявили желание попробовать повторить описанные мной конструкции детекторных радиоприемников. Но к сожалению у них есть сдерживающий фактор, отсутствие в наличие высокоомных головных телефонов (наушников). А так ли на самом деле это большая проблема об этом мы сегодня и поговорим...