Добавить в корзинуПозвонить
Найти в Дзене

Всё о рабочем цилиндре сцепления и почему MetalPart — выбор профессионалов

Современный автомобиль — это симбиоз механики и гидравлики. И если водитель нажимает педаль сцепления, а передачи включаются мягко и чётко, значит, гидравлический привод работает как часы. Но что происходит в тот момент, когда ваша нога утапливает педаль? Давайте заглянем внутрь системы и разберёмся, какую роль в этом процессе играет скромный, но жизненно важный элемент — рабочий цилиндр сцепления (РЦС). В основе гидравлики лежит гениальная простота: жидкость не сжимается. Это свойство позволяет передавать усилие от педали к механизмам с минимальными потерями. Весь путь начинается с педали, которая давит на главный цилиндр. Тот создает давление в магистрали, и жидкость устремляется к рабочему цилиндру. Состав гидравлического привода сцепления включает: педаль сцепления, главный цилиндр, рабочий цилиндр, магистраль гидропривода и бачок с рабочей жидкостью. 1 – крышка; 2 – фильтр-сетка; 3 – бачок; 4 – гидротрубка; 5 – главный цилиндр привода сцепления; 6 – перепускное отверстие; 7 – комп
Оглавление

Современный автомобиль — это симбиоз механики и гидравлики. И если водитель нажимает педаль сцепления, а передачи включаются мягко и чётко, значит, гидравлический привод работает как часы. Но что происходит в тот момент, когда ваша нога утапливает педаль? Давайте заглянем внутрь системы и разберёмся, какую роль в этом процессе играет скромный, но жизненно важный элемент — рабочий цилиндр сцепления (РЦС).

Анатомия привода: от педали до вилки

В основе гидравлики лежит гениальная простота: жидкость не сжимается. Это свойство позволяет передавать усилие от педали к механизмам с минимальными потерями. Весь путь начинается с педали, которая давит на главный цилиндр. Тот создает давление в магистрали, и жидкость устремляется к рабочему цилиндру.

Состав гидравлического привода сцепления включает: педаль сцепления, главный цилиндр, рабочий цилиндр, магистраль гидропривода и бачок с рабочей жидкостью.

1 – крышка; 2 – фильтр-сетка; 3 – бачок; 4 – гидротрубка; 5 – главный цилиндр привода сцепления; 6 – перепускное отверстие; 7 – компенсационное отверстие; 8 – шайба; 9,18,21,26 – пружины; 10 – внутренняя манжета; 11 – штуцер; 12 – поршень главного цилиндра; 13 – наружная манжета; 14 – защитный колпак; 15 – толкатель главного цилиндра; 16 – ось педали; 17 – вилка; 19 – педаль; 20 – муфта; 22 – шаровая опора; 23 – вилка выключения сцепления; 24 – гидрошланг; 25 – рабочий цилиндр; 27 – колпачок; 28 – перепускной клапан; 29 – манжета; 30 – поршень рабочего цилиндра; 31 – толкатель; 32 – колпак; 33 – контргайка; 34 – ввертная часть толкателя

Рабочий цилиндр — это исполнительный механизм. Он крепится прямо на картере сцепления и принимает гидравлический «удар» на себя. Внутри корпуса скрывается поршень с резиновой манжетой. Под давлением жидкости поршень приходит в движение и выталкивает наружу толкатель. Этот толкатель давит на вилку, а та, в свою очередь, — на выжимной подшипник. Сцепление выключается.

Конструкция цилиндра продумана до мелочей:

-2

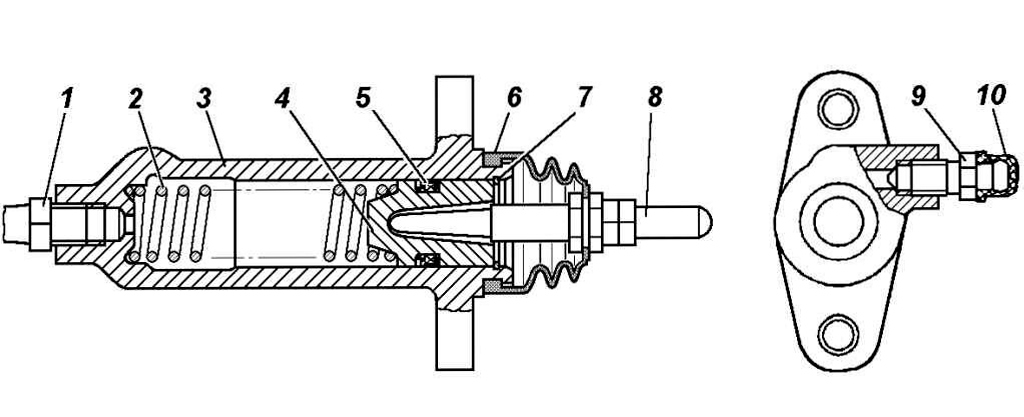
Рабочий цилиндр выключения сцепления:
1 – шланг; 2 – пружина поршня; 3 – корпус цилиндра; 4 – поршень; 5 – манжета уплотнительная; 6 – колпак защитный; 7 – кольцо стопорное; 8 – толкатель поршня; 9 – клапан перепускной; 10 – колпачок защитный

  • Корпус (3) — основа, принимающая на себя основные нагрузки.
  • Поршень (4) с манжетой (5) — сердце цилиндра, отвечающее за герметичность и передачу усилия.
  • Толкатель (8) — мост между гидравликой и механикой вилки. Часто имеет регулировку по длине.
  • Перепускной клапан (9) — «кровеносная система» для удаления воздуха (прокачки).
  • Защитный чехол (6) — оберегает внутренности от грязи и влаги.

Когда стоит бить тревогу?

Гидропривод не вечен, и о проблемах он сообщает довольно явно. Вот несколько симптомов, которые нельзя игнорировать:

  • Провал педали. Если педаль стала мягкой или проваливается, в системе появился воздух. Часто это следствие подсоса воздуха через треснувшие шланги или падения уровня жидкости.
  • Течь. Упал уровень в бачке? Ищите лужицу под машиной или мокрые разводы на цилиндре. Изношенные манжеты или поврежденные трубки требуют немедленного вмешательства.
  • Трудности с переключением передач. Передачи включаются с хрустом или не включаются вовсе? Вероятно, цилиндр не может до конца выжать сцепление.
  • Значительное снижение уровня в бачке. Если соединительные трубки целы, то причина может быть в изношенных манжетах или неисправности поршня в главном или рабочем цилиндре.
  • Периодические провалы педали при нажатии. Это сигнализирует о наличии воздуха в системе (бывает при треснувших шлангах или падении уровня жидкости).

При наличии этих признаков следует проверить все составляющие привода сцепления, произвести диагностику и последующий ремонт или замену вышедших из строя деталей.

Ремонт или замена?

При провалах педали сцепления, чтобы избежать необоснованной разборки цилиндра, стоит изначально прокачать систему и выгнать оттуда воздух, который мог попасть при снижении жидкости в бачке ниже минимально допустимого уровня. Если это не помогло, стоит приступать к ремонту.

Для этого случая в продаже есть ремкомплект рабочего цилиндра сцепления.

-3

Разборка РЦС:

  1. Снимите с рабочего цилиндра резиновый защитный колпак (6) и выньте толкатель (8) вместе с колпаком.
  2. Снимите колпак с толкателя.
  3. Снимите стопорное кольцо (7).
  4. Выньте поршень (4) с уплотнительной манжетой (5) и пружину (2) из корпуса цилиндра. Во избежание повреждения поршня и манжеты подведите сжатый воздух к отверстию для шланга.
  5. Снимите с поршня уплотнительную манжету (5).
  6. Выверните перепускной клапан (9) и снимите с клапана защитный колпачок.

Детали гидропривода тщательно промойте в тормозной жидкости или спирте, продуйте сжатым воздухом и осмотрите.

Полезные советы при ремонте:

  • При ремонте цилиндра можно полностью не удалять жидкость из гидропривода (достаточно пережать шланг).
  • Не рекомендуется промывать детали в керосине, дизельном топливе или бензине — после этого могут разбухнуть манжеты. Оптимальный вариант для промывки – тормозная жидкость.
  • Перед сборкой надо смазать все детали тормозной жидкостью.

Дефектовка РЦС:
Все резиновые уплотнительные манжеты должны быть мягкими и эластичными. Затвердевшие, разбухшие или с вырывами и трещинами на рабочих поверхностях манжеты замените.

На зеркалах рабочего и главного цилиндров не должно быть рисок, раковин, задиров и значительного износа. Небольшие следы коррозии и незначительный износ допускается устранять шлифованием или хонингованием до диаметра не более 25,15 мм для рабочего цилиндра и 22,2 мм – для главного цилиндра при обязательном применении только новых манжет.

Если найдены неисправности, которые невозможно устранить находящимися в ремонтном комплекте запчастями, нужна полная замена рабочего цилиндра сцепления.

Прокачка гидропривода выключения сцепления

После ремонта или замены цилиндра необходимо заполнить привод жидкостью и прокачать его для удаления воздуха:

  1. Поднимите капот и отверните крышку бачка главного цилиндра.
  2. Заполните бачок рабочей жидкостью до нормального уровня (на 15–20 мм ниже верхней кромки бачка).
  3. Снимите защитный колпачок с головки перепускного клапана рабочего цилиндра и наденьте на головку резиновый шланг.
  4. Погрузите свободный конец шланга в прозрачный сосуд емкостью не менее 0,5 л, заполненный на половину высоты рабочей жидкостью.
  5. Создайте в системе давление, резко нажав 4–5 раз с интервалом 1–2 с на педаль сцепления.
  6. Удерживая педаль, отверните на 1/2–3/4 оборота перепускной клапан, следя за тем, чтобы свободный конец шланга оставался погруженным в жидкость. В вытекающей из шланга жидкости будут видны пузырьки воздуха.
  7. Когда жидкость перестанет течь из шланга, полностью заверните перепускной клапан при нажатой педали сцепления.
  8. Следите за уровнем жидкости в бачке. Не допускайте во время прокачки понижение уровня до дна бачка, иначе в систему снова попадет воздух.
  9. Повторяйте операции 5–8 до тех пор, пока из шланга не прекратится вытекание жидкости с воздухом.
  10. Снимите с головки перепускного клапана шланг и наденьте защитный колпачок.
  11. Долейте жидкость в бачок до нормы. Нельзя доливать в бачок жидкость, выпущенную при прокачке, так как в ней содержится воздух. Эту жидкость можно использовать только после отстаивания в течение суток и фильтрации.

MetalPart: российский подход к надежности

На рынке запчастей для ГАЗ и УАЗ особое место занимает бренд MetalPart. Это не просто производитель-однодневка, а компания с 30-летней историей, прошедшая путь от небольшого КБ до современного производства с полным циклом. Сегодня MetalPart выпускает более тысячи наименований автокомпонентов, и цилиндры сцепления — одна из ключевых позиций.

-4

КЛЮЧЕВЫЕ ПРЕИМУЩЕСТВА ЦИЛИНДРОВ METALPART:

Износостойкость: манжеты изготовлены из композитного материала с использованием силикона для сохранения пластичности в условиях отрицательных температур и присадок для повышения устойчивости к воздействию агрессивной среды.

Увеличенный ресурс: хонингование внутренней рабочей поверхности цилиндра (нанесение микрорисок) удерживает масляную пленку для уменьшения трения и увеличения срока службы манжет.

Антифрикционное покрытие поршня: исключает повреждение внутренней рабочей поверхности цилиндра.

Корпус цилиндра: выполнен из модифицированного чугуна, обладает высокой прочностью.

MetalPart не пускает производство на самотек. Комплекты сцепления проходят проверку на стендах, где тестируется усилие выжима и передаваемый момент. Компания имеет сертификаты ISO 9001 и ISO/TS 16949, а в линейке есть даже серия PRO с улучшенными характеристиками и гарантией до трех лет.

Поэтому, выбирая рабочий цилиндр, стоит обратить внимание на продукцию MetalPart. Это шанс поставить на свой ГАЗ или УАЗ деталь, сделанную с пониманием местных условий эксплуатации, а не абстрактный "универсальный" аналог.

Хотите надежности? Выбирайте цилиндры METALPART в нашем каталоге:

Цилиндры выключения сцепления — Купить для ГАЗ и УАЗ, цены в Metalpart.ru