Найти в Дзене

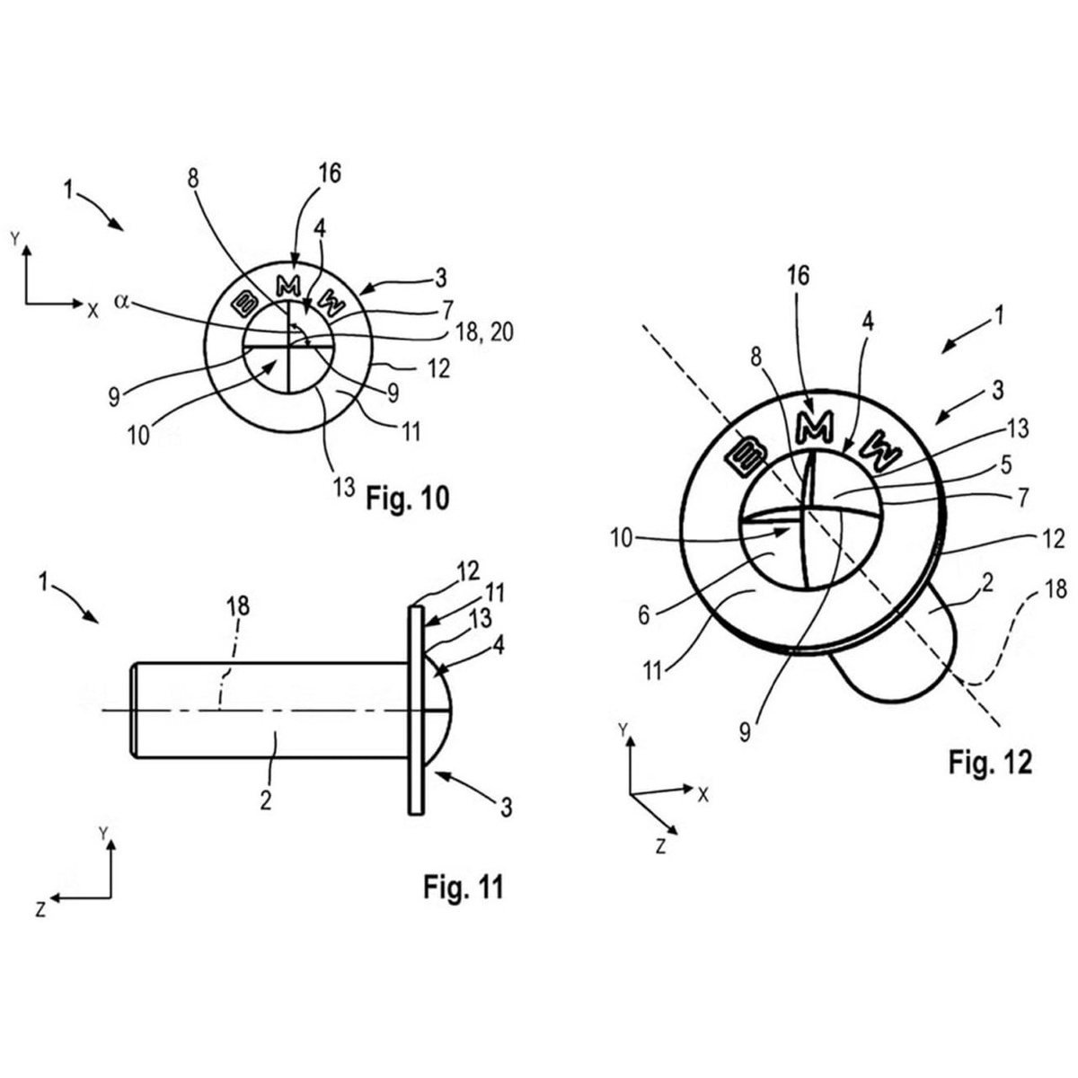
Компания запатентовала винты с головкой в форме логотипа BMW — открутить их можно будет только специнструментом у официальных дилеров

Обычные ключи не подойдут Под такие крепления попадут салон, сиденья и важные элементы кузова. В итоге обычные автосервисы не смогут помочь. ____ 📢 Подписывайся 👉 Канал | Аварийка LIVE | ДТП и ЧП России 💬 Общайся 👉 Чат | Обсуждения и новости ДТП

Компания запатентовала винты с головкой в форме логотипа BMW — открутить их можно будет только специнструментом у официальных дилеров. Обычные ключи не подойдут

Под такие крепления попадут салон, сиденья и важные элементы кузова. В итоге обычные автосервисы не смогут помочь.

____

📢 Подписывайся 👉 Канал | Аварийка LIVE | ДТП и ЧП России

💬 Общайся 👉 Чат | Обсуждения и новости ДТП

-2