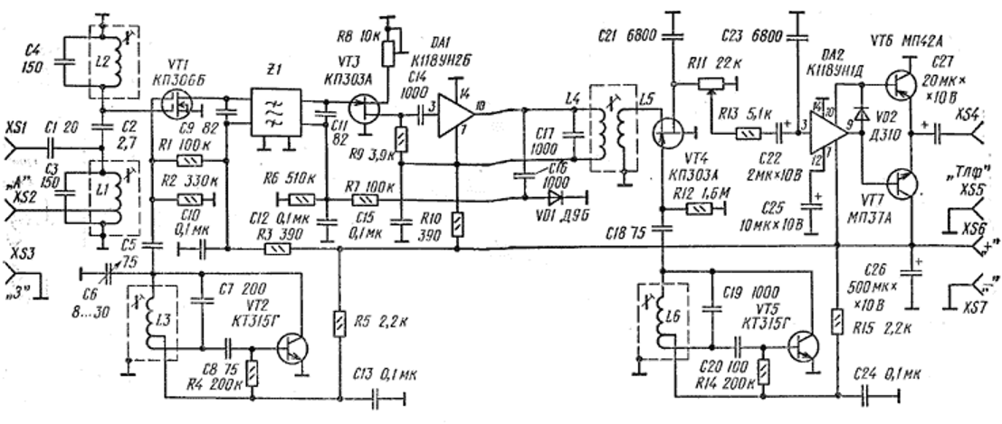
Хочу вас познакомить с приемником конструкции Владимира Тимофеевича Полякова. И это не любимые им приемники прямого преобразования, а вполне себе супергетеродин. Статья об этом приемнике была напечатана в сборнике ВРЛ №100. Выпуск ВРЛ вышел 1988 году, а за 10 лет до этого радиолюбителям вернули диапазон 160 м. Так как на этом диапазоне была разрешена работа АМ, то туда переместилась часть "свободных" любителей. Но связь АМ даже при наличии хорошей антенны по большей части местная. А вот использование SSB делало ее дальнобойной, не говоря уже о CW. Поэтому Владимир Тимофеевич предлагает читателям новую разработку приемника, рассчитанного на работу именно в диапазоне 160 м. Приемник прост по схеме, но имеет достаточно высокие параметры: чувствительность несколько микровольт, а избирательность - более 60 дБ, что объясняется использованием ЭМФ. Если схема проста, то вот используемая элементная база ... Правда, в Москве можно было купить и полевики, и ЭМФ - это был уже конец 80-х. В мага
Конструкции В.Т. Полякова. "Любительский радиоприемник на 160 метров."
13 марта13 мар
898
2 мин
