Добавить в корзинуПозвонить
Найти в Дзене
DigiNews

Walmart получила патенты на изменение цен с помощью «AI»

Walmart получила патенты на ИИ для ценообразования, вызвав опасения по поводу «ценового надзора». Ритейлер отрицает, что занимается динамическим ценообразованием. — gizmodo.com Недавно Управление по патентам и товарным знакам США (USPTO) выдало компании Walmart патенты на инструменты искусственного интеллекта (ИИ), помогающие принимать решения о ценообразовании. Эти патенты привлекли внимание в социальных сетях на этой неделе, поскольку потребители обеспокоены будущим динамического ценообразования и так называемого «ценового надзора» — практики взимания с людей разных цен за одни и те же товары и услуги на основе их уникальных характеристик. Один из новых патентов, US-12524776-B2, включает способы «динамического и автоматического обновления цен на товары» на платформах электронной коммерции. В патентной заявке поясняется, что она объединяет данные об эластичности спроса и прогнозируемый спрос на данный товар, после чего алгоритм генерирует «первую цену со скидкой». Когда данные об элас

Walmart получила патенты на ИИ для ценообразования, вызвав опасения по поводу «ценового надзора». Ритейлер отрицает, что занимается динамическим ценообразованием. — gizmodo.com

Недавно Управление по патентам и товарным знакам США (USPTO) выдало компании Walmart патенты на инструменты искусственного интеллекта (ИИ), помогающие принимать решения о ценообразовании. Эти патенты привлекли внимание в социальных сетях на этой неделе, поскольку потребители обеспокоены будущим динамического ценообразования и так называемого «ценового надзора» — практики взимания с людей разных цен за одни и те же товары и услуги на основе их уникальных характеристик.

Один из новых патентов, US-12524776-B2, включает способы «динамического и автоматического обновления цен на товары» на платформах электронной коммерции. В патентной заявке поясняется, что она объединяет данные об эластичности спроса и прогнозируемый спрос на данный товар, после чего алгоритм генерирует «первую цену со скидкой».

Когда данные об эластичности спроса и прогнозируемом спросе недоступны, система создает «ограниченную цену», которая позволяет выбрать диапазон для установки новой цены на платформе.

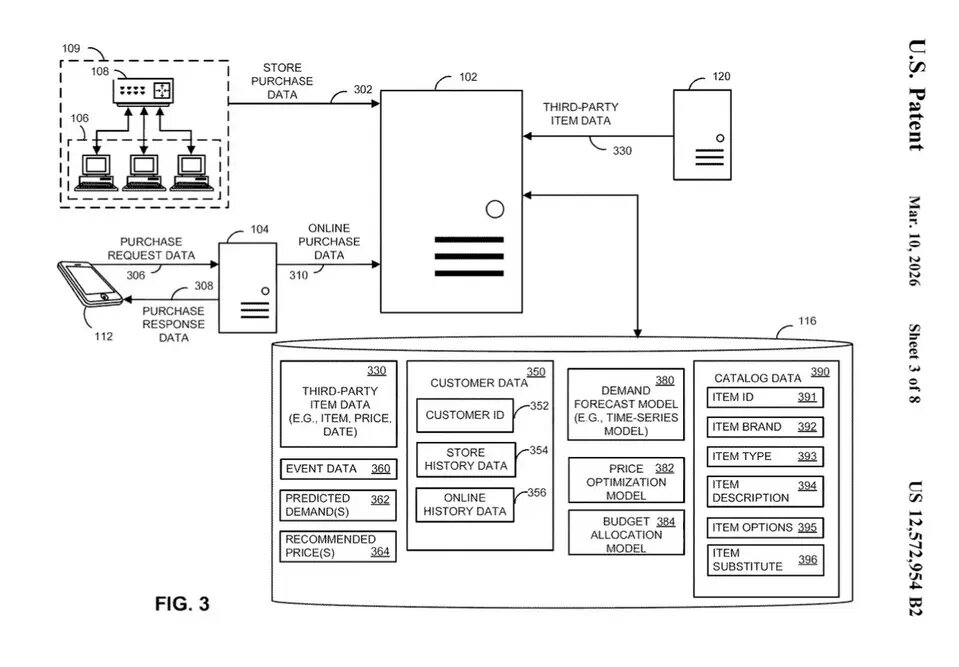
Другой патент, недавно выданный Walmart, US-12572954-B2, связан с использованием машинного обучения для прогнозирования спроса на различные товары и рекомендации цен. Схема в заявке даже показывает, что сторонние данные могут использоваться для определения цены — спорная практика, когда ее применяют другие компании, например, авиалинии для установления тарифов.

-2

Ранее в этом месяце Walmart объявила о внедрении цифровых ценников, которые позволяют компании быстро менять цены, которые видят потребители в магазинах, с целью использования этой технологии во всех точках Walmart к концу года.

Патенты, выданные Walmart, касаются электронной коммерции, а не физических магазинов, но легко представить, как инструменты ИИ могут быть использованы в будущем для мгновенного изменения цен на товары на основе множества факторов, таких как время суток или количество людей, находящихся в данном физическом магазине.

Walmart не ответила на вопросы Gizmodo, отправленные по электронной почте в четверг, но, похоже, заявила Financial Times, что патенты «не связаны с динамическим ценообразованием». Логика, насколько мы можем судить, заключается в том, что один из рассматриваемых патентов «был специфичен для скидок», возможно, пытаясь предположить, что цены будут только снижаться, хотя это неясно.

Другое утверждение заключалось в том, что другой патент был «разработан для принятия решений командами продавцов, а не технологией», по данным Financial Times, что кажется несущественным различием, когда речь идет о практической реализации этого в реальном мире.

Гипотетически, не имеет большого значения, получает ли менеджер магазина или кто-то в центральном офисе уведомление для окончательного утверждения корректировки цены. Это выглядит просто как хороший контроль качества в интересах Walmart, а не серьезная защита потребителей от быстрых изменений цен.

По меньшей мере дюжина штатов рассматривает законодательство о регулировании динамического ценообразования или ценового надзора в этом году, хотя Нью-Йорк — единственный штат, принявший закон по этой теме. Потребители должны быть уведомлены, когда для установления цены использовался алгоритм и личные данные, о чем подписчики Washington Post недавно получили электронное письмо.

Демократы внесли законопроекты и в Сенат, и в Палату представителей, которые запретят ценовой надзор в продуктовых магазинах, но маловероятно, что это законодательство пройдет, пока республиканцы контролируют Палату представителей, Сенат и Белый дом.

Всегда имейте в виду, что редакции могут придерживаться предвзятых взглядов в освещении новостей.

Автор – Matt Novak

Оригинал статьи