Найти в Дзене
Эпонимы и Мы

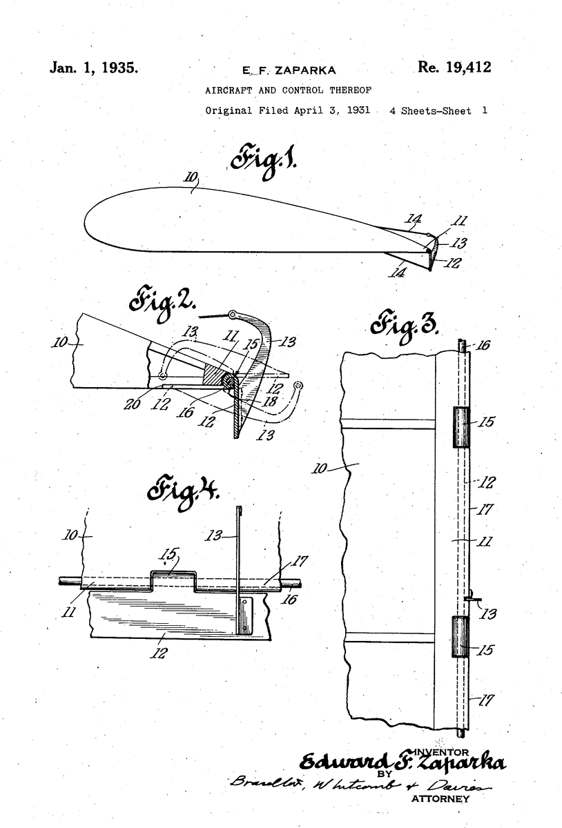
ЗАКРЫЛОК ГЕРНИ

Или ЗАКРЫЛОК ГЁРНИ, ЗАКРЫЛОК ГАРНИ. В 1935 году американский авиационный инженер и изобретатель Э.Ф.Запарка (больше о нём ничего не известно, даже полного имени) получил патент США RE19412 на «Аэродинамический профиль с изменяемой подъемной силой». Суть его изобретения сводилась к довольно неожиданному для обывателя и вполне обоснованному для специалиста выводу: оказывается, если в задней части аэродинамического профиля (например - крыла) разместить под прямым углом кромку, это не только не ухудшит, но, наоборот, заметно повысит производительность всей конструкции, позволив ей двигаться с ещё большей скоростью. Как отмечается в патенте, устройство работает за счет повышения давления на нагнетательной стороне, снижения давления на всасывающей стороне и удержания пограничного слоя на всасывающей стороне аэродинамического профиля вплоть до задней кромки. В дальнейшем это изобретение было применено "по прямому назначению", например, на вертикальных стабилизаторах вертолётов. Также подобн

Или ЗАКРЫЛОК ГЁРНИ, ЗАКРЫЛОК ГАРНИ.

В 1935 году американский авиационный инженер и изобретатель Э.Ф.Запарка (больше о нём ничего не известно, даже полного имени) получил патент США RE19412 на «Аэродинамический профиль с изменяемой подъемной силой».

Суть его изобретения сводилась к довольно неожиданному для обывателя и вполне обоснованному для специалиста выводу: оказывается, если в задней части аэродинамического профиля (например - крыла) разместить под прямым углом кромку, это не только не ухудшит, но, наоборот, заметно повысит производительность всей конструкции, позволив ей двигаться с ещё большей скоростью.

Как отмечается в патенте, устройство работает за счет повышения давления на нагнетательной стороне, снижения давления на всасывающей стороне и удержания пограничного слоя на всасывающей стороне аэродинамического профиля вплоть до задней кромки.

В дальнейшем это изобретение было применено "по прямому назначению", например, на вертикальных стабилизаторах вертолётов.

-2

Также подобные уголки встречаются у самолётов, которые буксируют воздушные змеи (что стоит за этим словосочетанием, интересно?) и пр.

Но наиболее массовое применение такой вот "утиный хвост" получил в автомобилестроении, при создании скоростных машин - болидов, а точнее - на их горизонтальных стабилизаторах.

И вот как раз здесь они получили собственное название - но не в честь Запарки, как можно было бы ожидать, а в честь пилота-автогонщика Дэна Герни.

-3

Изначально ЗАКРЫЛОК ГЕРНИ представлял собой прямоугольный кусок листового металла, жестко закрепленный на верхнем заднем крае заднего антикрыла гоночного автомобиля с открытыми колесами. Устройство было установлено под углом вверх, чтобы увеличить прижимную силу, создаваемую антикрылом, и улучшить сцепление с дорогой. И лишь потом оно приобрело более выраженную "аэродинамичность".

-4

В 1971 году Герни провёл полевые испытания и обнаружил, что эта система позволяет автомобилю проходить повороты на более высокой скорости, а также развивать большую скорость на прямых участках трассы.

После этого изделие стали ставить и на другие машины. Благо, что его можно было не только установить, но и изготовить буквально в течение часа.

К слову, сам эпоним ЗАКРЫЛОК ГЕРНИ появился, благодаря специалисту по аэродинамике и конструктору крыльев Бобу Либеку из Douglas Aircraft Company, который протестировал находку пилота болида и подтвердил: работает!

-5

В 1979 году он выступил с докладом "О проектировании дозвуковых аэродинамических профилей для большой подъемной силы" перед собранием коллег, и после этого ЗАКРЫЛОК ГЕНРИ стал упоминаться в серьёзной литературе.

А поскольку запатентовать то, что уже было запатентовано Э.Ф.Запаркой, по второму разу нельзя (хотя у некоторых почему-то получается), было принято решение использовать данное изобретение, без ссылки на первоисточник.

-6

Дэниел Секстон Гёрни, он же Дэн Гёрни (13 апреля 1931 - 14 января 2018) - американский автогонщик, инженер и руководитель автоспортивной команды, выступавший в Формуле-1 с 1959 по 1970 годы. Обладатель четырёх Гран-при этой гонки.

Родился в деревне Порт-Джефферсон, штат Нью-Йорк, в семье инженера, который потом внезапно переквалифицировался в певца, и пел бас-баритоном в Метрополитен-опера. С детства интересовался техникой, в 19 лет построил свой первый автомобиль и стал на нём гонять со скоростью 222 километра в час.

Во время Корейской войны он служил в Армии США в качестве механика-артиллериста. А потом, в 1957 году, принял участие в своей первой солидной гонке а Риверсайде и привлёк к себе внимание сильных мира сего.

Молодого человека пригласили поучаствовать в более серьёзных мероприятиях, и в 1959 году он подписал контракт с Ferrari.

Описывать его победы я тоже не буду, это интересно только профессионалам. А помимо ЗАКРЫЛКА ГЕРНИ он прославился ещё и тем, что стал первым гонщиком «Формулы-1», который надел шлем с полнолицевой маской.

Из любопытного.

1. Дед Дэна, которого звали каким-то американским именем на букву Ф, в 1905 году разработал радиально-упорные подшипники, в 1909 - радиальные типа R, а также дуплексные подшипники, и основал компанию Gurney. Изделия под этим брендом в Интернете встречаются до сих пор.

2. Победив на автомобиле Eagle-Weslake на Гран-при Бельгии 1967 года, Герни стал единственным в истории гонщиком, одержавшим первые победы на Гран-при за три разные команды: Porsche, Brabham и Anglo-American Racers. И таким знаменитым, что журнал Car and Driver даже начал всерьёз продвигать идею о том, чтобы этот джентльмен баллотировался на пост президента США. От этой идеи отказались только после того, как «выяснилось», что он слишком молод для участия в выборах.

Gurney Alligator
Gurney Alligator

3. Помимо увлечения автоспортом, Герни интересовался ещё и мотоциклами. Он разработал новый тип мотоцикла под названием "Аллигатор", с очень низким расположением сиденья. К сожалению, ни один крупный производитель так и не взялся за серийный выпуск этих байков, было создано всего 36 экземпляров, каждый их которых сегодня у коллекционеров на вес золота.

4. Герни обладал очень высоким ростом - 193 см, что для автогонщика вроде бы сильно противопоказано. Тем не менее, даже несмотря на свои внушительные габариты, он добился того, чего не смогли сделать его маломерные соперники. А всё благодаря ПУЗЫРЮ ГЕРНИ - специальному наплыву над водительским сиденьем, за которым прятался шлем гонщика. Изобрёл этот пузырь, правда, не он сам, а его мастер-сборщик Фил Ремингтон.

5. Герни особенно славился своим плавным стилем вождения. В редких случаях, например когда его машина отставала из-за незначительных технических неполадок и пилот чувствовал, что ему нечего терять, он отказывался от своей классической техники, перейдя на более агрессивный (и рискованный) стиль. Именно в такой ситуации, по мнению многих наблюдателей, он показал свой лучший результат в карьере: из-за проколотой шины отстал почти на два круга в середине гонки Куч Maus 300 Indycar, а потом совершил вдохновляющий рывок выиграл гонку.

6. Многим знакома традиция победителей автогонок обливать окружающих шампанским. Так вот, законодателем мод тут тоже стал Герни. После победы в Ле-Мане, стоя на подиуме, он взял бутылку шампанского, а потом, решив в шутливой форме сделать заявление журналистам, встряхнул её и направил на них струю шампанского. После чего окатил и остальных, чтобы не обидно было.