Добавить в корзинуПозвонить
Найти в Дзене
INcar: Автоновости

К спецвинту от BMW уже разработали «отвёртку»

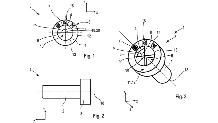
Ранее BMW запатентовала новый тип винта. Идея направлена на то, чтобы затруднить ремонт автомобилей в неавторизованных сервисах и направлять владельцев к дилерам. В Adafruit уже создали по патентным чертежам 3D-модель винта и подходящей отвёртки (биты) и распечатали их на принтере. Эксклюзивный крепёж вряд ли станет серьёзным барьером для сервисов и энтузиастов.

Ранее BMW запатентовала новый тип винта. Идея направлена на то, чтобы затруднить ремонт автомобилей в неавторизованных сервисах и направлять владельцев к дилерам.

-2
Головки винтов выполнены в форме эмблемы BMW с утопленными и выпуклыми секциями, из-за чего стандартные отвёртки для них не подходят.
Головки винтов выполнены в форме эмблемы BMW с утопленными и выпуклыми секциями, из-за чего стандартные отвёртки для них не подходят.

В Adafruit уже создали по патентным чертежам 3D-модель винта и подходящей отвёртки (биты) и распечатали их на принтере.

-4

Эксклюзивный крепёж вряд ли станет серьёзным барьером для сервисов и энтузиастов.