Добавить в корзинуПозвонить
Найти в Дзене
Инженерия

Газодинамические импульсные устройства.

Газодинамические импульсные устройства. Общим для всех пневмоимпульсных технологий является использование кратковременного ударно-волнового воздействия мощной импульсной струи воздуха, которая создаётся при помощи специальных пневмоимпульсных генераторов различной конструкции. Пневмогенератор в течение нескольких секунд заполняется сжатым воздухом, а затем за сотые доли секунды выбрасывает этот воздух в виде мощных импульсных струй. При этом обеспечивается огромный секундный расход воздуха и мощное разрушающее импульсное воздействие. Пневмоимпульсные технологии успешно используются на предприятиях энергетической, угольной и металлургической промышленности для очистки.Импульсные технологии являются более эффективными и экономичными по сравнению с другими, предназначенными для решения аналогичных задач. Основная экономическая целесообразность применения пневмоимпульсных технологий в задачах очистки состоит в устранении трудоемких дорогостоящих и зачастую опасных ручных операций, после че

Газодинамические импульсные устройства.

Общим для всех пневмоимпульсных технологий является использование кратковременного ударно-волнового воздействия мощной импульсной струи воздуха,

которая создаётся при помощи специальных пневмоимпульсных генераторов различной конструкции. Пневмогенератор в течение нескольких секунд заполняется сжатым воздухом, а затем за сотые доли секунды выбрасывает этот воздух в виде мощных импульсных струй. При этом обеспечивается огромный секундный расход воздуха и мощное разрушающее импульсное воздействие. Пневмоимпульсные технологии успешно используются на предприятиях энергетической, угольной и металлургической промышленности для очистки.Импульсные технологии являются более эффективными и экономичными по сравнению с другими, предназначенными для решения аналогичных задач. Основная экономическая целесообразность применения пневмоимпульсных технологий в задачах очистки состоит в устранении трудоемких дорогостоящих и зачастую опасных ручных операций, после чего становится возможным переход к реальной профилактике, что дает, в конце концов, существенное повышение эффективности использования постоянно действующего оборудования. Один из вариантов технологии, разработанный для очистки трубопроводов диаметром 50-300 мм, основан на использовании пневмогенератора диаметром 40 мм и длиной 350 мм. Питание генератора производится через гибкий шланг с внутренним диаметром 4-6 мм от баллона сжатого воздуха с давлением до 150 атм. Пневмогенератор срабатывает автоматически через 1-2 секунды и протягивается внутри трубопровода с помощью тросика диаметром 3-4 мм (см. рис. 2).

Практический опыт показал, что для очистки участка трубопровода длиной 50 м требовалась работа пневмогенератора в течение 10-15 минут при давлении воздуха 30-40 атм. Для очистки 100 м трубопровода расходовался один баллон сжатого воздуха. Использование предложенной пневмоимпульсной технологии для очистки труб показало ее высокую эффективность, экономическую целесообразность.

Задача очистки теплообменника или котловых труб решается с помощью пневмоимпульсного генератора, который выбрасывает в трубы, заполненный водой,

кратковременную струю сжатого воздуха. Внутри теплообменника или котла создается ударная волна, которая распространяется в жидкости и разрушает отложения.

Количество точек подачи воздушных струй, их ориентация и продолжительность процесса обработки определяются опытным путем в зависимости от конфигурации труб и прочностных характеристик отложений.

К примеру,для очистки отложений толщиной 2-5 мм в межтрубном пространстве теплообменника 800-ТНГ , использовались 9 патрубков диаметром 20 мм, приваренных к корпусу теплообменника. Через каждый патрубок производилось 10-15 выхлопов пневмогенератора с объемом накопительной камеры 1 дм при начальном давлении воздуха до 20 бар. Процесс очистки теплообменника занял 2 часа.

Накопленный опыт позволяет утверждать, что применение пневмоимпульсных технологий на основе надежных быстродействующих пневмоимпульсных устройств может привести к существенной модернизации известных технологических процессов или даже к появлению принципиально новых технологий.

Еще одно быстродействующее пневмоимпульсное устройство.

Предлагается для аварийных работ на газопроводах. использовать установку для работы автономного источника электроэнергии, действующего от перепада давления газа. Давление газа предполагалось получать на устройстве с  использованием взрывную смесь природного газа и воздуха. Аналогом для разработки подобной установки  может послужить установка Примова(а.с. SU 1083369 А).

Идеальным объектом, позволяющим сжимать газ, является ударная волна, протяженность которой составляет порядка нескольких длин свободного пробега молекул газа.

В детонационной волне, распространяющейся со скоростью 1500-2500 м/с, достигается максимальная концентрация химической энергии, запасенной в горючем (энергия выделяется в тонком слое ударно-сжатой смеси). Благодаря тому, что в детонационном двигателе сжигание топлива происходит

в ударных волнах примерно в 100 раз быстрее, чем при обычном медленном горении (дефлаграции), этот тип двигателя теоретически отличается рекордной мощностью, снимаемой с единицы объема, по сравнению со всеми другими типами тепловых двигателей. Помимо высокой удельной мощности детонационные двигатели потенциально имеют и другие существенные преимущества. Например, в ходе цикла

детонационного горения температура сгорания очень высокая. Процесс  быстрого горения имеет  наиболее привлекательный  термодинамический режим. Но скорость сгорания также очень большая и окислы азота не успевают образоваться, поэтому детонационные двигатели потенциально являются экологически чистыми.

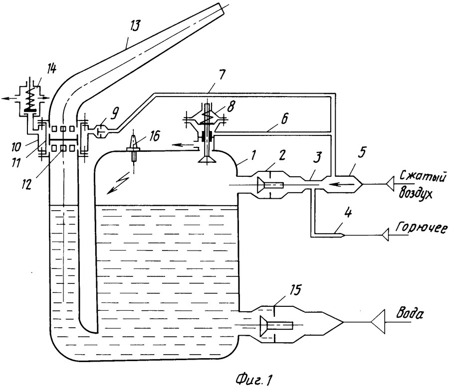
Я звонил Примову ,  рассказал ему где  собираются применить его принцип ,договаривались о совместных работах. Получалось совсем  здорово . Наша новая электростанция,созданная на основе использования перепада давления природного газа,  приобретала новые качества и области распространения, ей подходили теперь в качестве источника сжатого газа,  установки в которых использовался  природный газ и другие источники газообразного топлива ( биогаз, газогенераторы угарного газа СО, баллонный сжиженный газ,).Изобретатель пушки Примова был в восторге. Его пушка для полива приобретала качество источника давления газа для получения электрической энергии.  Это было предложено лет 30 назад. А сегодня мы читаем, что детонатоционные двигатели уже применяют в ракетной технике для гиперзвуковых скоростей. Высокопроизводительная  установка для создания высокого давления, используя химическую энергию взрывчатых веществ аналогична по своим основам изобретенному в начале  20 века насосу Хемфри(Гемфри). Англичанину Л.Н.Гемфри пришла мысль создать насос, в котором давление вспышки топлива непосредственно действовало на воду. В нем вода, подобно поршню ДВС, совершала возвратно-поступательное движение и сжимала смесь топлива с воздухом. Ее поджигали электрической искрой, и происходил взрыв. Насосы Гемфри обладали дешевизной, простотой и надежностью, но имели слишком большой расход топлива и поэтому не прижились. Кроме того  недостатком насоса Гемфри является относительно узкая область использования: подъем больших масс воды на небольшую высоту.  Насос Гемфри, являясь эффективным преобразователем энергии сжигания топлива, в основном, в потенциальную энергию подъема воды, не содержит в своей технологической цепочке преобразователя этой энергии в кинетическую энергию импульсных выбросов воды.

В начале 1980-х годов советский инженер Г.П. Примов раскрыл причину низкого КПД насосов Гемфри. Она заключалась в очень низкой степени сжатия горючей смеси. Из-за этого она при расширении отдавала в форме механической работы лишь незначительную часть своего тепла. Изобретатель понял, что повысить степень сжатия насоса Гемфри невозможно, и пошел иным путем. К прочному стальному баллону объемом около кубометра он присоединил необходимую арматуру и примерно на 6/7 наполнил его водой. В оставшуюся седьмую часть он закачал от обычного компрессора смесь воздуха и топлива под давлением 7 атм. После этого он при помощи свечи зажигания воспламенил эту смесь. Когда она сгорела, давление в баллоне поднялось до 30 атм, изобретатель открыл кран брандспойта, и из него вырвалась струя длиною около 1 км. Мощность ее примерно в 10 раз превышала мощность компрессора и составляла около 500 л.с.

Для того чтобы получить такую струю при помощи насосов, работающих от дизеля, понадобилась бы установка весом около 20 т. Бак Примова можно было увезти на небольшом грузовичке. Компрессор же был самый обыкновенный, который мы часто видим при ремонте дорог.

Это удивительное по своей простоте и оригинальности изобретение   вполне может стать основой целому направлению в создании совершенно новой техники. Я разговаривал с Г.П. Примовым по телефону в конце 80-х годов, он готов был демонстрировать свою установку тиражировать ее в виде дождевальной установки для полива посевов адырных земель  Республики Узбекистан. Мы говорили о перспективах этого принципа, скажем в направлении создания давления газа в больших объемах. Он дал высокую оценку этой идеи, хотя ранее он не   предполагал, что существует такая поблема. Топливом мог послужить газ из отработанных свой ресурс скважин, который экономически не выгодно перекачивать на большие расстояние в промышленные районы. Здесь как раз в пору очень вписывается применение биогазав качестве топлива , полученного в сельском хозяйстве и на крупных птицефабриках. Примов был в восторге от открывающейся перспективы применения его детища.  Для понятия принципа действия насоса для мощной дождевальной установки с выбросом струи длиною около 1 км. приводим ниже пример исполнения схемы аппарата.

-2

Мы подошли к рассмотрению изобретения Николая Шестеренко. Суть своего изобретения автор сам объяснил достаточно подробно (см. список источников).

Раз уж статья посвящена струйным энерготехнологиям, то для начала нужно вспомнить, что согласно закону Бернулли в потоке более низкое давление отмечается там, где скорость его при одинаковой высоте над Землей выше.

-3

Рис.1

На этом свойстве работает струйный насос (рис.1.), с помощью которого можно создать в емкости глубокий вакуум или распылять жидкость.

-4

Схема очень простая. Шестеренко взял и соединил герметично два сопла Лаваля, подобрав параметры так, что при эжекции воздуха в левое сопло, на выходе правого сопла

появляется заметный прирост мощности суммарного потока. Сам Шестеренко объясняет принцип работы своей установки очень просто. Воздух, закачиваемый в левое сопло,

увлекает окружающий воздух и постепенно смесь разгоняется от сечения 6 к сечению 3. Затем в сечении 8 смесь отрывается от стенок сопла и в виде цилиндрического потока

устремляется к стенкам правого сопла, где постепенно вновь разгоняется до сечения 4 и после выхода уже в расширяющуюся часть правого сопла поток имеет не только большую

массу, но и сверхзвуковую скорость.

И сразу же возникает вопрос, а за счет каких подарков от Природы удается получить столь значительный прирост мощности?

Причин две, а, возможно, три или четыре. Это, во-первых, захват начальным потоком значительной добавочной массы воздуха по той простой причине, что поток, имея с самого

начала заметную скорость по закону Бернулли, имеет также и давление внутри себя ниже, чем в окружающем воздухе. Поэтому окружающий воздух, устремляясь в зону пониженного давления, присоединяется к первоначальному воздушному потоку и вся эта масса влетает в левое сопло Лаваля.

Во-вторых, внутри соединенных сопел Лаваля появляется зона 11, в которой уровень давления оказывается ниже, чем снаружи насадка Шестеренко. Эта зона пониженного

давления, а проще говоря, вакуум, вакуумметрическое давление, оказавшаяся в своеобразной ловушке, из-за конструкции насадка и из-за постоянно движущегося потока воздуха слева направо, не только не разрушается, а наоборот, постоянно возобновляется потоком воздуха. И усиливает тягу, засасывая дополнительные объемы воздуха из атмосферы. Этот эффект сродни усилению тяги по мере усиления пожара. Чем сильнее горит, тем сильнее тяга гонит к очагу пожара новые порции кислорода.

Мало того, в-третьих, воздушный поток, взаимодействуя с воздухом в вакуумизированной зоне, формирует вокруг себя в вакуумной зоне вращающийся торовидный вихрь.

А это еще больше стабилизирует воздушный поток внутри насадка.

И, скорее всего, в-четвертых, этот вихрь начинает пульсировать, изменяя как свои размеры, так и уровень давления внутри себя. А это означает, что по отношению к потоку

воздуха вдоль оси насадка, такой торовидный вакуумный вихрь играет роль своеобразного поршня, проталкивающего воздушный поток из левого сопла в правое. Т.е. создается своеобразная груша, перекачивающая воздух от левого отверстия насадка к правому.

Перечисленные факторы заставляют взглянуть на механизм прироста мощности в насадке Шестеренко с несколько иных позиций, чем это делалось раньше. Во-первых, вакуум не

создает никакой энергии. Вакуум создает (управляет) условия для появления дополнительной силы, которая формируется из-за разницы давления как между зоной вакуума и внешней воздушной средой, а также между воздушным потоком внутри насадка и зоной вакуума. А так как эжекция потока внутри насадка может создать очень глубокий вакуум вокруг себя, а также поддерживать его, то и силы, засасывающие воздух в насадок и прогоняющие его с входа на выход, могут достигать очень больших величин. Соотношение сечений в соплах Лаваля выбраны такими, что сопротивления для потока воздуха в насадке нет, а давление воздуха во входном сечении ниже давления при выходе, что заставляет воздух снаружи поступать в насадок только через левое сопло. Так как насадок после своего запуска постоянно создает неуравновешенность по давлению между окружающим воздухом и воздушным потоком внутри насадка, то возникают все условия для самоподдержания воздушного потока. И такой «вечный двигатель» работает не с нарушением ВНТ, а в полном соответствии с ним, так как часть «энергии», поступающей в виде потока воздуха (и тепла с ним), система (насадок) тратит на «собственные» нужды, как делается это на ГЭС или ТЭС. Проще говоря, поставщик энергии для этого процесса – это атмосфера, которая выступает в роли конденсатора энергии Солнца. А всякий знает, что бывает, когда попытаться дотронуться до выводов заряженного электрического конденсатора. Так и в атмосфере после создания своеобразного воздушного проводника возникают возможность частичной «разрядки» атмосферы через насадок Шестеренко.

Чтобы ни у кого не возникло сомнения в возможности использования статического давления атмосферы, рассмотрим такой пример.

Создадим колону из кирпичей, пусть в ней будет 100 кирпичей. Теперь ударим молотом по самому нижнему кирпичу так, чтобы он, выскочив из колоны, не развалил её. Это возможно, если удар будет резким, а из-за инерции остальные кирпичи данного удара даже не почувствуют. Какую силу надо для этого затратить? Так как одной поверхностью нижний кирпич опирается на землю, а на вторую давит второй кирпич, то без большой ошибки мы можем принять, что эта сила должны быть равна удвоенной силе трения. А сила трения в свою очередь равна силе тяжести 99 кирпичей на верхней плоскости последнего кирпича 100 – на нижней, умноженной на коэффициент трения скольжения. Возьмем по максимуму весь вес колоны. Коэффициент трения примем 0,15.

Удвоим его – получаем 0,3. Значит для того, чтобы столб кирпичей совершил работу равную произведению веса этого столба на высоту одного кирпича надо совершить работу,

равную удвоенной силы трения на длину кирпича. Если мы возьмем высоту кирпича большой, а длину маленькой, а также примем все меры по уменьшению коэффициента трения, то можно добиться того, что работа по выбиванию кирпича будет меньше той работы, которую будет выполнять столб из кирпичей, «проседая» на высоту одного кирпича. А если еще обеспечить за счет Природы возврат выбитого кирпича на самый верх столба из кирпичей, то можно получить устройство по энергогенерации. А казалось вначале, что из кирпичного столба нет никакой пользы, одни расходы.

Ну а теперь представим вместо столба кирпичей воздух или воду, у которых коэффициент трения между слоями очень малый, что молекулы воздуха или воды за счет свой

энергетической «заправки» от Солнца могут подняться на большую высоту, то получаем простой вывод. Чтобы заставить атмосферу работать, надо найти способ убирать у

поверхности земли порции воздуха (или порции воды на определенной глубине) с одновременным улавливанием падающего к Земле воздушного столба (потока воды), который будет нам казаться воздушным (водным) потоком в силу своей текучести. Но такой механизм будет работать только при наличии гравитации, а она у нас на Земле всегда под боком.

С другой стороны просматривается аналогия работы насадка Шестеренко с работой подводного гидротарана Марухина-Кутьенкова. Только в роли клапанов выступают узкие

сечения обоих сопел Лаваля, а в качестве аналога воздушного пузыря гидротарана выступает вакууммизированный торовидный пульсирующий вихрь, засасывающий воздушный поток через левое сопло и продавливающий воздушный поток в заданном направлении слева направо в правое сопло.

Используя несколько насадков, установленных последовательно друг за другом, можно получить на выходе такого каскадного усилителя мощности с последнего насадка

воздушный поток какой угодно мощности, энергию для работы которых и энергии воздушных потоков будет поставлять атмосфера с её безбрежными океанами энергии, а

поддерживать её напор будет Солнце, как источник света (тепла), и Земля, как источник гравитации, чем оно и занимается уже много миллиардов лет. Для запуска такой системы

достаточно будет просто дунуть в входное сопло первого самого маломощного насадка, как система сразу заработает и через несколько минут выйдет на мощности потока в несколько Мватт и более.

Никого ведь не удивляет способность вертикально поставленной трубы формировать и аккумулировать воздушные потоки вблизи поверхности Земли и направлять их

вверх, где установленная турбина и электрогенератор позволяют преобразовать «энергию» суммированного и разогнанного воздушного потока в живительный электрический ток.

Но там работают силы Архимеда и разность давления между основанием и верхом трубы. Вакуума значительного там нет. Поэтому и мощности там получить большие нельзя. Приходится строить трубы в несколько сот метров высоты.

А насадки Шестеренко позволяют за счет динамически сформированных торовидных вакуумных вихрей значительно уменьшить размеры энергогенерирующей установки.

К этим струйным технологиям тесно примыкают турбодетандерные технологии для «безтопливного» производства экологически чистой электроэнергии и холода в системах газоснабжения.

Например, предприятие из Калуги предлагает технологию применения детандер-генераторных установок (ДГУ). Технология актуальна в связи с активным ростом уровня газификации промышленных объектов и жилых районов, в том числе и труднодоступных, где доступ к источникам энергии ограничен рядом факторов.

Технология заключается в использовании потенциальной энергии сжатого природного газа, подаваемого из магистральных газопроводов различным категориям потребителей. Во всех схемах детандер-генераторных установок различного назначения перед подачей потребителям избыточное давление газа дросселируется в ДГ-агрегатах, включенных параллельно газоредуцирующим станциям и пунктам до уровня, требуемого потребителям. При этом потенциальная энергия сжатого газа используется для получения электроэнергии или привода какого-либо агрегата. С выхлопа детандера газ с заданным давлением поступает потребителю.

При использовании данной технологии газовое топливо не сжигается. Отсутствие выбросов загрязняющих окружающую среду. При определенных условиях есть возможность использования ДГУ в режимах попутного производства промышленного холода. Срок окупаемости 3-5 лет.

Эффективность использования газового топлива в 2-3 раза больше (в расчете на 1 кВт получаемой электрической мощности). Электрический к.п.д. детандер-генераторных электростанций в 2-3 раза больше, чем к.п.д. обычных паро- и газоэлектростанций.

Турбодетандерные установки помимо работы от сжатого газа могут частично энергию получать и от сжигания газа, что позволяет вдвое увеличить выход энергии. Но такой способ генерации энергии можно рекомендовать только в том случае, если выработанной при дросселировании газа энергии оказывается недостаточно, или имеет место избыток сдроселлированного газа, и есть потребность в электроэнергии.

На примере турбодетандерных установок можно уже говорить о реализации технологий, отраженных в изобретениях Шестеренко и Кондрашова, если не о полной, так о частичной. Есть определенные намётки по реализации идей Шестеренко и Кондрашова в когенерационных миниГЭС. Это уже заметный прогресс, но всё же полного отказа от углеводородного топлива.