Найти в Дзене
Старый радио любитель

Узелочки в копилку. УНЧ 1 Вт на LA4425. Применение.

Когда сделаешь какой-нибудь блочек. сразу хочется его куда нибудь пристороить, чтобы испытать "в деле". Вот и я прикинул, чтобы этакое рабочее сделать. И вспомнил о книгах, по которым учился сам учил ребят в кружке - о книгах Виктора Гавриловича Борисова: "Юный радиолюбитель", выдержавшей 7 изданий (!!!!) общим тиражом более 1 млн. экземпляров и другие, не менее популярные. У меня в радиокружке на видном месте лежала затертая ребятами книга Виктора Гавриловича "Кружок радиотехнического конструирования", которая вышла тоже очень немалым общим тиражом (два издания) 400 000 экземпляров. Там была схема очень простого приемника прямого усиления. Схема отличная и мне-то из нее нужен только УВЧ и детектор, но вот мотать колечко ... Я подумал: а не хватит ли мне только одного, первого каскада и детектор бы по схеме удвоения. На следующей странице книги как раз то, что надо. В целом получилось вот что: Маленький блочок ВЧ собрал на кусочке макетной платы. Кто-то скажет, что все это ......, вед

Когда сделаешь какой-нибудь блочек. сразу хочется его куда нибудь пристороить, чтобы испытать "в деле". Вот и я прикинул, чтобы этакое рабочее сделать. И вспомнил о книгах, по которым учился сам учил ребят в кружке - о книгах Виктора Гавриловича Борисова: "Юный радиолюбитель", выдержавшей 7 изданий (!!!!) общим тиражом более 1 млн. экземпляров и другие, не менее популярные.

У меня в радиокружке на видном месте лежала затертая ребятами книга Виктора Гавриловича "Кружок радиотехнического конструирования", которая вышла тоже очень немалым общим тиражом (два издания) 400 000 экземпляров.

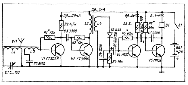
Рис. 1.  Из книги В.Г. Борисова "Кружок радиотехнического конструирования", издание 1
Рис. 1. Из книги В.Г. Борисова "Кружок радиотехнического конструирования", издание 1

Там была схема очень простого приемника прямого усиления.

Рис. 2.  Из книги В.Г. Борисова "Кружок радиотехнического конструирования", издание 1
Рис. 2. Из книги В.Г. Борисова "Кружок радиотехнического конструирования", издание 1

Схема отличная и мне-то из нее нужен только УВЧ и детектор, но вот мотать колечко ... Я подумал: а не хватит ли мне только одного, первого каскада и детектор бы по схеме удвоения. На следующей странице книги как раз то, что надо.

Рис. 3.  Из книги В.Г. Борисова "Кружок радиотехнического конструирования", издание 1
Рис. 3. Из книги В.Г. Борисова "Кружок радиотехнического конструирования", издание 1

В целом получилось вот что:

Рис. 4.
Рис. 4.

Маленький блочок ВЧ собрал на кусочке макетной платы.

Рис. 4..
Рис. 4..

Кто-то скажет, что все это ......, ведь радиостанций-то на СВ нет. Может кому и не повезло и эфир у них на СВ чист - тут уж ничего не поделаешь. Но в европейской части России станции есть, в том числе и на русском языке. И это при приеме на ферритовую антенну.

Вот и с этим простым приемником я принял на СВ штук пять станций, не считая приводных маяков. А не попробовать ли принять что-нибудь на КВ. Увы, просто на магнитную антенну принималась одна станция на пороге слышимости. Попробовал через виток связи подключить свой GP высотой 10 м. Вот тут все загремело. Решил подключить вместо GP Дельту на 21 МГц. Уровень сигнала упал, но после домотки еще одного витка связи он вернулся к значениям при использования GP.

Чтобы убедится, смотрите видео по этому поводу: "С ВЧ от В.Г. Борисовым на СВ и КВ"

Всем здоровья и успехов!