Найти в Дзене
DigiNews

Возможно, Pixel 11 Pro Fold получит более удобную конструкцию для замены аккумулятора.

Появляются первые детали о серии Google Pixel 11 в 2026 году. Согласно слухам, основанным на патенте, Google может сделать аккумулятор в складном Pixel 11 Pro Fold съемным, отказавшись от клея в пользу механического крепления, что значительно улучшит ремонтопригодность устройства. Поскольку наступил 2026 год, начинают появляться подробности о серии Pixel 11, и, похоже, одна из первых новостей касается Google Pixel 11 Pro Fold — речь идет о слухах, касающихся его аккумулятора. В частности, слух связан с патентом, который Google подала в Ведомство по патентам и товарным знакам США относительно определенных аспектов дизайна. Часть патента посвящена изменениям в конструкции батареи Pixel 11 Pro Fold, и, по слухам, это изменение может сделать устройство более ремонтопригодным в случае необходимости замены аккумулятора. Складные устройства, включая модели Google Pixel Fold, не входят в число наиболее ремонтопригодных гаджетов. Фактически, Pixel 10 Pro Fold может быть несколько менее удобным

Появляются первые детали о серии Google Pixel 11 в 2026 году. Согласно слухам, основанным на патенте, Google может сделать аккумулятор в складном Pixel 11 Pro Fold съемным, отказавшись от клея в пользу механического крепления, что значительно улучшит ремонтопригодность устройства.

Поскольку наступил 2026 год, начинают появляться подробности о серии Pixel 11, и, похоже, одна из первых новостей касается Google Pixel 11 Pro Fold — речь идет о слухах, касающихся его аккумулятора. В частности, слух связан с патентом, который Google подала в Ведомство по патентам и товарным знакам США относительно определенных аспектов дизайна. Часть патента посвящена изменениям в конструкции батареи Pixel 11 Pro Fold, и, по слухам, это изменение может сделать устройство более ремонтопригодным в случае необходимости замены аккумулятора.

Складные устройства, включая модели Google Pixel Fold, не входят в число наиболее ремонтопригодных гаджетов. Фактически, Pixel 10 Pro Fold может быть несколько менее удобным для пользователя с точки зрения самостоятельного ремонта. Кроме того, он не отличается особой прочностью. Например, аккумулятор приклеен. Это делает доступ к нему и его извлечение довольно сложной задачей, даже если у вас есть подходящие инструменты. Дизайнерские изменения Google для грядущей модели могут быть направлены на исправление этой ситуации.

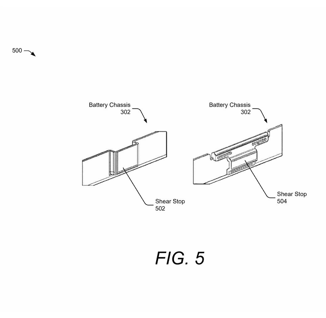
Слух: Аккумулятор Pixel 11 Pro Fold станет съемным

Согласно сообщению от Hypertxt и Дэвида из @xleaks 7, недавно поданный патент Google демонстрирует фрагменты внутреннего устройства телефона, включающие обновленный отсек для аккумулятора. Утверждается, что батарея будет поставляться без клея, что позволит извлекать ее, просто открутив несколько механических элементов, удерживающих ее на месте.

Патент описывает конструкцию, в которой аккумулятор «вставляется в формованный карман, при этом батарея удерживается механически». Корпус, в котором находится аккумулятор, также выполнен из металла для обеспечения заземления, а специальные упоры предотвращают смещение или перекос батареи. Указывается также, что в дизайне предусмотрено место для сохранения функции беспроводной зарядки. Таким образом, новый дизайн, по всей видимости, не заставит пользователей отказаться от этой возможности.

Стоит помнить, что поскольку это всего лишь патент, нет никакой гарантии, что он будет реализован в серийной версии телефона. Google может запатентовать этот дизайн, но так и не использовать его. Возможно, они протестируют его и в итоге решат, что он не подходит. На данный момент возможно всё. Тем не менее, это многообещающая перспектива, которая, безусловно, сделает устройство более дружественным к пользователю. Аккумуляторы, закрепленные клеем, — это антипотребительское решение. Так что будем надеяться, что Google сделает батарею легкосъемной.

Всегда имейте в виду, что редакции могут придерживаться предвзятых взглядов в освещении новостей.

Автор – Justin Diaz

Оригинал статьи