Найти в Дзене
4pda.to

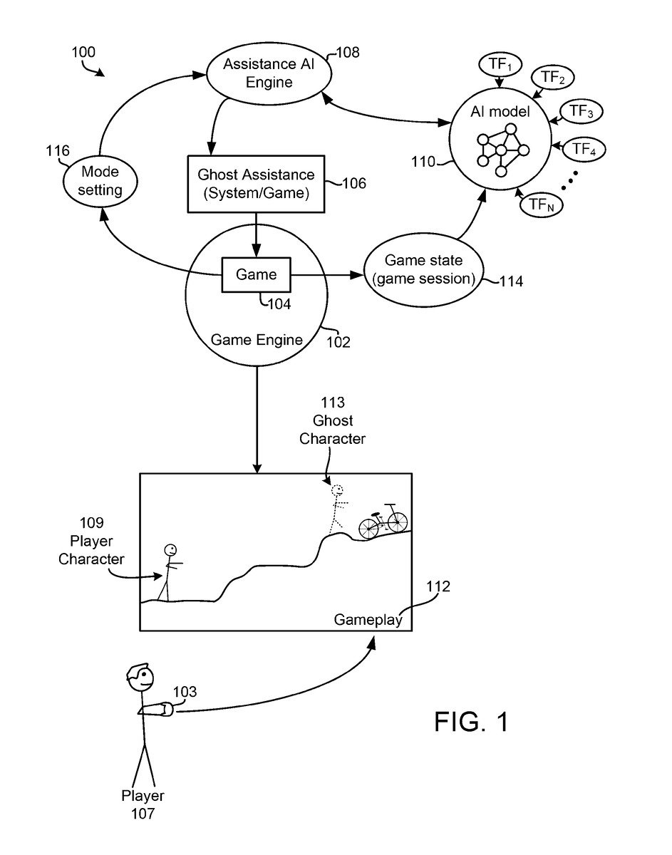
Прогресс. Sony запатентовала «AI-призрак» для прохождения сложных игр

Развлекательная индустрия вот уже который месяц активно занимается разработкой и развитием связанных с искусственным интеллектом технологий. Многие компании используют нейросеть для генерации ассетов и кода, т. е. оптимизации производства, однако Sony хочет большего — она жаждет упростить жизнь не только себе, но и геймерам. Интернет-пользователи обратили внимание на ещё один любопытный патент Sony Interactive Entertainment. Согласно зарегистрированному ещё в сентябре 2024 года документу, корпорация надеется добавить в свои тайтлы так называемого AI-призрака, который будет проходить за пользователя особо сложные моменты в видеоиграх (включая головоломки). Стоит отметить, что сотрудники SIE уже много лет генерируют подобные идеи. В 2024-м, например, они придумали AI-автопилот с очень похожим описанием (но без рендеринга прозрачных копий подконтрольных геймерам персонажей) и особый геймпад с кнопкой перемотки времени в духе некоторых эмуляторов. К сожалению, это вовсе не значит, что грёз
   Прогресс. Sony запатентовала «AI-призрак» для прохождения сложных игр
Прогресс. Sony запатентовала «AI-призрак» для прохождения сложных игр

Развлекательная индустрия вот уже который месяц активно занимается разработкой и развитием связанных с искусственным интеллектом технологий. Многие компании используют нейросеть для генерации ассетов и кода, т. е. оптимизации производства, однако Sony хочет большего — она жаждет упростить жизнь не только себе, но и геймерам.

Интернет-пользователи обратили внимание на ещё один любопытный патент Sony Interactive Entertainment. Согласно зарегистрированному ещё в сентябре 2024 года документу, корпорация надеется добавить в свои тайтлы так называемого AI-призрака, который будет проходить за пользователя особо сложные моменты в видеоиграх (включая головоломки).

Стоит отметить, что сотрудники SIE уже много лет генерируют подобные идеи. В 2024-м, например, они придумали AI-автопилот с очень похожим описанием (но без рендеринга прозрачных копий подконтрольных геймерам персонажей) и особый геймпад с кнопкой перемотки времени в духе некоторых эмуляторов. К сожалению, это вовсе не значит, что грёзы инженеров Sony когда-нибудь доберутся до магазинов — они, как правило, остаются на бумаге и дальше фазы концептуализации не идут.